Общие сведения. На тележках электропоездов ЭР2 и ЭР2Р применено двойное рессорное подвешивание, первая ступень которого, расположенная в буксовом узле, называется надбуксовым подвешиванием, а вторая, расположенная в центре тележки, — центральным подвешиванием. Обе ступени работают последовательно.
В рессорном подвешивании применены только цилиндрические пружины. Их изготовляют из стального прутка, который навивают на цилиндр диаметром, равным внутреннему размеру пружины. Для придания пружине необходимой упругости ее подвергают закалке.
Цилиндрические пружины применяют вместо листовых рессор. Последние обладают значительным внутренним трением между листами, поэтому при движении электропоезда возникают высокочастотные колебания, которые не гасятся листовыми рессорами. Эти колебания передаются вагону в виде шума, тряс-ски, вибрации. Цилиндрические же пружины, не имея внутреннего трения, обеспечивают вагону плавный и бесшумный ход. Рессоры должны быть прочными и обладать достаточной упругостью, т. е. способностью под воздействием усилия прогибаться, а по прекращении воздействия вновь принимать свою прежнюю форму.
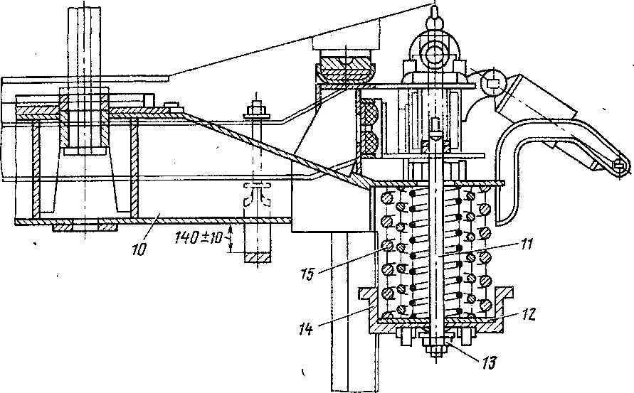
Центральное? подвешивание тележки моторного вагона электропоезда ЭР2.
Оно состоит из четырех подвесок 12 (рис. 23), верхние головки которых шар-нирно крепятся к продольным балкам рамы тележки и сверху закрыты колпачками 3. К нижним головкам подвесок с помощью валиков и четырех серег подвешен стальной литой поддон 7, на котором установлены два комплекта 6 двухрядных цилиндрических пружин. Каждый комплект состоит из наружной пружины диаметром 240 мм и внутренней диаметром 170 мм. На пружинные комплекты (по два с каждой стороны) устанавливают над рессорный брус 4 коробчатого сечения, сваренный из листовой стали. Этот брус относительно рамы тележки упруго фиксирован двумя поводками с резинометаллическими гасителями 2.
Каждая подвеска представляет собой кованый стержень с двумя головками. В отверстие верхней головки вставлены втулка валика, предохраняющая отверстие от износа, и валик, который опирается на вкладыш подвески. Подвеска проходит сквозь вертикальное отверстие- -в продольной балке, в которое вварена труба, имеющая упоры для вкладышей.- Допускается установка прокла-

дРаИСЭР23; ЦеНТралЬНОе "увешивание тележки моторного вагона электропоез-
^.^"Д^^ы'гте 25-Пш°=нВьЫас РП-омет.™,^ гаситель; ческих пружни; 7 - поддон Г- аОИН„ованн^ п««»„»^ЄЛЄМ: 6Гкокпле*т «илнндри-ка; /0 - скользун; И -^езинометаллический І™ Т Й уП°Р; Я ~ Рез1"«>вая проклад-гаситель; М - прокладка инометаллический упор; 12 _ подвеска; /3 - гидравлический

Рис. 24. Центральное подвешивание тележки моторного вагона электропоезда ЭР2Р:
/ — подвеска; 2 — колпачок; 3 — скользун; 4 — гидравлический гаситель; 5 — валик; 6 — надрес-сорный брус; 7 — резннометаллическнй элемент;
8 — поводковый резинометаллический гаситель;
9 — поддон; 10 — комплект цилиндрических пружин; // - серьга; 12 — предохранительный трос
док под вкладыши для регулировки высоты вагона. В нижней головке имеется цилиндрическое отверстие, в которое запрессована закаленная втулка. На каждом конце поддона также имеется по отверстию с запрессованными закаленными втулками. В эти отверстия вставлены валики, головки которых имеют прямоугольную форму. На одной из коротких граней головки валика сделана канавка, на которую опирается серьга, а на другой конец валика поддона или подвески надета опорная шайба, имеющая такую же канавку. Шайбу закрепляют на валике корончатой гайкой и шплинтом.
Кованые серьги имеют прямоугольную форму, короткие стороны их служат опорами верхних и нижних валиков. Чтобы поддон не упал на путь, предусмотрены предохранительные стальные тросы, которые прикреплены одним концом к проушинам коробок на продольных балках, а другим — к проушинам на поддоне. Надрессорный брус также имеет предохранительные устройства в виде скоб, которые крепят к приваренным кронштейнам поперечных балок рамы тележки. По концам надрессорного бруса вварены литые коробки с чашками для установки цилиндрических пружин.
Кузов вагона опирается на сколь-зуны 10, расположенные на литых опорах по концам надрессорного бруса. Скользуны изготовляют из древесно-
слоистого пластика и устанавливают на упругой резиновой прокладке 9. Это уменьшает боковую качку вагона и виляние тележки из-за дополнительного трения между скользунами кузова и тележки, повышая тем самым плавность хода. Нагрузка от веса кузова передается через надрессорный брус, комплекты цилиндрических пружин, поддон и подвески на раму тележки и далее через буксовый узел на ось колесной пары.
Для ограничения перемещения подвески при поперечных колебаниях, например при входе в кривую, стержни подвесок упираются в армированные резиновые упоры 8, установленные на продольных балках рамы тележки, а для смягчения возможных боковых ударов надрессорного бруса о продольную балку предусмотрены упоры 11, армированные стальной пластинкой. Такая конструкция подвески позволяет уменьшить силу ударов, передаваемых от ходовых частей на кузов вагона. Для гашения колебаний в центральном подвешивании применяют гидравлические гасители 13, установленные под углом 35° к горизонтали с таким расчетом, чтобы они поглощали частично и вертикальные колебания. Тяговые и тормозные усилия передаются кузову вагона через шкорень 5, имеющий резиновую втулку-амортизатор.

Рис. 25. Шкворневой узел тележки моторного вагона электропоезда

Поводки с резинометаллическими амортизаторами не только фиксируют над-рессорный брус относительно рамы тележки, но также передают тяговые и тормозные усилия кузову вагона. Одним концом их крепят к кронштейну, приваренному к продольной балке рамы тележки, а другим — к кронштейну надрес-сорного бруса. В узлах крепления между гайками и кронштейнами установлены резинометаллические элементы. Относительные перемещения надрессор-ного бруса вдоль оси кузова вагона ограничены возможностью деформаций амортизаторов поводков на 2—4 мм при передаче продольных усилий.
Центральное подвешивание тележки моторного вагона электропоезда ЭР2Р. Оно аналогично центральному подвешиванию тележки моторного вагона электропоезда ЭР2. Гидравлические гасители 4 (рис. 24) на данных тележках установлены под углом 50° к горизонтали.

Рис. 26. Центральное подвешивание тележек прицепных вагонов электропоездов ЭР2 и ЭР2Р:
/ подвеска; 2 предохранительная скоба; 3 -- скользун; 4 — резиновая шайба; 5 — гидравлический гаситель; в — поводковый резинометаллнческий гаситель; 7, 9, 13 — гайки-8 резинометаллнческий элемент; 10 — надрессорный брус; // — предохранительный стержень: 12 прокладка: 14 поддон; 15 комплект цилиндрических пружин
Шквсриевсе устрсйство моторного вагона. Оно служит для соединения кузова вагона с тележкой.
В шкворневую балку рамы кузова 7 (рис. 25)'вагона вварен пятник 6. В него запрессован шкворень 8 так, чтобы между верхней кромкой буртика шкворня и нижней частью пятника был зазор не менее 4 мм. Металлическую шайбу 5 и резиновую втулку 4, армированную стальной проволокой, надевают на шкворень и всю конструкцию пропускают через цилиндрическое отверстие в надрессорном брусе, в которое вварена труба.
Когда посадка вагона на скользуны будет закончена, на хвостовик шкворня, надевают упорную шайбу 13 и гайкой 3 подтягивают ее до упора, в результате чего резиновая втулка распирается и уплотняет отверстие в надрессорном брусе 12. Сверху и снизу на хвостовики шкворня, кроме гаек 3, 11, устанавливают контргайки 2, 10 и шплинты /, 9. Наличие шкворня с резиновой втулкой способствует гашению оставшихся колебаний после второй ступени рессорного подвешивания.
Центральное подвешивание тележек прицепных вагонов электропоездов
ЭР2 и ЭР2Р. Оно имеет конструкцию, сходную с конструкцией центрального подвешивания тележки моторного вагона электропоезда ЭР2, за исключением следующих особенностей:
шкворневое устройство выполнено полностью металлическим, кузов вагона опирается на надрессорный брус 10 (рис. 26) через скользуны .3*,
комплект 15 цилиндрических пружин состоит из трех пружин: наружной (диаметром 290 мм), средней (210 мм) н внутренней (140 мм). Высота пружин подобрана так, что при порожнем вагоне в работе участвуют только наружная и внутренняя пружины, а при полной загрузке вагона включается в работу и средняя пружина;
верхние головки подвесок / имеют также шарнирное крепление, но оно установлено сверху на продольной балке рамы тележки;
предохранительные устройства поддона 14 выполнены в виде двух стержней // (а не стальных тросов), верхние концы которых закреплены в продольных
балках рамы тележки, а нижние имеют шайбы и гайки для удержания поддона в случае падения;
кроме упоров, установленных на продольных балках рамы тележки и торцовой части надрессорного бруса, установлены еще боковые упоры (скользуны), расположенные на поперечных балках рамы тележки и боковой стороне надрессорного бруса. Служат они для ограничения перемещения надрессорного бруса в продольном направлении относительно оси тележки.
Шкворневое устройство на тележках состоит из пятникового устройства и шкворня (рис. 27). В свою очередь пятниковое устройство состоит из верхнего плоского пятника /, который крепят к шкворневой балке рамы кузова вагона, и нижнего подпятника 2, установленного иа надрессорном брусе. Вагон при помощи верхнего пятника входит в углубление нижнего подпятника и удерживается в таком положении шкворнем. Шкворень вставляют по окончании посадки вагона на скользуны.
Шкворень состоит из трех частей: двух полушкворней с буртиками и клина, раздвигающего и закрепляющего полушкворни таким образом, что они удерживаются в шкворневом гнезде с помощью буртиков. Плоские пятники просты в изготовлении, но требуют регулярний^смазки и тщательного ухода за ними.
Гидравлический гаситель.Он служит для поглощения колебаний надрессорного бруса центрального подвешивания относительно рамы тележки и представляет собой поршневой телескопический демпфер двустороннего действия с разгрузочными шариковыми клапанами.
Одним концом его крепят к кронштейну надрессорного бруса, другим — к кронштейну, приваренному к продольной балке рамы тележки. Крепление осуществляют двумя болтами, проходящими сквозь отверстия в головках гасителя. Для компенсации возможных перекосов, а также для гашения мелких колебаний во время движения в эти отверстия вставлены резиновые втулки, внутренние поверхности которых армированы стальными втулками.
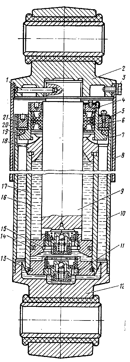
Гидравлический гаситель (рис. 28) имеет цилиндрическую форму и состоит из двух основных частей, перемещающихся относительно друг друга в осевом направлении. В нижнюю часть входят рабочий цилиндр 17 и запасный резервуар 10, вверху находятся сальник 6 и головка рабочего цилиндра 18, служащая для направления штока 9 поршня, а внизу — клапанное устройство, служащее одновременно дном рабочего цилиндра и аналогичное по конструкции клапанному устройству поршня.
Верхняя часть гидравлического гасителя состоит из штока с поршнем и наружного кожуха 8, закрывающего гаситель от проникновения пыли и влаги. В штоке над поршнем имеются два щелевых канала, сообщающихся с верхним двойным клапаном, который состоит из шарикового клапана, расположенного в центре и прижатого пружиной к отверстию диаметром 4 мм, и внешнего пластинчатого клапана, состоящего из кольца, прижимаемого пружиной к корпусу клапана, на поверхности которого проточена канавка с шестью расположенными по окружности сквозными отверстиями диаметром 2 мм. Клапан закреплен в своем гнезде стопорным кольцом 15.
Принцип работы гидравлического гасителя основан на перетекании вязкой жидкости из одной полости в другую под воздействием поршня с калиброванными отверстиями. Когда поршень идет вверх, жидкость в надпоршневой полости рабочего цилиндра сжимается, а в подпоршневой полости создается разрежение, и через два

Рнс. 27. Пятниковое устройство прицепного вагона:
/ верхний пятник: '2 — нижний подпятник; и - контролируемый размер
Рис. 28. Гидравлический гаситель: / ■- штифт; 2 — верхняя головка; 3 — стопорный винт; 4 — гайка сальника; 5 — стопорная планка; 6 — сальник; 7 — корпус сальника; 8 — защитный кожух; 9 — шток; 10 — запасный резервуар; //— нижний клапан; 12 — нижняя головка; 13 — резиновое кольцо; 14 — поршневое кольцо; 15 — стопорное кольцо; 16 — приборное масло; 17 — рабочий цилиндр: 18 — головка рабочего цилиндра; 19 — резиновое кольцо: 20 металлическое кольцо; 21 -гайка
щелевых канала жидкость перемещается в полость под поршнем. Одновременно туда же перетекает жидкость и из запасного резервуара через ряд отверстий в корпусе нижнего клапана. Жидкость под высоким давлением при относительно плавном ходе поршня вверх находится только над поршнем. При резком ходе штока вверх (или при загустевай и и жидкости) давление в полости над поршнем резко повышается, так как жидкость не успевает переместиться через щелевые каналы клапана. Когда давление станет равным (4,5+0,5) МП а |(45±5) кгс/см2)1, вступает в работу шариковый перепускной клапан поршня.
Когда поршень идет вниз, жидкость в полости под поршнем сжимается, открываются отверстия в корпусе клапана, через которые жидкость из подпоршневой камеры перетекает в полость над поршнем и в то же время через два щелевых канала нижнего клапана перемещается в запасный резервуар.
При резком ходе поршня вниз давление в подпоршневой камере резко повышается, и, когда оно достигает (4,5+0,5) МПа, начинает работать шариковый перепускной клапан нижнего клапанного устройства.
При прохождении жидкости через каналы возникает вязкостное трение, в результате чего происходит превращение механической энергии колебательного движения вагона в тепловую и последующее ее рассеяние в рабочей жидкости.
Таким образом, жидкость гасителя не оказывает большого сопротивления при медленных перемещениях штока поршня в обоих направлениях и оказывает большое сопротивление при быстрых перемещениях штока; этим достигается гашение вибраций рессор центрального подвешивания.
О работоспособности гидравлического гасителя судят по рабочей диаграмме. Усилие иа штоке, замеренное по диаграмме, должно быть при ходе поршня З^^оі^^Д5»00^^0 Н (550->§° кгс)' а ПРИ хОДе вниз (сжатие)
Технические данные гидравлического гасителя
Диаметр, мм:
поршня......... _ 68 -
штока.........! ! " 48
кожуха.......120 %

Ход поршня, мм.......... 190
Длина гасителя по осям отверстии в головках при
полном сжатии, мм..... . . . 360
Рабочая жидкость.........0,9 л приборного
масла МВП
Рабочую диаграмму записывают на стенде на специальном бланке после изготовления гасителя или при его ревизии.
|
|