I
На электропоезде ЭР200 установлен высоковольтный быстродей-Для бестокового переключения силовых цепей и цепей управле- етвУ<Щ"й выключатель 1ВВ-001, который защищает силовую цепь с тягового режима на тормозной и обратно использован тор- ПРИ К0Р°™'Х замыканиях и перегрузках. По принципу действия
и конструктивному исполнению он не имеет существенных особенностей в сравнении с выключателями пригородных электропоездов постоянного тока.
Основные технические показатели 1ВВ-001:
ния
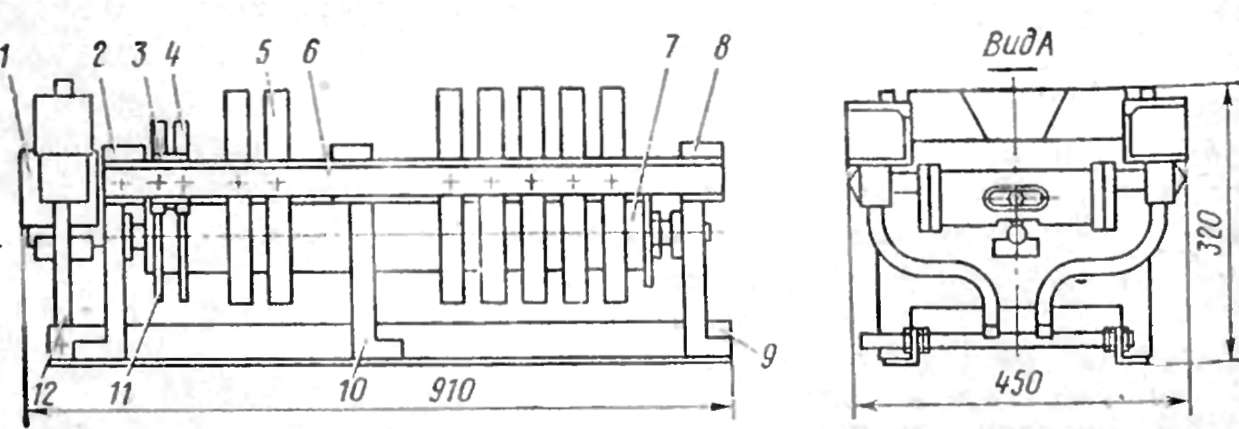
мозной переключатель 1П.002 (рнс. 44), а для переключения обмоток возбуждения тяговых двигателей с целью изменения направления движения электропоезда — реверсивный переключатель 1П.003. Оба переключателя имеют одинаковый пневматический привод с электропневматическнмн вентилями ВВ-2Г-2 и ряд общих конструктивных узлов: кулачковый вал с кулачковыми шайбами, силовые контакторы КР-6Л-1, контакторы управления КЭ-42. Переключатели имеют два рабочих положения, соответствующие одному из двух положений поршня пневматического привода.
Тормозной переключатель имеет 14 кулачковых контакторов силовой цепи, а реверсивный переключатель 8 кулачковых контакторов силовой цепи. Оба переключателя имеют по два контактора цепи управления.
Основные технические данные переключателей следующие:
Номинальное напряжение силовой цепи...... 3000 В
» » цепи управления..... 110 В
Угол поворота кулачкового вала с одной позиции на
другую . ."............. 45°

Поминальное напряжение .......... 3000 В
Напряжение цепи управления......... ПО »
Номинальный продолжительный ток...... 250 А
Ток срабатывания при питании удерживающей катушки напряжением 110±5 В....... 1100±90 А
Номинальный ток вспомогательных цепей (блокировочных контактов)............ 6 А
Ток удерживающей катушки:
удержания при включении, не более..... 0,2 »
отпадания, не более........... 0,14 >
Поминальное избыточное давление воздуха в приводе 0,5 МПа Собственное время размыкания при скорости нарастания тока в главной цепи 400 кА/с..... 0,005 с
Отключаемый ток контактов главной цепи:
предельный при скорости нарастания тока не более 400 к А/с.............. 20 к А
критический.............. 25 »
Максимальный ток в д>ге при скорости нарастания
тока не более 400 кА/с.......... 3500 Л
Сопротивление удерживающей катушки при +20° С Н>1 ±|г* Ом Габариты:
длина............... 1230 мм
ширина............... 096 »
высота............... 740 »
Масса аппарата.............. 300 кг
|
|