В случае плавного регулирования напряжения на э. п. с. переменного тока с двигателями пульсирующего тока от-
падает необходимость в переходных реакторах или резисторах, появляется возможность существенно упростить контактную переключающую аппаратуру и даже полностью отказаться от нее (при бесконтактном регулировании напряжения). Кроме того, легче осуществить инвертирование тока и рекуперацию энергии при электрическом торможении; улучшаются пусковые характеристики и обеспечивается наиболее полное использование максимальной силы тяги по сцеплению. Это особенно существенно для мощных грузовых электровозов переменного тока, которые имеют очень высокое значение коэффициентов тяги в часовом и длительном режимах. Вес поезда для них, как правило, ограничивается не нагреванием обмоток двигателя, а условиями сцепления. Плавное регулирование напряжения для таких электровозов стало осуществимым лишь после освоения промышленного изготовления тиристоров. Все другие способы плавного регулирования с использованием коллекторных регуляторов, ртутных вентилей, трансформаторов с плавным регулированием, магнитных усилителей и др. для электровозов не могли дать удовлетворительных решений. Поэтому рассмотрим только примеры плавного регулирования напряжения с помощью тиристоров.
Различают плавное межступенчатое регулирование напряжения с вентильным переходом и бесконтактное регулирование. Первый способ регулирования был применен на опытных электровозах ВЛ60ку, второй получил широкое распространение на электровозах ВЛ80Р, ВЛ85 и др.
Применяют также мосты с разным выпрямленным напряжением; при этом два моста позволяют получить трехступенчатое регулирование, а три с соотношением напряжения 1:1:2 — четырехступенчатое. Представляет интерес схема с соотношением напряжений мостов 1:2:3, которая дает шесть ступеней, при соотношении 1:2:4 можно получить семь ступеней.
Если на электровозах применяют преобразователи, выполненные только на тиристорах, бесконтактная система управления силовыми цепями резко упро-
щается, так как при этом нет необходимости в переключателях ступеней, контакторах и переходных реакторах. Плавное регулирование осуществляют как в тяговом, так и в тормозном режиме.
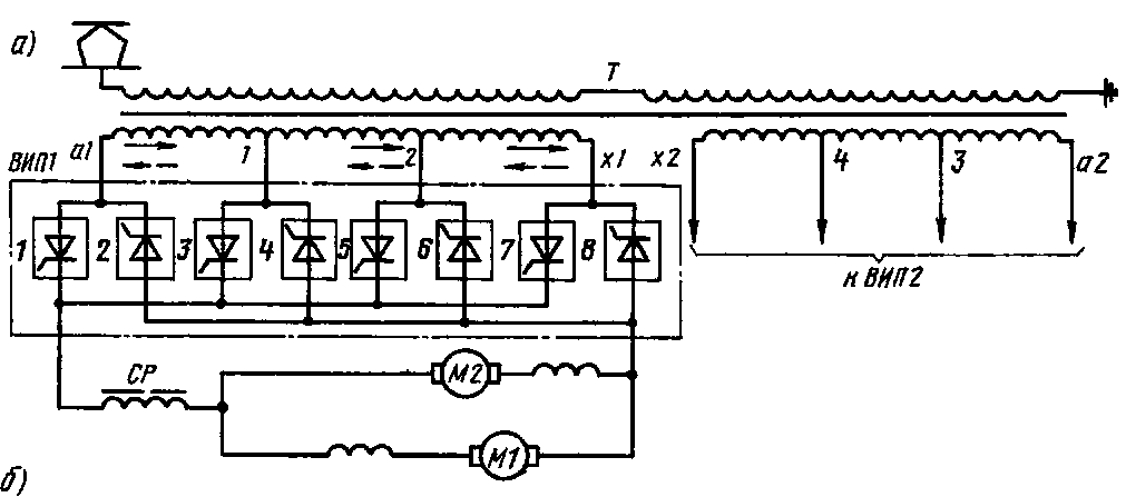
В качестве примера рассмотрим действие цепей на электровозе ВЛ80Р (рис. 243, а). Трансформатор Г имеет две секционированные части вторичной обмотки, каждая из которых разделена на три секции с напряжением 300, 300 и 600 В. К секционированным частям подключены выпрямительно-инверторные преобразователи ВИП1 и ВИП2. Тяговые двигатели подключены к соответствующим ВИП через сглаживающие реакторы СР.
Схему ВИП можно представить как три параллельно соединенные однофазные мостовые схемы с совмещенными смежными плечами (/—4, 3—6, 5—8). Для восьмиплечей схемы ВИП действительны все соотношения обычной однофазной мостовой схемы. От вторичных обмоток тягового трансформатора на ВИП подается переменное синусоидальное напряжение с частотой 50 Гц. В каждый полупериод напряжения трансформатора, имеющий длительность 0,01 с и составляющий 180°, работают два плеча моста (рис. 243, б).
Для открытия тиристоров плеч блок управления выпрямительно-инверторным преобразователем (БУВИП) в каждый полупериод вырабатывает импульсы, регулируемые по фазе ар и нулевые сю. Импульсы подаются всегда в начале полупериода с углом ар=8ч-10°. Отсчет угла импульсов производят от момента равенства нулю питающего напряжения трансформатора в начале полупериода. Импульсы в начале зоны регулирования имеют угол около 160° (ctpmax), а в конце — на низких зонах регулирования и при малой нагрузке—18—20° (apmin), на высоких зонах регулирования и при большой нагрузке 30—40°.
Пуск электровоза начинается с зоны / Перемешая штурвал контроллера машиниста (КМЭ) из положения ПО (подготовка к работе цепей управления ВИП) в положение HP (начало регулирования), машинист создает условия для подачи импульсов управления на тиристоры плеч 3—6 При этом в один полупериод напряжения трансформатора (сплошные


Рис. 243. Упрощенная схема межступенчатого плавного регулирования напряжения на электровозе ВЛ80Р (а) и алгоритм ее работы (б)
стрелки на рис. 243, а) на плечо 4 подаются импульсы управления с углом Иртах (точка б на рис. 244, д), на плечо 5 — импульсы с од (точка а) и артах (точка б). В следующий полупериод (штриховые стрелки на рис. 243, а) на плечо 3 подаются импульсы с углом сю (точка в на рис. 244,5), на плечо 6"—импульсы с артах (точка г). Одновременная подача импульсов с углом Ортах на тиристоры плеч 4 и 5 (точка б) приводит к открытию этих тиристоров, что вызывает протекание тока через тяговые двигатели по контуру, показанному на рис. 244, а жирными линиями.
После изменения полярности напряжения трансформаторов в момент, отмеченный точкой в (см. рис. 244,5), открываются тиристоры плеча 3 и закрываются тиристоры плеча 5 (рис. 244, б, г). Это приводит к созданию так называемого нулевого контура, в котором цепь тока тяговых двигателей М1 и М2 замыкается через плечи 3,4 в обход секций /—2 (см. рис. 244, а) трансформатора под дейст-
вием электромагнитной энергии, запасенной в сглаживающем реакторе СР. Этому нулевому контуру соответствует участок в—г на рис. 244, б, при этом выпрямленное напряжение иа1 равно нулю. В этот же полупериод в точке г открываются тиристоры плеча 6 импульсом с углом артах, а тиристоры плеча 4 закрываются. В результате создается контур через плечи 3 и 6" (рис. 244, в). Этому контуру соответствует участок г—а на рис. 244, д.
После очередного изменения полярности напряжения секции /—2 в точке а открываются тиристоры шгеча 5 (см. рис. 244, г) и закрываются тиристоры плеча 3. Это приводит к созданию другого нулевого контура, в котором цепь тока тяговых двигателей замыкается через тиристоры плеч 5 и 6" (в обход секции /—2 трансформатора) под действием электромагнитной энергии, запасенной в сглаживающем реакторе. На участке а—б (см. рис. 244, д) выпрямленное напряжение иа1 при этом также равно нулю. В точке б снова образуется нулевой

контур (см. рис. 244, е). Дальше процесс протекания тока через тяговые двигатели на зоне / регулирования повторяется. В каждый полупериод напряжения трансформатора возникают два контура для тока, один из них нулевой, при котором ий1 = 0; в течение времени существования другого контура (полезного) выпрямленное напряжение имеет определенное положительное значение и приложено к тяговым двигателям. Если в начале зоны / длительность протекания тока по нулевым контурам значительно превосходит длительность существования полезных контуров (см. рис. 244, д), то в конце ее большую часть полупериода ток нагрузки протекает по полезным контурам (см. рис. 244, е). В итоге регулирования в зоне / выпрямленное напряжение изменяется от нуля до '/4 номинального значения.
Особенностью алгоритма зоны / регулирования является подача двух импульсов с углами сю и ар на плечо 5 (см. рис. 244, а—з) в один полупериод. Это необходимо для того, чтобы при работе на нагрузку с большой индуктивностью создавать контур для тока через плечи 4 и 5, что позволяет запасти электромагнитную энергию в сглаживающем реакторе и обеспечивает ток через плечо 3 в следующий полупериод до момента открытия тиристоров плеча 6".
В положении П1 штурвала КМЭ авто-
матически происходит переход на зону // регулирования, на которой работают уже два однофазных моста: малый (плечи 3—6) и большой (плечи 1, 2, 5 и 6). В начале этой зоны на малый мост должны подаваться импульсы управления в начале полупериода, чтобы их тиристоры были открыты большую часть полупериода. Напряжение секции /—2 трансформатора в течение этой части полупериода прикладывается к тяговым двигателям. В конце каждого полупериода должен работать большой мост, на который подается суммарное напряжение секций а1—/ и 1—2.
Предположим в полупериод, отмеченный на рис. 244, ж сплошной стрелкой, ток проводят тиристоры плеч 4 к 5. В точке г (рис. 244, з) при той же полярности напряжения на тиристоры плеча 2 подаются импульсы с углом ар, что приводит к образованию коммутирующего контура, в котором под действием напряжения секции а1—/ трансформатора закрываются тиристоры плеча 4 и берут на себя ток нагрузки 1а тиристоры плеча 2. Данный контур коммутации называют малым, он обычно существует непродолжительно, так как индуктивность секции трансформатора незначительна. Коммутацию такого типа называют фазовой, она начинается всегда в момент подачи импульсов с углом Ор. После фазовой коммутации до конца этого полупериода
ток нагрузки 1й проводят тиристоры плеч 2 и 5, т. е. большого моста. Этот момент соответствует участку г—д на рис. 244, з.
После изменения полярности напряжения в точке д (см. рис. 244, з) на тиристоры плеча 6 подаются импульсы с углом а,,, в результате чего образуется большой коммутирующий контур, в котором под действием суммарного напряжения секций /—2 и а/—/ тягового трансформатора закрываются тиристоры плеча 2 и открываются тиристоры плеча 6. В течение времени существования большого коммутирующего контура (см. участок д—е на рис. 244, ж) выпрямленное напряжение иап равно нулю. После окончания коммутации в этом контуре на тиристоры плеча 3 подаются импульсы, задержанные по фазе а0, и образуется малый коммутирующий контур, в котором под действием напряжения секции / (см. рис. 244, е) закрываются тиристоры плеча 5 и открываются тиристоры плеча 3. Этот контур коммутации соответствует участку е—ж на рис. 243, ж. Коммутацию, начинающуюся в результате подачи импульсов управления (с углами а0 и ао3, см. рис. 243,6) в начале полупериода непосредственно после изменения полярности напряжения, называют сетевой, или основной. Она состоит из двух частей: коммутации в большом контуре и коммутации в малом контуре. В кривой выпрямленного напряжения эта коммутация соответствует участку д—ж. После окончания сетевой коммутации в этот полупериод ток нагрузки проводят тиристоры плеч 3 и 6 (см. участок д—з на рис. 244, е).
В точке з (см. рис. 244, з) на тиристоры плеча / подаются импульсы с углом ар, после чего начинается фазовая коммутация в этот полупериод, в результате которой закрываются тиристоры плеча 3 и открываются тиристоры плеча /. После окончания фазовой коммутации ток нагрузки проводят тиристоры плеч 1 а 6 большого моста.
При последующем изменении полярности в точке а (см. рис. .244, з) на тиристоры плеча 5 подаются импульсы с углом а0, а в точке б на тиристоры плеча 4 — импульсы с углом а0з (см рис 244, б), что вызывает начало сетевой коммутации в этот полуперйод. После ее окончания
ток нагрузки Id протекает через тиристоры плеч 4 и 5; затем процесс включения и выключения плеч ВИП повторяется.
На участках сетевой коммутации в точках б и е (см. рис. 244, ж) возникают кратковременные всплески напряжения, которые объясняются тем, что после завершения коммутации в большом контуре начинается рост напряжения на нагрузке, но он прерывается началом коммутации в малом контуре после подачи импульсов с углом а0з
При повороте штурвала КМЭ от положения П1 к середине зоны регулирования и дальше к положению П2 импульсы с углом ар смещаются от конца полупериода к его середине, а затем к началу. Напряжение udII в положении штурвала КМЭ, близком к концу зоны //, имеет форму, показанную на рис. 244, з. Смещение импульсов с углом Ор к началу полупериода приводит к сокращению длительности работы малого моста и соответствующему увеличению продолжительности работы большого моста, на который подано суммарное напряжение секций al—/ и 1—2 трансформатора. В результате регулирования в зоне // напряжение ud„ возрастает от '/4 Д° '/г н0" минального значения.
Переход в зону /// регулирования происходит, когда штурвал находится в положении П2, и осуществляется путем автоматической мгновенной замены двух секций al—/ и /—2 трансформатора секцией 2—xl.
Предположим, что работает контур из плеч / и 6 (см. рис. 244, в). После изменения полярности напряжения в начале следующего полупериода вместо подачи импульсов на тиристоры плеч 5 и 4 выдаются импульсы на тиристоры плеч 6" и 7 Возникает контур коммутации, в котором тиристоры плеча / закрываются, а тиристоры плеча 7 открываются. Тиристоры плеча 6 проводили ток в предыдущий полупериод, поэтому второго контура коммутации не возникает. После окончания этой коммутации ток нагрузки проводят тиристоры плеч 6 и 7. В следующий полупериод уже открываются тиристоры плеч 5 к 8. Таким образом осуществляется замена секций al—/ и 1—2 секцией 2—xl в один полупериод напряжения тягового трансформатора Если в
конце зоны // работают тиристоры плеч 2 и 5, то в следующий полупериод выдаются импульсы на тиристоры плеч 5 к 8. При этом секции а!—/ и /—2 трансформатора снова заменяются секцией 2—х1.
При дальнейшем перемещении штурвала КМЭ за положение П2 процесс переключения плеч ВИП носит такой же характер, как и в зоне //. При этом на тиристоры плеч 7, 8 (см. рис. 243, а и б) выдаются импульсы ап, на тиристоры плеч 5 и 6 — импульсы Ооз, а на тиристоры плеч 3 и 4 — импульсы ар (рис; 244, и). К концу зоны III длительность работы малого моста (плечи 5—8) уменьшается, а большого (плечи 3, 4, 7 и 8) соответственно увеличивается. В результате выпрямленное напряжение иШ1 увеличивается от '/г до 3Д номинального значения.
В положении ПЗ штурвала КМЭ происходит переход на зону IV регулирования. Переключение плеч ВИП в этой зоне носит тот же характер, что и в зоне //. На тиристоры плеч 7, 8 подаются импульсы а0, на тиристоры плеч 3, 4 — импульсы Ооз, а на тиристоры плеч 1,2 — импульсы ар. К концу зоны IV длительность работы малого моста (плечи 3,4,7 л 8) уменьшается, а большого (плечи 1,2,7 п 8) соответственно увеличивается. В итоге выпрямленное напряжение ий1у увеличивается от 3/4 до номинального значения.
Для электровоза ВЛ85 принята схема силовых цепей тиристорного преобразователя по типу электровоза ВЛ80Р. В преобразователе применены тиристоры 28— 32-го классов на ток более 500 А.
|
|