Магнитопровод. По магнитопроводу замыкается переменный магнитный поток трансформатора, пронизывающий его обмотки. Магнитопровод каждого тяго-
вого трансформатора состоит из активной части, по которой замыкается основная часть магнитного потока, и вспомогательных неактивных частей — балок, стяжных шпилек, изоляционных деталей. В активной части магнитопро-вода имеются стержни, на которых устанавливают и закрепляют обмотки, и ярма, служащие для образования замкнутого магнитного контура, на которых обычно обмотки не устанавливают.
По способу сборки магнитопроводы разделяют на шихтованные, собираемые из отдельных листов впереплет, и шихтованные стыковые, собираемые из отдельных скрепленных блоков впритык. Шихтованные магнитопроводы, собранные впереплет, получили широкое распространение как более надежные в эксплуатации, удобные в производстве, требующие менее сложного оборудования и приспособлений для сборки. Кроме того, большое число стыков приводит к неточности и нестабильности характеристик.
Тяговые трансформаторы с магнито-проводом стержневого типа выполняют с вертикальным и горизонтальным расположением стержней. При горизонтальном расположении стержней значительно снижаются высота центра тяжести над плоскостью закрепления и моменты, вызываемые действием горизонтальных динамических сил. Эти моменты особенно сильно влияют на конструкцию узлов стержней магнитопровода и могут нарушить плотность скрепления частей магнитной системы. Однако трансформаторы с горизонтальным расположением стержней удается выполнить только сравнительно небольших мощностей из-за ограничения по ширине. Обычно двух-стержневые тяговые трансформаторы
для электровозов выполняют с вертикальным (рис. ПО), а для моторных вагонов с горизонтальным расположением стержней.
Активную часть магнитопровода набирают из листов толщиной 0,35—0,5 мм холоднокатаной электротехнической стали Э310, Э320 и ЭЗЗО, имеющей существенные преимущества перед горячекатаной. Так, магнитная индукция в сердечнике составляет 1,65—1,7 Тл против 1,4— 1,5 Тл. Удельные потери мощности (на 1 кг массы) также значительно меньше у холоднокатаной стали. В результате уменьшается масса активных материалов и снижаются потери энергии. В СССР и за рубежом магнитопроводы трансформаторов изготовляют только из холоднокатаной стали. Для уменьшения потерь на вихревые токи листы трансформаторной стали на отечественных тяговых трансформаторах изолируют лаком № 302 и затем запекают в газовой печи при температуре 400—500 °С. Полученная в результате запекания лаковая пленка обладает высокой механической прочностью и влагостойкостью.
За рубежом довольно широко применяют электротехническую сталь с жаростойкой анорганической изоляцией — карлитом. Такую сталь после механической обработки можно отжигать (без
повреждения изоляции) и тем самым восстанавливать ее магнитные свойства, которые ухудшаются при резке и штамповке, а также при зачистке заусенцев.
Обмотки трансформаторов в целях повышения их надежности выполняют преимущественно круглыми, а стержни для лучшего использования их сечения — ступенчатыми (см. разрез Б — £ на рис. 110). Отношение площади сечения стержня к площади окружности, описанной вокруг него, называют коэффициентом использования сечения кИ.
Размеры активной части магнитопровода выбирают иа основе имеющегося опыта конструирования трансформаторов Ориентировочно для двухстержневого магнитопровода


где Ян — номинальная мощность трансформатора, кВ-А, кн — отношение веса стали к весу меди, равное примерно 0,9—1,3, /' — средняя плотность тока в обмотках трансформатора с масляным охлаждением / = 2,5ч--т-4,8 А/мм2; ^с — частота сети; В — расчетная индукция в стержне, равная 1,5—1,55 Тл; ы„ = 4,44 В — напряжение на один виток обмотки стержня; к3 — коэффициент заполнения
Рис 110. Магнитопровод тягового трансформатора ОЦР-5600/25 электровозов ВЛ60 . / — стержень, 2 — ярновая балка, 3 — стяжная шпилька, 4 — ярмо, 5 — основание; 6 — бакелитовая трубка
сердечника сталью, равный 0,94—0,98; ки — коэффициент использования сечения стержня, равный 0,9—0,93.
Размеры стержней обычно нормализованы. Собранный магнитопровод опрес-совывают стальными шпильками и ярмо-выми балками. Шпильки изолируют от активной стали бакелитовыми трубками.
Обмотки. По результатам расчета системы выпрямления и регулирования напряжения определяют напряжение и ток для отдельных обмоток трансформатора, необходимое число их витков, рассчитывают параметры обмоток с учетом повышенных требований по электрической и механической прочности, термической стойкости. Изоляция обмоток и других частей трансформатора должна выдерживать коммутационные и атмосферные перенапряжения, возникающие в контактной сети. Механическую прочность обмоток устанавливают такой, при которой не происходит их деформаций и повреждений при токах короткого замыкания, когда возникающие силы превосходят во много раз номинальные значения. Высокая температура не должна приводить к разрушению изоляции обмоток и быстрому старению трансформаторного масла. С другой стороны, желательно, чтобы обмотки были просты по конструкции и технологичны в изготовлении.
В тяговом трансформаторе в зависимости от схемы электровоза, способа регулирования напряжения, типа магни-топровода и других факторов применяют обмотки различных типов. Основным элементом- всех обмоток является виток. В зависимости от тока виток может быть выполнен из одного или нескольких параллельных проводников. Витки группируют в катушки. Катушкой называют группу последовательно соединенных витков обмотки, конструктивно объединенных и отделенных от других таких же групп или от других обмоток трансформатора. Число витков в катушке может быть целым и дробным, но во всех случаях больше единицы. По форме катушки могут иметь вид диска или цилиндра.
Каждая обмотка может состоять из одного слоя витков или ряда слоев. Число витков обмотки ш = и./и,, где и. —
расчетное напряжение обмотки Число витков основной нерегулируемой ш0 и регулируемой шрг обмоток (см. рис. 108, а) выбирают таким, чтобы напряжение при согласном включении обмоток ветви было примерно равно заданному напряжению холостого хода, т. е. 11%х — = и, (ш»0 -4- шрг). Напряжение каждой ступени регулируемой обмотки ист = — и„шрг/тст; число ступеней тст и напряжение первой ступени и„ = и„ (ш»0— —шрг) должны соответствовать заданным значениям.
Площадь сечения проводника определяют по заданной плотности тока и току обмотки, однако для удобства намотки отношение размеров сторон проводников обычно принимают не более чем 1 : 2. Ток в обмотке высшего напряжения /вн = Р/ив„. Здесь Р представляет собой сумму мощности трансформатора, равной произведению тока / тяговых двигателей на напряжение холостого хода ихх одной ветви трансформатора, и мощности вспомогательных нагрузок 2 Рс„, т. е. Р = Ш^ + Л Рся При схеме выпрямления с нулевым выводом /рг = /0 яг ~ /2 = //У2; при мостовой схеме выпрямления /2 = /.
Реактивное сопротивление трансформатора в основном зависит от расположения обмоток.
Для концентрических катушек стержневых трансформаторов вначале определяют реактивное сопротивление (в % для каждой пары) обмоток по формуле
24,8гг 2 £>Я • 10-"
е*=-ы,-е-
где 5 = — м. д. с , приходящаяся на стержень; 2£>/? — суммарное потокосцеплеиие катушек; / — длина пути потока, соответствующая средней высоте обмотки меди, см; о — коэффициент Роговского, учитывающий отклонения реального потока рассеяния от идеального, зависит от отношения высоты обмотки к размеру канала рассеяния.
По реактансу и активной составляющей напряжения короткого замыкания по ступеням еа определяют напряжение короткого замыкания трансформатора, %:
иы = А2 + «г.
где еа = ЯкЛо'рг + щ)/(10Ри>„) (здесь Якз— потери при коротком замыкании, В-А, даст — число витков регулируемой обмотки данной ступени).

Рис 111 Обмотки отечественных тяговых трансформаторов
Важным эксплуатационным показателем для трансформатора является напряжение короткого замыкания, так как от этой величины зависит ток короткого замыкания: /1кз = /ном ■ Ю0/С/кз. У тяговых трансформаторов напряжение £/кз различно для каждой ступени. Например, у трансформатора ОЦР-5000/25В на ступенях 1, 17, 21, 25 и 33-й напряжение икз соответственно равно 259; 11,1, 9,0, 8,8 и 10,6%.
Для обеспечения требуемой электрической прочности обмотки между ее витками, катушками, а также между обмоткой и другими частями трансформатора делают изоляционные промежутки, размеры которых зависят от рабочего напряжения
В качестве обмоточного материала для отечественных трансформаторов применяют медный провод прямоугольного сечения, изолированный несколькими слоями кабельной бумаги и одним слоем несплошной оплетки из хлопчатобумажной пряжи марки ПББО. Толщина изоляции 0,45—0,55 мм на обе стороны, а у входных катушек обмотки высшего напряжения ее доводят до 1,35 мм на две стороны.
Обмотки от сердечника, а также обмотки, расположенные концентрично, друг
от друга изолируют в тяговых трансформаторах бакелитовыми цилиндрами. Цилиндры по высоте делают на 35—40 мм больше обмотки, чтобы удлинить возможный путь электрического разряда по поверхности между обмотками Для образования в обмотках, а также между ними и изоляционными цилиндрами осевых каналов (для охлаждения обмоток маслом) применяют рейки, склеенные бакелитовым лаком из полос электротехнического картона На тяговых трансформаторах применяют непрерывные и винтовые обмотки.
Непрерывную обмотку применяют в цепях высшего напряжения на всех тяговых трансформаторах отечественного производства, а также в регулируемой части тяговой обмотки трансформаторов ОЦР-5600/25 и ОЦР-5000/25.
Обмотку высшего напряжения наматывают одним проводом прямоугольного сечения на рейках, укрепленных на бумажно-бакелитовом цилиндре 4 (рис 111, а) Она состоит из дисковых катушек 3, разделенных прокладками 2. Зазоры между катушками являются каналами системы масляного охлаждения
Количество реек и прокладок по окружности цилиндра зависит от его диаметра
Обычно расстояние между прокладками по окружности, называемое полем, равно 150—200 мм. В местах переходов между катушками провод изгибают на ребро Место перехода изолируют дополнительно кабельной бумагой и тафтяной лентой, наложенной вполуперекрышу. Переходы, как правило, выполняют в середине поля
Концевые катушки (обычно до четырех) выполняют проводом с усиленной изоляцией во избежание пробоя межвит-ковой изоляции при атмосферных перенапряжениях. Первую и последнюю катушки крепят к соседним катушкам бандажами 10 (рис 111, в) из киперной ленты, а начало и конец обмотки закрепляют на катушке бандажом //. Снизу и сверху каждой катушки установлены изоляционные кольца I и 5, через которые при опрессовке усилие передается на обмотки.
Регулируемые части тяговых обмоток выполняют из нескольких параллельных проводов. Наматывают их так, как в обмотке с одним проводом, с той лишь разницей, что переходы из катушки в катушку выполняют поочередно в смежных полюсах на одном уровне.
Винтовой параллельной называют обмотку, витки которой следуют один за другим в осевом направлении по винтовой линии; между двумя соседними витками имеются радиальные каналы. Так выполняют нерегулируемые части обмотки Каждый виток винтовой обмотки составлен из нескольких параллельных проводников прямоугольного сечения, расположенных в радиальном направлении Винтовая обмотка может быть одно-, двух- или многоходовой в зависимости от схемы намотки и тока нагрузки. Чаше всего применяют двухходовую обмотку (например, на трансформаторах ОЦР-5600/25 и ОЦР-5000/25).
Наматывают винтовую обмотку на жесткий бумажно-бакелитовый цилиндр 4 (рис. 111, б). Радиальные каналы между витками образуются витковыми прокладками из электроизоляционного картона, нанизываемыми на рейки 7.
В винтовой обмотке параллельные провода располагают по разным диаметрам, т. е. положение проводов в магнитном потоке различно, из-за чего не равны их
полные сопротивления Для выравнивания сопротивлений проводов во избежание неравномерного распределения тока в винтовой обмотке выполняют транспозицию (смешение) проводов. Обычно в винтовой обмотке применяют комбинацию двух видов транспозиции- групповую (катушка 8), когда параллельные провода делят на две группы и эти группы меняют местами, и общую (катушка 9), когда все провода меняют местами. В этих случаях обмотку делят по длине на четыре равных участка, содержащих по '/4 всех витков (рис 111, г). На границах участков выполняют три транспозиции: две групповые / и /// на '/4 и 3/4 общего числа витков al—аб, считая от начала обмотки, и одну общую // на 2/4 общего числа витков При групповой транспозиции все параллельные провода делят на две равные группы (обычно обмотку выполняют из четного числа параллельных проводников). В общей транспозиции каждый провод перекладывают самостоятельно. В месте каждой транспозиции увеличивается осевой размер обмотки на высоту одного витка и одного радиального канала.
Винтовую обмотку выполняют из обмоточного провода прямоугольного сечения марки ПББО, изолированного несколькими слоями кабельной или телефонной бумаги и хлопчатобумажной пряжей, и провода марки ПБ, изолированного несколькими слоями телефонной или кабельной бумаги. Все изоляционные детали обмоток изготовляют из электроизоляционного картона марки ЭМЦ. Листы картона выпускают толщиной 1; 1,5, 2; 2,5 и 3 мм
Крепированную электроизоляционную бумагу используют для изоляции концов 5 обмоток (см. рис. 111, б). Благодаря поперечному крепу (гофрировке) она дает удлинение до 50 % при натяжении. Толщина бумаги 0,5 мм, в разглаженном состоянии 0,17 мм.
В качестве дополнительной изоляции при выполнении переходов и накладывании бандажей применяют хлопчатобумажную ленту: тафтяную толщиной 0,25 мм и шириной 10—50 мм или кипер-ную толщиной 0,45 мм и шириной 10— 60 мм Обмотки пропитывают в лаке ГФ-95 светло-желтого цвета.

Рис. 112. Схема, поясняющая монтаж обмоток на стержне магнитопровода отечественных
тяговых трансформаторов
Изготовляют обмотки на специальных станках. На раздвижной металлический шаблон устанавливают бумажно-бакелитовый цилиндр с закрепленными рейками и наматывают провод на вращающийся цилиндр. Затем, не снимая обмотку со станка, обжигают ворс пламенем газовой горелки.
Сушат обмотку в специальных шкафах в вакууме (5333 Па) при температуре 100—110° С, после чего прессуют ее до чертежного осевого размера на гидравлическом прессе (давление 3920 кПа по поверхности дистанционных прокладок) и в стянутом виде пропитывают, окуная в резервуар с изоляционным лаком ГФ-95. Затем обмотку в течение примерно 10 ч держат в шкафах с приточной вентиляцией при температуре 100—110° С.
Сборка трансформатора. В этом процессе различают первую, вторую и третью сборки. При первой сборке устанавливают обмотку на магнитопровод, для чего на месте сборки расшихтовывают верхнее ярмо магнитопровода. Затем на оба стержня 1 (рис. 112) мостовым краном насаживают первые концентры 2 и расклинивают их деревянными клиньями 11. После этого насаживают вторые 7, а
затем третьи 8 концентры. Снизу и сверху обмоток помещают ярмовую изоляцию — соответственно 9 и 6; для выравнивания уровней полки ярмовой балки (линии консоли) с ярмом (линия ярма) устанавливают уравнительную изоляцию 10. Ярмовую и уравнительную изоляцию изготовляют из электрокартонной шайбы. Сверху на изоляцию устанавливают металлическое кольцо 5 с разрезом, предназначенное для передачи усилия опрес-совки обмоткам. После этого собирают ярмо. Прессующее кольцо заземляют медной лентой 4 на полку 3 ярмовой балки
Во время второй сборки припаивают концы обмоток к медным шинам медно-фосфористым припоем. Токоотводящие шины закрепляют в определенном положении изоляционными деталями из дерева. Перед третьей сборкой активную часть трансформатора подвергают сушке в вакуум-сушильном шкафу для удаления влаги из изоляции. Сушку производят прн температуре 100° С в вакууме 5333 Па При сушке активной части происходит усадка изоляции, поэтому затем подтягивают все болтовые соединения, скрепляющие деревянные детали, и подпрессовывают обмотки стяжными
шпильками Затем устанавливают и закрепляют на активной части крышку трансформатора.
К вводам, установленным на крышке, гибкими демпферными соединениями из медного провода марки ПЩ и медной фольги подключают активную часть. Затем выемную часть опускают в бак, крышку затягивают болтами и трансформатор заливают сухим трансформаторным маслом.
Бак трансформатора. В зависимости от массы и конструкции трансформатора толщину стен бака, свариваемого из листовой стали, выбирают от 4 до 10 мм, а толщину дна — от 8 до 12 мм. Бак и его крепления рассчитывают на механическую прочность. При этом для трансформаторов электровозов принимают ускорения: продольные 10 ё, вертикальные 0,3 горизонтальные и поперечные 0,2
На баке иногда (трансформаторы ОЦР-5600/25, ОЦР-5000/25 и др.) располагают оборудование системы охлаждения, масляный насос с трубопроводами, теплообменники, воздуховоды (см рис. 116). Нагретое масло забирается насосом из верхней части бака, прогоняется через
теплообменник, обдуваемый воздухом от вентиляторов, и охлажденное возвращается в нижнюю часть. Теплообменник собирают из отдельных секций. Каждая секция состоит из двух корпусов и впаянных в них медных трубок, по которым протекает масло. Для создания большей поверхности охлаждения к трубам припаивают большое количество пластин из медной фольги.
Выше уровня крышки устанавливают расширитель, сваренный из листовой стали. Масло, заливаемое в бак трансформатора, является не только охлаждающей, но и изолирующей средой С течением времени, соприкасаясь с окружающим воздухом, масло увлажняется, теряя диэлектрические свойства. Это приводит к снижению электрической прочности изоляции трансформатора. Масло в расширителе более холодное, чем в баке трансформатора, а поверхность соприкосновения его с воздухом мала, что предохраняет масло от окисления и увлажнения. Кроме того, при изменении в процессе работы трансформатора температуры масла изменяется его объем, но поскольку бак трансформатора должен быть весь заполнен маслом, то в рас-

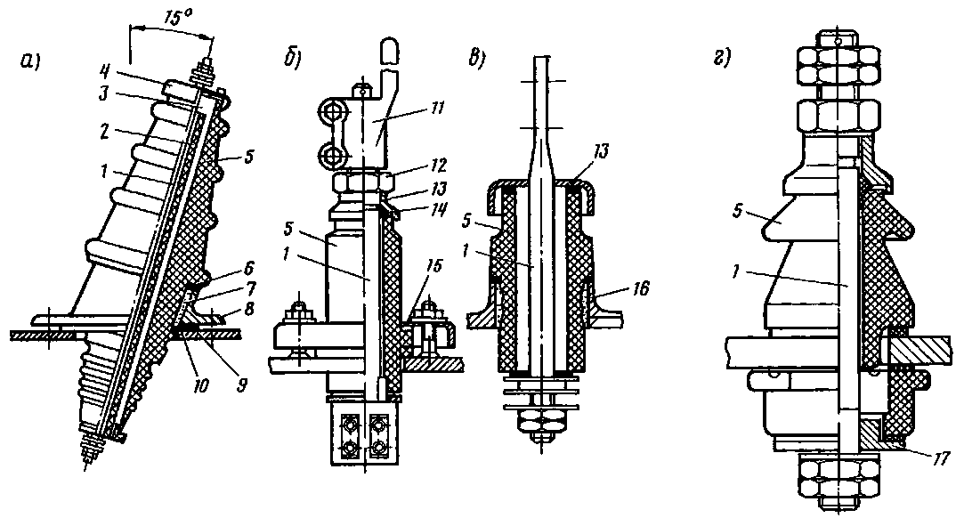
Рис. 113 Вводы отечественных тяговых трансформаторов на стороне 25 кВ (а), тяговой
обмотки (б) и обмотки собственных нужд (виг). / — металлический стержень, 2 — бумажно-бакелитовая трубка, 3 — пространство, заполняемое мае лом, 4 и 13 — металлические колпаки; 5 — фарфоровый изолятор; 6 и 14 — кольца из масло- и морозостойкой резины; 7 — магнезиальный цемент, 8 — чугунный фланец, 9 — прокладка из маслостойкой резины, 10 — крышка бака; И — контактный зажим, 12 — гайка; 15—алюминиевый фланец, 16 —
латунная обойма; 17—втулка
ширитель поступают излишки масла (при нагревании) или из расширителя масло поступает в бак (при охлаждении).
Объем расширителя и уровень масла в нем рассчитывают так, чтобы при всех режимах работы трансформатора и колебаниях температуры окружающей среды бак был заполнен маслом. Масло занимает минимальный объем при выключенном трансформаторе и температуре воздуха — 50° С, максимальный объем — при наибольшем допускаемом превышении температуры верхних слоев масла над температурой окружающего воздуха, равной 45° С. Уровень масла в расширителе контролируется по маслоуказателю.
Расширитель свободно сообщается с атмосферой через специальную пробку, имеющую отверстие для входа и выхода воздуха при температурном изменении объема содержащегося в нем масла. Попадающая в расширитель вместе с воздухом влага конденсируется и скопляется в отстойнике, находящемся в нижней части расширителя.
На стенке бака имеются кран для наполнения его маслом, а также для слива масла и пробка для отбора пробы масла, состоящая из корпуса, специального болта и шарика Остатки масла сливают через пробку в дне бака. Готовый бак окрашивают нитроэмалью
Вводы. Ввод обмотки на 25 кВ состоит из токоведущей части (рис. 113, а), выполненной в виде металлического стержня 1 и изолятора 5, отделяющего то-коведущую часть от крышки. Один конец изолятора заходит внутрь бака, а другой выступает над крышкой 10 Сечение то-коведущего стержня, устройство зажимов и конструкция крепления к крышке определяются током, проходящим через вводы. Вводы тяговых обмоток с большими токами устанавливают группами на одной стальной плите (обойме), имеющей прорези, заваренные немагнитным металлом. Такую обойму приваривают к крышке, вырезав в ней специальное отверстие
При больших токах в токоведущем стержне вокруг него создается значительное магнитное поле, в котором находится крышка трансформатора Вследствие этого в ней возникают потери от вихревых токов и перемагничивання стали,
в результате чего крышка нагревается. Для уменьшения таких потерь стремятся установить в одно отверствие на обойме не один, а несколько вводов. При установке в обойме вводов начала и конца одной обмотки магнитных силовых линий в крышке, охватывающих оба ввода, не будет, так как токи во вводах равны, но противоположны по направлению, и их результирующий магнитный поток практически равен нулю Для тяговых обмоток применяют съемные вводы (рис. 113, б), у которых можно в эксплуатации заменить поврежденный фарфоровый изолятор, не поднимая выемную часть.
Вводы обмоток собственных нужд (рис. 113, в) обычно устанавливают в одной латунной обмотке и армируют магнезиальным цементом В целях облегчения эксплуатации для обмоток собственных нужд также применяют и составные вводы (рис. 113, г), при которых не требуется поднимать выемную часть для замены неисправного изолятора Составные вводы состоят из двух изоляторов, расположенных с обеих сторон крышки.
|
|