Контрольно-измерительные приборы.
Для наблюдения и контроля за работой пневматической системы в каждой кабине машиниста установлено по пять манометров, показывающих давление в цепи управления, тормозных цилиндрах, питательной и тормозной магистралях, уравнительном резервуаре, а также скоростемер. На торцовой стенке электровоза находятся манометры, показывающие давление в цепи управления и нагрузочных цилиндрах Скоростемеры соединены с тормозной магистралью и регистрируют длительность применения автоматического тормоза и давление в тормозной магистрали
Клапаны токоприемников. Они предназначены для дистанционного управления токоприемниками и отличаются от электромагнитных вентилей тем, что рассчитаны на пропуск больших объемов воздуха, необходимого для пневматических цилиндров токоприемников. Клапаны бывают импульсные, включаемые кратковременно (например, для опускания и подъема токоприемников) и длительного действия.
Импульсные клапаны позволяют опускать токоприемник из любой кабины независимо от того, из какой кабины был произведен подъем. Это важно для моторных вагонов электропоездов, работающих по системе многих единиц. На моторных вагонах электропоездов применяют клапаны токоприемников КЛП=101А и КЛП = 101Б. Такой клапан состоит из цилиндра 6 (рис. 68), к которому прикреплены два вентиля / и 2 включающего типа ВВ В теле цилиндра имеются каналы, соединяющие каждый вентиль с соответствующей внутренней полостью цилиндра. В цилиндре находится поршень 7, снабженный уплотняющим металлическим кольцом 8; шток // проходит сквозь отверстие во фланце 9, в которое ввинчено седло 20 редукционного клапана токоприемника. Отверстие для прохода штока уплотнено резиновой набивкой 13. Набивка сжимается уплотняющей гайкой 12, а корпус соединен с цилиндром болтовым креплением. Хвостовик штока // имеет прорезь, в которой укреплены ролики 14 и 15. При продольном перемещении штока ролики воздействуют на звезду 17, насаженную на хвостовик пробки 3, притертой к корпусу 16 крана. Корпус и пробка имеют каналы и отверстия, которые при определенном положении штока соединяют цилиндры токоприемника с резервуаром сжатого воздуха (подъем) или с атмосферой (опускание) через редукционный клапан.
При возбуждении вентиля 2 сжатый воздух в цилиндре переместит поршень вместе со штоком в крайнее левое положение. Ролик 15 заставит звезду повернуться на 90 ° против часовой стрелки, что приведет к повороту пробки 3. Цилиндр токоприемника соединится с трубопроводом сжатого воздуха и отсое-

динится от атмосферного канала — произойдет впуск сжатого воздуха в цилиндре привода и подъем токоприемника. Отверстие в пробке имеет сравнительно небольшие размеры, поэтому скорость поступления воздуха в цилиндр незначительна и подъем токоприемника происходит сравнительно медленно.
По окончании импульсного возбуждения катушки пробка остается на месте, а токоприемник поддерживается в поднятом состоянии постоянным давлением сжатого воздуха до тех пор, пока не поступит импульс возбуждения на катушку вентиля /. При этом шток // займет правое положение и пробка 3 перекроет канал в корпусе 16 со сжатым воздухом; одновременно два взаимно перпендикулярных отверстия соединят цилиндр с каналом, ведущим к редукционному клапану Воздух, подойдя к этому клапану отжимает клапан 19 и выходит через
отверстия в седле 20 диаметром 6,5 мм и втулке 4 в атмосферу. В результате токоприемник быстро отрывается от контактного провода. По мере опускания токоприемника давление в цилиндре падает, клапан 19, под действием пружины 18 возвращается в исходное положение. После этого из цилиндра воздух медленно выходит через меньшее отверстие клапана 19 и подвижная часть токоприемника медленно опускается на резиновые упоры. Силу нажатия пружины 18 на клапан 19 регулируют винтом 5.
На хвостовике пробки 3 установлена головка 10: на нее насаживают реверсивную рукоятку контроллера машиниста, которой можно вручную изменять состояние клапана.
Применение клапанов импульсного действия неудобно главным образом в связи с необходимостью обеспечить электрическое блокирование дверей высо-

ковольтной камеры. Поэтому на электровозах применяют клапаны длительного действия, которые по конструкции проще рассмотренных клапанов.
Клапаны длительного действия типа КП-17-09 применены на электровозах ВЛ10 до № 1540; на электровозах этой серии до № 1721 установлены клапаны КП-53-05; на электровозах ВЛ80* до № 135 — клапаны К-41, взамен которых на электровозах ВЛ80Р, ВЛ80° и др. устанавливают электромагнитные клапаны токоприемника ЭВТ-54.
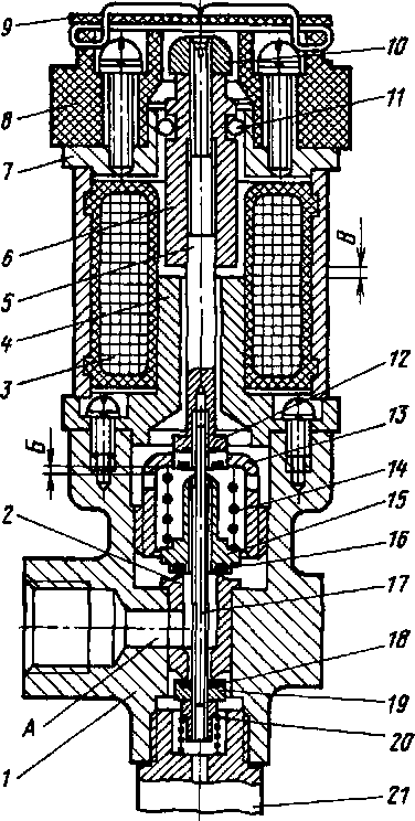
Клапан КП-17-09 состоит из трехка-мерного цилиндра 2 (рис. 69), закрытого сверху пробкой 13, а снизу литой крышкой 7, которая служит корпусом клапана. В камере А находится поршень 9, удерживаемый в нижнем положении пружиной 5. Эта камера через отверстие в тарелке постоянно сообщена с атмосферой, а камера Б через патрубок — с цилиндром токоприемника; верхняя камера С сообщена с резервуаром сжатого воздуха. На крышке 7 укреплен электромагнитный вентиль включающего типа, который управляет впуском и выпуском сжатого воздуха.
При возбуждении катушки 6 вентиля сжатый воздух по каналу 8 поступает в камеру А, поднимает поршень 9 и сжимает пружину 5. Вместе с поршнем 9 поднимается большой клапан 4, укреп-
ленный на штоке поршня, и закрывает отверстие между нижней камерой А и средней Б. Одновременно малый клапан /, преодолевая сопротивление пружины 14, открывает отверстие между камерами верхей С и средней Б, и сжатый воздух из резервуара поступает в цилиндры токоприемника.
Когда напряжение будет снято с катушки 6 вентиля, сжатый воздух нз-под поршня 9 выходит в атмосферу; поршень 9 под действием выключающей пружины 5 опускается, большой клапан 4 открывается, под давлением сжатого воздуха тарелка редуктора отжимается от стенки выхлопного отверстия, и воздух быстро выходит через него из цилиндра токоприемника в атмосферу. При снижении давления в цилиндре пружина 10 редуктора вновь прижимает тарелку // к стенке выхлопного отверстия Д и остаток воздуха выходит из цилиндра через меньшие отверстия В к Г пробки 3 с замедлением. Таким образом, в начале опускания полоз отходит от контактного провода быстро, что предотвращает об-горание контактного провода при случайном опускании полоза под током; в конце опускания замедленное движение токоприемника уменьшает удар подвижной части об его основание.
При опускании поршня 9 малый клапан / под действием силы тяжести и пружины 14 опускается и закрывает отверстие между верхней камерой С и средней Б, прекращая подачу сжатого воздуха из резервуара. Для регулирования скорости подъема токоприемника служит винт 12, ввертывая или вывертывая который, меняют проходное сечение верхнего патрубка цилиндра 2, т е. уменьшают или увеличивают сопротивление воздуху, поступающему из резервуара
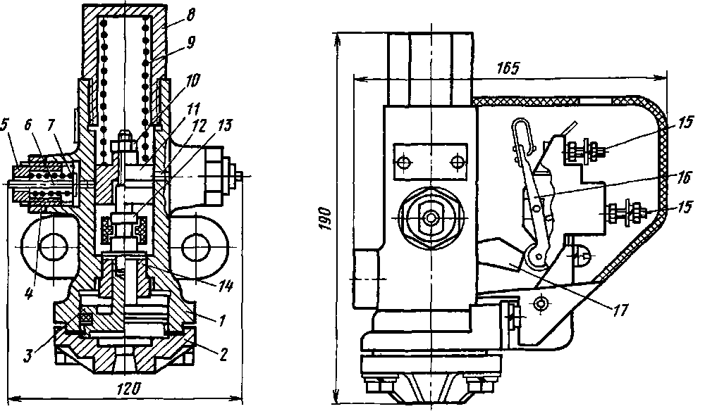
Электромагнитный вентиль ЭВТ-54 (рис. 70) токоприемника состоит из литого чугунного корпуса /, в который запрессована втулка 2, имеющая уплотнитель-ные бурты. С нижним уплотнительным буртом взаимодействует резиновая шайба 18 впускного клапана 19, размещенного на шпильке 17. Она закреплена на штоке 5 электромагнита с помощью выпускного клапана 12. Подвижная система вентиля подрессорена пружиной 20. На электромагнит насажена катуш-
ка 3, укрепленная эпоксидным компаундом в стальной втулке, являющейся частью магнитопровода К фланцу 7 прикреплен изолятор 8 с двумя выводами. На изоляторе установлена полиэтиленовая крышка 9, через центральную перемычку которой, нажав на гайку 10, можно вручную привести в действие вентиль. Якорь 6 в воротничковом соединении фланца 7 фиксируется от радиальных смещений рядом шариков 11, расположенных в пазу якоря Якорь навинчен на шток и фиксируется гайкой 10
Под резиновой шайбой 13 выпускного клапана на шпильке 17 размещен промежуточный дроссельный клапан 15, имеющий возможность осевого перемещения Резиновой шайбой 16 этот клапан опирается на верхний уплотнительный бурт втулки 2. Клапан 15 подрессорен пружиной 14 Время подъема токоприемника определяется сечением впускного канала в корпусе 21 калибровочного клапана.
При подаче напряжения на катушку 3 якорь 6 под действием электромагнитных сил притягивается к сердечнику (стоп) 4, при этом выбирается зазор В, перемещаются вниз шток и закрепленные на нем детали запорных органов клапанных систем так, что резиновые шайбы 16 и 13, перемещаясь на ход Б клапанной системы, перекроют сообщение с атмосферой цилиндра привода токоприемника Одновременно по каналу между резиновой шайбой 18 впускного клапана и нижним уплотнительный буртом втулки 2 открывается доступ сжатому воздуху в цилиндр привода по каналу А Время наполнения цилиндра определяется общим сечением впускного канала В
При снятии напряжения с катушки 3 подвижная система вентиля под действием пружины 20 и рабочего давления во впускной камере переместится вверх и резиновой шайбой 18 перекроет сообщение цилиндра привода с источником сжатого воздуха Одновременно откроется выпускной канал и воздух из цилиндра привода начнет выходить в атмосферу В начальный момент, когда сила, с которой сжатый воздух действует на нижний торец клапана 15, будет больше, чем сила, создаваемая пружиной 14, этот клапан сместится вверх и упрется в резиновую

Рис 70 Электромагнитный вентиль токоприемника ЭВТ-54
шайбу 13 выпускного клапана Сообщаться с атмосферой привод будет каналом, образованным между нижним торцом клапана 15 и уплотнительный верхним буртом втулки 12. Сечение канала эквивалентно сечению канала А, что обеспечивает быстрый выпуск сжатого воздуха в атмосферу. В результате этого происходит быстрый отрыв полоза токоприемника от контактного провода. По мере уменьшения давления сжатого воздуха в приводе токоприемника и достижения равенства сил, действующих на клапан 15, последний переместится вниз до упора во втулку 12 Дальнейший выход сжатого воздуха в атмосферу значительно замедлится, так как он будет осуществляться через щель малого сечения, образованную между внутренним отверстием клапана 15 и шпилькой 17 Это обеспечит плавное опускание подвижных частей на амортизирующее устройство.
На отечественных электровозах последних выпусков применяют электропневматические клапаны унифицированной серии, что позволяет получить на базе

Рис. 71. Электропневматические клапаны токоприемника КП-41 (а) и продувки КП-100 (б): / — корпус клапана; 2 — поршень; 3 — манжета; 4 — отключающая пружина; 5 — корпус дросселирующего устройства; 6 — съемная втулка; 7 — калибровочный клапан; 8 — электромагнитный вентиль; 9 — нагреватель; а, б, в и г — отверстия соответственно для подключения питательной магистрали и
исполнительных устройств
одного клапана несколько различных модификаций для подачи сжатого воздуха к тифону, свистку, форсунке песочницы (КП-39, КП-39-02, КП-40), в цилиндр привода токоприемника (КП-41, рис. 71,а), в цилиндры нагрузочного устройства и цепи пневматического тормоза при замещении реостатного или при отказе (срыве) рекуперации независимо от положе-

ния рукоятки крана машиниста (КП-53, КП-53-02), для продувки и спуска конденсата из главных резервуаров (КП-100, рис. 71,6, КП-110-01).
После возбуждения катушки электромагнитного вентиля 8 сжатый воздух от питательной магистрали поступает в исполнительное устройство, а при размыкании цепи катушки через отверстие в выходит в атмосферу, и подвижные детали клапана возвращаются в исходное положение.
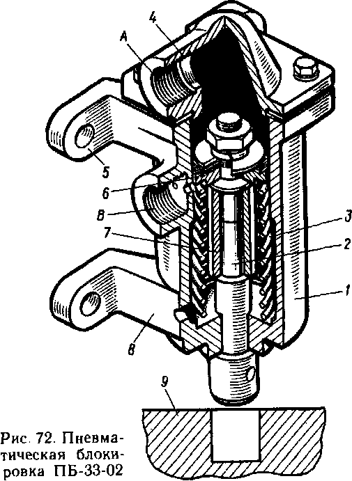
Пневматические блокировки. На электровозах пневматические блокировки применяют для автоматического блокирования дверей высоковольтных камер, крышек люков, ведущих на крышу, задвижных щитов при поднятом токоприемнике и наличии в его цилиндрах сжатого воздуха. На отечественных электровозах применяют блокировки ПБ-33-02 (рис. 72). В чугунном корпусе / с приливами 5 и 8 размещены поршень 6 с кожаным уплотнением, штоком 2 и втулкой 7, ограничивающей ход поршня. Поршень и шток отжимаются пружиной 3. Сверху цилиндр корпуса / закрыт крышкой 4, в которой предусмотрено отверстие А для подвода сжатого воздуха. В средней части цилиндра имеется боковое отверстие В. При поступлении сжатого воздуха через отверстие А в цилиндр поршень 6 опускается, преодолевая усилие пружи-
ны <?, и открывает боковое отверстие В, соединенное трубопроводом с клапаном токоприемника или с цилиндром корпуса другой пневматической блокировки. Шток 2 выходит из цилиндра и запирает дверь 9 высоковольтной камеры (крышку люка, задвижной щит). Если поршень не опустится ниже отверстия В, воздух не поступит в цилиндр и подвижная часть токоприемника ие поднимется. Поршень 6 со штоком 2 может опуститься ниже бокового отверстия В только при закрытой двери (крышки люка, шторы). Если она открыта, то ее верхняя планка не позволит штоку 2 опуститься и сжатый воздух не поступит в цилиндр привода токоприемника. Открыть дверь можно только при отсутствии воздуха в корпусе блокировки.
Пневматические блокировки действуют только при наличии сжатого воздуха в их цилиндрах, т е. не обеспечивают выполнение требований техники безопасности при определенных условиях. Поэтому на электровозах, кроме пневматических блокировок, устанавливают еще вентили защиты, срабатывающие в зависимости от напряжения на их катушках.
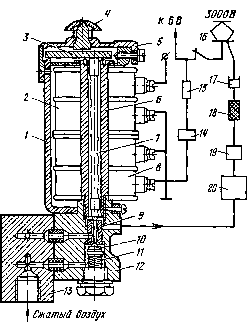
Вентили защиты. Эти вентили используют на электровозах постоянного (вентили ВЗ-1) и переменного (вентили ВЗ-57) тока. Катушка 2 вентиля ВЗ-1 (рис. 73) подключена к цепи управления кнопкой токоприемника, а иа вторую его катушку 8 подается напряжение от токоприемника 16 через катушку 14 реле контроля защиты РП-472 и добавочный резистор 15. Катушки включены таким образом, что их потоки действуют согласно. Вентиль срабатывает при возбуждении одной катушки. Например, при обесточенной катушке 2 и возбужденной катушке 8 воздух через вентиль будет поступать в цилиндры пневматических блокировок двери и люк крышки высоковольтной камеры, запирая их. При снятии питания с обеих катушек вентиль выключается, воздух выходит из цилиндров пневматических блокировок, двери и люк крышки можно открыть
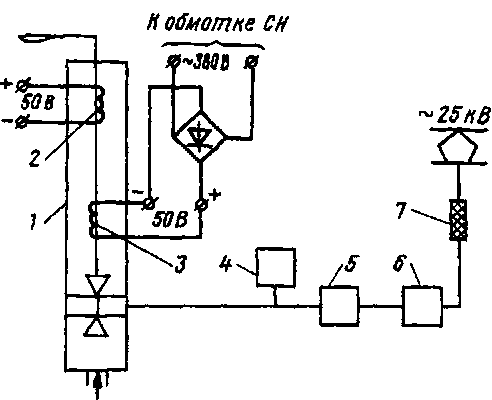
Вентиль / (рис. 74) состоит из двух электромагнитных вентилей. Катушка 2 каждого вентиля подключена к цепи напряжением 50 В, а катушка 3 — через выпрямительный мост к обмотке собст-

Рис 73. Вентиль защиты ВЗ-1: / — магнитопровод, 2 — катушка цепи управления вентиля ЭВ-58, 3 — якорь, 4 — кнопка для ручного включения; 5 — крышка; 6 — сердечник, 7 — ствол клапана, 8 — катушка вентиля ЭВ-59; 9 — седло; 10— клапан; // — пружина, 12—корпус; 13 — распределительная коробка; 14—катушка реле контроля защиты, 15 — резистор, 16 — токоприемник; 17—привод; 18—рукав, 19 и 20—пневматические блокировки
венных нужд напряжением 380 В. Действует вентиль аналогично вентилю ВЗ-1.
Аппараты звуковых сигналов. К этим аппаратам относят тифоны, свистки и ревуны. При подаче сжатого воздуха в корпус тифона вследствие попеременного

Рис. 74. Схема вентиля зашиты ВЗ-57: / — вентиль, 2 — катушка в цепи управления, 3 — катушка в цепи собственных нужд напряжением 380 В; 4 — блокировка пневматического выключателя, 5 и 6 — пневматические блокировки дверей и крышек люков высоковольтной камеры, 7 — изоляционный рукав

Рис 75. Ревун ТС-15: / — кронштейн, 2,3 — рукоятки; 4 и 5 — растру бы, 6 — кассета с мембранами, 7 — втулка регулировочная, 8 — крышка
разрежения, возникающего при выходе из камеры сжатого воздуха, мембрана начинает колебаться: возникает звук. Звучание свистка создается сжатым воздухом в резонирующих камерах.
На отечественных электровозах последних выпусков взамен тифона и свистка устанавливают ревуны ТС-15 (рис. 75). Ревун состоит из тифона и свистка, собранных на общем кронштейне /. Раз-

личная длина раструбов 4 и 5 тифона и разный объем резонирующих камер свистка обеспечивают двухтональное звучание как тифона, так и свистка.
На электропоездах для приведения в действие тифона и свистка применяют клапаны А16.000 с ручным управлением. Если нажать на толкатель клапана несильно, сжатый воздух поступит к свистку, более сильно — к свистку и тифонам.
Выключатели пневматические ПВУ-2. Их применяют для автоматического замыкания и размыкания цепи управления в зависимости от давления сжатого воздуха. При снижении давления сжатого воздуха до 0,27—0,29 МПа (2,7—2,9 кгс/см2) контакты зажима 15 и рычага 17 (рис. 76) размыкаются, что вызывает отключение тяговых двигателей от цепи токоприемника. При давлении сжатого воздуха 0,45—0,48 МПа (4,5—4,8 кгс/см2) сжатый воздух, подведенный под поршень 3, перемещает вверх шток 13 до тех пор, пока поршень не упрется в корпус. Преодолевая действие пружины 9, шток 13 поворачивает рычаг 17, который с помощью рычага 16 замыкает контакты цепи управления.
Стеклоочистители СЛ-440Б и СЛ-21Б. На э. п. с. их применяют для очистки стекол лобового окна кабины машиниста от
Рис. 76. Пневматический выключатель ПВУ-2: / — корпус, 2— крышка, 3 — поршень; 4 и 10 — гайки, 5 — стакан, 6 — толкатель, 7 и 9 — пружины, 8 — пробка, // — поршенек, 12—шарик, 13—шток, 14 — втулка, 15 — зажим цепи управления, 16
к 17 — рычаги

Рис 77 Пневматический стеклоочиститель СЛ-440Б (а) и СЛ-21Б (б). / — цилиндр, 2 и 6 — поршии, 3—шарик, 4— зубчатый сектор, 5 — ось, 7 — задняя крышка; 8 — зубчатая рейка, 9— пружина; 10— распределитель; 11 —золотник, 12 — пробка; 13 — корпус крана КР-30, 14 — трубопровод, 15 — передняя крышка
снега, дождевых капель, пыли. Под действием поступающего в цилиндры / (рис. 77, а и б) сжатого воздуха поршни 2 и 6 с зубчатой рейкой 8 перемещаются в крайние положения и с помощью системы рычагов и клапанов подают воздух то в левую (полость А), то в правую
(полость Б) часть цилиндра. Стеклоочиститель СЛ-440Б снабжен краном КР-30, а СЛ-21Б — краном КП-11. Краны служат для включения стеклоочистителя, а также используются для понижения давления и изменения частоты вращения оси 5.
|
|