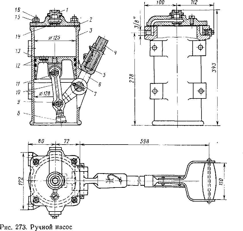
Для поднятия токоприемников, включения быстродействующего выключателя и замыкания разъединителя после длительной стоянки электровоза и разряженной аккумуляторной батареи служит

ручной насос (рис. 273). Он состоит из цилиндра 3, закрытого сверху крышкой 2, которая удерживается четырьмя шпильками 16 с гайками 15. В крышке помещен нагнетательный клапан 14. Пространство над ним каналом соединено с отверстием в верхней части цилиндра. В него ввертывается трубопровод. Над клапаном в крышке 2 имеется отверстие, закрытое пробкой /, через которое можно осматривать клапан.
В цилиндре 3 помещен поршень 5, имеющий уплотняющее кольцо 12 и всасывающий клапан 13. Валиком // поршень соединен с шатуном 10, а последний валиком 9 — с вилкообразной частью кривошипа 6. Кривошип может поворачиваться на валике 7, укрепленном в корпусе цилиндра 3. Для смазки трущихся поверхностей валиков И и 9 служит масленка 8.
В цилиндрическое отверстие кривошипа 6 вставляется рукоятка 4, с помощью которой насос приводится в действие. При перемещении этой рукоятки вниз поршень 5 поднимается вверх, а находящийся над ним воздух сжимается. Когда давление воздуха в цилиндре и трубопроводе уравнивается, клапан 14 открывается и воздух из цилиндра начинает перетекать в трубопровод. При перемещении рукоятки вверх поршень 5 опускается, давление воздуха
в цилиндре падает. Когда оно становится несколько меньше 1 кгс/см2, открывается всасывающий клапан 13 и объем над поршнем начинает заполняться новой порцией воздуха. Максимальный ход \ поршня насоса 90 мм. <
|
|