Цепи освещения и управления (так называемая стабилизированная сеть) питаются током низкого напряжения (50 В), вырабатываемым специальным генератором, который приводится во вращение электродвигателем вентилятора.
Частота вращения якоря мотор-вентилятора, а следовательно, и генератора тока управления определяется напряжением в контактном проводе. Последнее в зависимости от количества работающих на участке электровозов может колебаться в сравнительно широких пределах — от 2200 до 4000 В. Это вызывает значительные, колебания частоты вращения якоря мотор-вентилятора, а следовательно, и напряжения на зажимах генератора тока управления. Нагрузка генератора также меняется в зависимости от режима работы электровоза. Всем этим определяются довольно большие колебания напряжения на зажимах генератора.
Чтобы автоматически поддерживать постоянное напряжение на зажимах генератора, на электровозе установлены регуляторы, которые при повышении или понижении напряжения на зажимах машины соответственно увеличивают или уменьшают сопротивление в цепи обмотки возбуждения генератора и этим изменяют магнитный поток возбуждения.
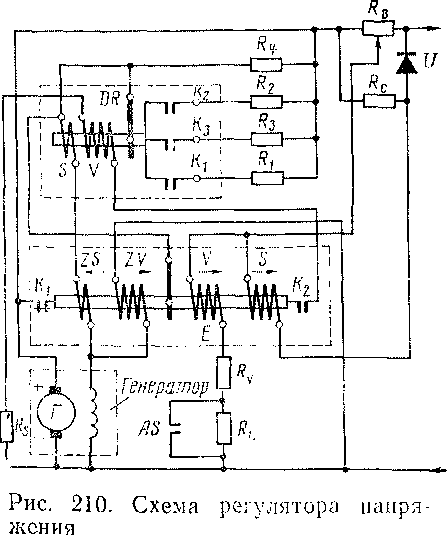
Регулятор напряжения состоит из двух реле: четырехкатушеч-ного двухконтактного реле Е (собственно реле напряжения) и двух-катушечного трехконтактного реле (рис. 210).
Реле Е представляет собой пустотелый сердечник, на внешней стороне которого размещены четыре обмотки (катушки): V (главная), ІБ, гу я Б, а внутри находится якорь, подвешенный на двух плоских пружинах. Такая конструкция исключает появление сил трения при перемещении якоря. По обоим концам якоря к нему

Рис. 209. Электромагнитная защелка 3ZB
прикреплены контакты. На якорь постоянно действует сила пружин, стремящаяся замкнуть контакт К\ и разомкнуть контакт Кг-
Ток в обмотке V почти пропорционален напряжению на зажимах якоря генератора. Ток обмотки 5, включенной в диагональ моста, образуемого частями потенциометра Ял, резистором Яо и германиевым диодом и, пропорционален току нагрузки генератора. При передвижении ползунка потенциометра /?в в сторону зажима, соединенного с якорем генератора, увеличивается ток в обмотке 5 при одном и том же токе генератора.
При протекании тока по основным обмоткам V, Б и вспомогательной IV создается магнитный поток, стремящийся переместить подвижную часть реле в сторону замыкания контакта Кг, т. е. действующий против направления усилия пружин. При прохождении тока по вспомогательной обмотке ZS создается магнитный поток, направленный навстречу магнитному потоку остальных катушек (направление действия сил условно показано стрелками).
Реле регулируют в небольших пределах поворотом зубчатого колесика, при котором меняется сила пружины, а следовательно, и величина нажатия левого подвижного контакта на неподвижный
Реле Е имеет три положения (рис. 211). В положении / замкнут контакт К\ и разомкнут Кг (см. рис. 210 и 211). При этом в цепь обмотки возбуждения генератора не включается никакого сопротивления и величина тока в обмотке определяется напряжением на зажимах якоря генератора. Ток от «плюса» генератора проходит через контакт К\, якорь реле Е, обмотку 5 реле обмотку 23
реле Е, обмотку возбуждения генератора к «минусу». В положении /У оба контакта К\ и Кг реле Е разомкнуты и в цепь обмотки возбуждения включен резистор Яі (или резистор Яі с параллельно включенными с ним резисторами Яь Яг и %). В этом случае
ток от «плюса» генератора проходит через резистор /?4, обмотку 5 реле йЯ, обмотку реле Е, обмотку'возбуждения генератора к его «минусу».
В положении III замыкается контакт Кг и параллельно обмотке возбуждения генератора оказывается включенной цепь из последовательно соединенных элементов цепи: обмотки V реле и резистора
При одном и том же напряжении на зажимах генератора в положении / по обмотке возбуждения проходит большой ток, в положении II — средний и III — минимальный. Соотношение времени между положениями I, II и III

вибрирующего якоря автоматически устанавливается такое, при котором ток возбуждения генератора соответствует заданному выпряжению на зажимах его якоря.
Для более плавного регулирования тока возбуждения служит реле £>/?, которое своими контактами Кг, Кі и Аз включает параллельно резистору Ян соответственно резисторы Я\, Я2 и Яз. По конструкции реле [)Я сходно с реле Е.
Пружины, на которых подвешен якорь, действуют против замыкания трех контактов К\, К.2 и Кг, расположенных справа. В этом же направлении действует и магнитный поток, образованный обмоткой V. Магнитный поток, образованный обмоткой 5, по которой всегда протекает ток, равный сумме токов обмотки возбуждения генератора и обмотки IV реле Е, создает усилие, направленное против сил пружин, т. е. стремящееся замкнуть контакты. Когда усилие, создаваемое обмоткой 5, становится больше суммы усилий пружин и магнитного потока обмотки V, поочередно замыкаются контакты К\, Къ и Кг- Поэтому параллельно резистору Я\ включаются резисторы #і или 7?і и Я2 или /?ь Яг и Яз, т. е. в положениях / и II реле Е происходит ступенчатое увеличение тока в обмотке возбуждения генератора.
При пуске машины на ее зажимах из-за остаточного магнитного потока главных полюсов появляется э. д. с, вызывающая ток в обмотке возбуждения. Путь тока соответствует положению I, описанному выше. Этот ток усиливает магнитный поток полюсов, что ведет к росту э. д. с. и дальнейшему повышению тока обмотки возбуждения — происходит 'самовозбуждение генератора. Ток, протекающий по обмотке 5 реле ОЯ, вызывает замыкание контактов К\, К2 и Кг этого реле, но резисторы Яи Я2, Яз, как и резистор Яа, при замкнутом контакте К\ реле Е оказываются шунтированными этим контактом и никакого действия не оказывают. После того как частота вращения якоря повысится и напряжение на его зажимах достигнет 50 В, усилие на якоре реле Е, создаваемое магнитным потоком обмотки V, преодолеет усилие пружин и усилие, создаваемое магнитным потоком обмотки ЁБ, — якорь переместится вправо. При этом контакт К\ реле Е разомкнётся и последовательно с обмоткой возбуждения генератора включатся параллельно соединенные резисторы Я2, Яз, Яі- Путь тока соответствует положению //. Это ведет к уменьшению тока возбуждения генератора.
В том случае, когда частота вращения якоря генератора продолжает увеличиваться и напряжение на его зажимах поднимается выше 50 В, якорь реле Е под действием сил, создаваемых магнитными потоками катушек V и IV, переместится вправо и замкнется

контакт К2 реле Е. В результате параллельно обмотке возбуждения генератора включится цепь, состоящая из обмотки V реле ОЯ и последовательно с нею соединенного резистора (путь тока соответствует положению ///). Это вновь вызовет уменьшение тока возбуждения генератора.
Дальнейшее увеличение сопротивления цепи обмотки возбуждения генератора достигается поочередным выключением резисторов Яа, Я2, Я\ контактами реле ИЯ, магнитный поток обмотки V которого действует в сторону отключения контактов Кз, Яг и /Сі •
Обычно при нормальном режиме работы генератора поддержание постоянного напряжения на его зажимах происходит из-за периодического замыкания и размыкания контактов К\, Кі и К3 реле ОЯ и замыкания и размыкания контакта Кг реле Е.
Обмотка 5 реле Е оказывает свое действие лишь при перегрузках генератора (токе более 80 А), когда падение напряжения на резисторе Яв вызывает достаточный ток в обмотке 5. Это приводит к замыканию контакта К2 реле Е, т. е. уменьшению возбуждения генератора, а следовательно, и его нагрузки.
Для уменьшения подгара контактов положительные контакты у реле Е выполнены из вольфрама, а отрицательные — из платины. Реле ИЯ имеют серебряные контакты.
Регулятор напряжения при частоте вращения якоря генератора 1965—2835 об/мин поддерживает напряжение в стабилизированной сети 44—52 В, а при холостом ходе машины — 50,5—51,5 В.
|
|