Для измерения величины напряжения и тока в различных цепях электровоза служат вольтметры и амперметры магнитоэлектрической системы. Механизм их состоит из постоянного магнита с полюсными наконечниками N и 5 (рис. 182). Для уменьшения маг-нитногр сопротивления между наконечниками помещен неподвижный сердечник / из хорошо проводящего магнитный поток материала.
Подвижная часть механизма представляет собой рамку 2 с намотанной на ней тонкой изолированной проволокой. Эта рамка помещена в магнитное поле постоянного магнита, а концы ее обмотки присоединены к внешней цепи. Во время прохождения по обмотке постоянного тока возникает магнитное поле рамки, которое, взаимодействуя с магнитным потоком неподвижного магнита, поворачивает рамку в ту или иную сторону.
Противодействие вращению рамки оказывают две спиральные пружинки из немагнитного материала, которые служат одновременно проводниками для подвода тока к концам обмотки рамки. К рамке присоединена стрелка, угол отклонения которой зависит от величины тока, проходящего через обмотку рамки. На шкале прибора наносятся деления и цифры значения напряжения или тока. На электровозах применяются приборы профильного типа или с плоской шкалой.
Вольтметры. Для измерения напряжения в контактном проводе,


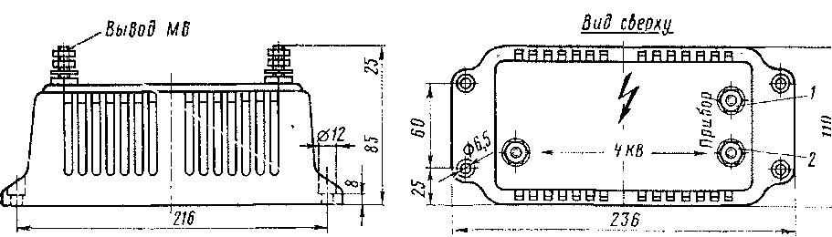
Рис. 184. Делитель напряжения
а также низковольтных цепях служат вольтметры. Внутреннее сопротивление вольтметров незначительно, поэтому в высоковольтные цепи их включают последовательно с дополнительным сопротивлением.
В качестве вольтметров для измерения напряжения контактной сети используются приборы ВБРрИ/Ь (рис. 183) или прибор М151 с плоской шкалой отечественного производства. Шкалы этих приборов отградуированы на напряжение от 0 до 4 кВ. Приборы ОбРр14/0_ обеих кабин машиниста подключены параллельно к зажимам / и 2 делителя напряжения (рис. 184). При напряжении в контактной сети 4 кВ напряжение между зажимами / и 2 составляет 10 В. Обрыв цепи одного из вольтметров приводит к завышению показания другого исправного вольтметра. Приборы М151 включаются последовательно добавочному резистору — Р103.
В качестве вольтметра цепи управления и освещения электровоза использован прибор (типа БРШб), аналогичный применяемому для измерения тока цепи аккумуляторной батареи, но имеющий шкалу для напряжения от 0 до 90 В. Этот вольтметр установлен на распределительном щите и без каких-либо добавочных резисторов включен в цепь измеряемого напряжения. Для измерения напряжения в цепи электропневматического тормоза на пультах управления установлены вольтметры БНИб или М358 с плоскими шкалами, имеющими деления от 0 до 100 В.
Амперметры. Для измерения величины тока в цепях тяговых двигателей, а также величины зарядного или разрядного тока аккумуляторной батареи на электровозах установлены амперметры. В качестве амперметров цепи тяговых двигателей используются приборы ВзРр14/Т) илиМ151, имеющие шкалы с делениями от 0 до

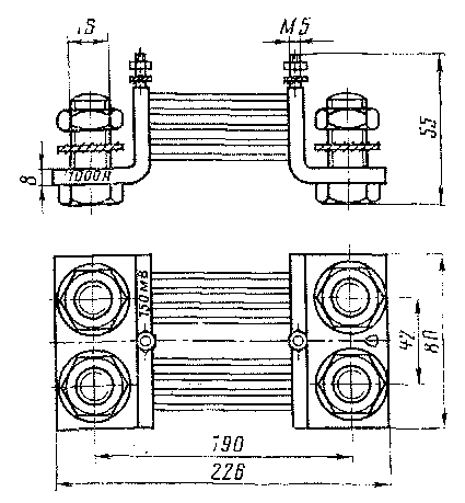
Рис. 185. Шунт амперметра
1000 А или от 0 до 750 А. Обмотка амперметра своими концами присоединена к шунту, включенному в цепь измеряемого тока. Шунты имеют небольшие сопротивления, поэтому напряжение на зажимах амперметров в проходящий по их обмоткам ток незначительно. Для приборов DsPpi4/D используются шунты (рис. 185), у которых при токе 1000 А напряжение на зажимах составляет 150 мВ, для приборов типа Ml 51 —шунт 75ШС-750. Для измерения величины тока аккумуляторной батареи служит амперметр DFi65 с плоской шкалой 100—0—100 А, по которому можно судить не только о величине тока, но и его направлении (заряд или разряд батареи). Этот амперметр установлен на распределительном щите.
|
|