Реле называется электрический аппарат, срабатывающий при изменении режима в цепи, в которой он установлен. Основным свойством реле является скачкообразное изменение выходной величины (сигнала) при плавном изменении вход-

ной. На электроподвижном составе реле применяют для автоматизации процессов управления, защиты электрооборудования, в качестве светового сигнала, промежуточных для размножения или передачи сигналов с одной цепи управления в другую.
Реле классифицируют по различным признакам: по принципу действия — на электромагнитные, электродинамические, тепловые, пневматические и т. п.; контактные и бесконтактные — магнитные и полупроводниковые; по роду контролируемой (входной) величины — реле тока, напряжения, времени, мощности, фазы, тепловые реле и т. п.; по изменению величины, на которую реле должны реагировать,— максимальные, минимальные; по способу включения — на первичные (при включении обмотки в цепи защищаемого аппарата) и вторичные; для размножения числа контактов или увеличения их мощности — промежуточные реле и т. д.
В настоящее время все более широкое применение находят бесконтактные аппараты управления, в том числе и бесконтактные реле. Однако контактные реле, особенно электромагнитные, все еще широко применяют на электропоездах.
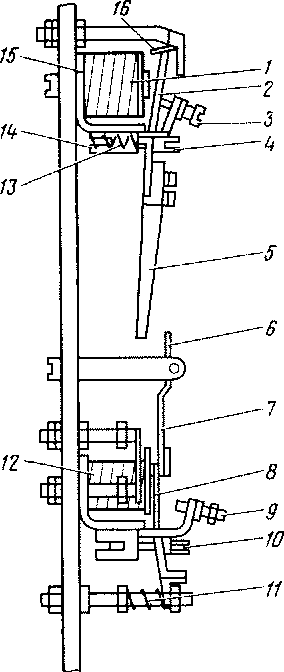
Реле Р-103/Р-102 (по схеме РП1-РП2) служит для защиты силовых цепей от перегрузочных токов и токов короткого замыкания. Реле Р-103 работает в сочетании с реле Р-102, последнее осуществляет функцию механизма возврата. Реле имеет конструкцию магнитопровода Г-образ-ного типа без блок-контактов. На магнитопроводе 15 (рис. 205) размещена силовая катушка 1, включенная последовательно в защищаемую цепь. Изоляционная планка 5, укрепленная на якоре 2 и рассчитанная на полное напряжение силовой цепи, воздействует на низковольтную часть реле. При прохождении больших токов по силовой катушке 1 якорь 2 притягивается к сердечнику, планка 5 ударяет по упору 6 и поворачивает валик механизма возврата. Валик поворачивается, освобождает от защелки 7 якорь 8, на котором укреплены контактные мостики //. Происходит требуемое переключение блокировочных контактов механизма возврата. Поскольку при этом происходит выключение тока силовой цепи, якорь / занимает исходное положение, а якорь 8 механизма возврата не притянут к сердечнику катушки 2. Для восстановления реле достаточно кратковременно возбудить катушку 12 механизма возврата, принтом якорь притягивается и запирается на защелку 7. Реле вновь готово к действию.
В верхней части панели около каждого реле на изогнутой шпильке подвешен флажок-бленкер 16, который при срабатывании выходит из зацепления с якорем и опускается, принимая вертикальное положение. Восстановление флажка осуществляется вручную. Регулировку реле перегрузки на определенный ток срабатывания производят изменением натяжения пружины 13 регулировочной гайкой 4 и регулировочным винтом 3. На шкале 14 указан ток уставки реле. Время срабатывания реле 0,05—0,06 с (время срабатывания указано от подачи импульса на катушку реле до момента включения или отключения блокировок механизма возврата). Регулировка реле возврата осуществляется регулировочной гайкой 10 и винтом 9.
Рис. 205. Реле перегрузки Р-103 с механизмом воз-впата Р-102
Технические данные реле Р-103:
|
Номинальное напряжение |
3000 В |
|
Ток срабатывания Тип и размер провода катушки Число витков |
600+20 А |
|
МГМ 4Х і 5 мм |
|
|
3 |
|
|
Длительный ток |
250 А |
|
Технические данные реле Р-102: |
|
|
Номинальное напряжение |
1 10 В |
|
Ток срабатывания, не более |
0,24 А |
|
Сопротивление при 20 °С |
119—135 Ом |
|
Провод |
ПЭЛ 0 0,25 мм |
|
Число витков |
3610 |
|
Число блок-контактов |
2 замыкающих, |
|
Длительный ток |
1 размыкающий |
|
20 А |
|
|
Нажатие |
2-3 Н (0,2-0,3 кгс) |
|
Раствор контактов: |
|
|
вертикальных верхних |
4~' мм |
|
вертикальных нижних, не менее |
1 мм |
|
суммарный, не менее |
5 мм |
|
Провал контактов |
(2,5±1) мм |
|
Раствор горизонтальных нижних контактов |
3 * мм |
При регулировке реле якорь реле возврата запирают защелкой 7 механизма возврата (см. рис. 205). Затем подают питание на катушку реле перегрузки от источника с плавной регулировкой тока до 650 А и при плавном изменении тока регулировочным винтом 3 и пружиной 13 регулируют ток срабатывания реле в соответствии с техническими данными. Наблюдают за четким срабатыванием реле. Проверку уставки реле производят не менее трех раз, после чего регулировочную гайку 4 закрепляют контргайкой, наносят риски красной эмалью ГФ-92-ХК и пломбируют. Для регулировки реле используют источник выпрямленного (по двухполу-периодной схеме) напряжения. Регулировку реле возврата производят от источника тока с плавной регулировкой напряжения от 100 В в той же последовательности, что и реле перегрузки, руководствуясь техническими данными. При ТО-3 и ТР-1 проверяют вручную действие якорей реле и механизма возврата, состояние и крепление катушек, пружин, блокировочных контактов и подводящих проводов. При наличии подгаров контактные поверхности зачищают, ослабшие соединения закрепляют. Зачистку контактов производят личным напильником или стеклянной бумагой.
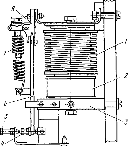
Бесконтактное дифференциальное реле РДБ-101А-1. Защита тяговых двигателей при возникновении кругового огня на коллекторе осуществляется с помощью бесконтактного дифференциального реле РДБ-101А-1 (по схеме БДР), которое воздействует через систему защиты выпрямительной установки на отключение высоковольтного выключателя. Реле включено в цепь так, что сравнивает величины токов в двух параллельных ветвях групп тяговых двигателей и при небалансе токов вторичная катушка реле подает сигнал на отключение. Бесконтактное дифференциальное реле представляет собой замкнутый магнитопровод / (рис. 206), укрепленный на угольнике 3, через окно которого проходят кабели 4 (ПС-3000 сечением 70 мм2, выполняющие роль первичной катушки) двух параллельных цепей тяговых двигателей. Ампер-витки этих кабелей направлены встречно, поэтому при равных токах в обоих ветвях в магнитопроводе не возникает магнитный поток. При возникновении кругового огня на коллекторе одного

Рис. 206. Бесконтактное дифференциальное реле РДБ-101А-1
Рис. 207. Реле ускорения Р-40В
из тяговых двигателей баланс токов в параллельных цепях нарушается, и в магни-топроводе реле возникает быстро нарастающий магнитный поток, под действием которого в катушке управления 2 реле возникает импульс напряжения, подаваемый на блок управления.
Технические данные реле РДБ-101А-1:
Магнитопровод
Размеры пластины 130X70 мм
Размер окна 90X30 мм2
Толщина пакета 17 мм
Материал сталь Э48 Вторичная катушка
Провод ПЭЛ 0 0,2 мм
Число витков 2500±25
Сопротивление 140—180 Ом
Реле ускорения Р-40В (по схеме РУ) предназначено для автоматического управления работой групповых контроллеров в зависимости от величины тягового тока, и тем самым осуществляется автоматический пуск поезда. Реле имеет магнитопровод 3 (рис. 207) с большим воздушным зазором, маЛо изменяющимся при включении реле, и якорь 6, установленный на призматическом упоре 8. На якоре установлен серебряный блок-контакт 4 без притирания. На сердечнике магнито-провода размещены две согласно действующие катушки: силовая /, включенная последовательно в цепь тяговых двигателей, и подъемная 2, питаемая от цепи управления. Изоляция между катушками, а также между силовой катушкой и магнитопроводом рассчитана на полное напряжение цепи. Вдоль якоря размещена отключающая пружина 7, укрепленная одним концом на оси колодки якоря, а другим — на кронштейне упора 8.
Ток отпадания якоря регулируется изменением величины магнитного зазора (грубая регулировка) упорным винтом 5 или натяжением регулировочной пружины 7 (точная регулировка).
Технические данные реле Р-40 В:
Контакты
Число размыкающих контактов 1
Раствор 1.5—2 мм
Нажатие 1,5 Н (0,15 кгс)
Длительный ток 1,5 А
Напряжение 110 В Катушка подмагничивания
Сопротивление при 20 °С 418—475 Ом
Число витков 5900
Марка провода и его диаметр ПЭЛ 0 0,2 мм
Длительный ток 0,109 А
Номинальное напряжение ПО В Включающая катушка
Провод шина МГМ 2,6X25 мм2
Число витков 6
Длительный ток 250 А
Ток включения 425—450 А
Ток отпадания якоря (365±10) А
Регулировку реле производят после монтажа его на панели совместно с добавочными резисторами катушки подмагничивания. Перед регулировкой необходимо: осмотреть реле, проверить его соответствие чертежам, качество сборки и действие подвижных частей; проверить монтаж электрических соединений; замерить контактное нажатие и раствор до и после регулировки, а также сопротивление катушки подмагничивания и добавочных резисторов.
Регулировочные данные реле: обозначение вывода «плюс» включающей катушки на панели с реле Я1; обозначене вывода «плюс» цепи управления на панели с реле 15 ГБ; обозначение вывода «минус» цепи управления на панели с реле при добавочном сопротивлении 1500 Ом ЗОЕ; ток отпадания при этом сопротивлении 260 А; обозначение вывода «минус» цепи управления на панели с реле при добавочном сопротивлении 510 Ом ЗОИ; ток отпадания при этом не более 160 А.
Регулировку реле выполняют в следующем порядке:
проверяют направление действия магнитных потоков катушек. Для этого подают питание от низковольтного многоамперного генератора на включающую катушку, соблюдая полярность, указанную выше (при этом северный полюс магнита должен быть вверху). Соблюдая полярность, подают питание на катушку подмагничивания, при этом магнит северным полюсом также должен быть направлен вверх;
подают питание на включающую катушку реле. Плавно изменяя ток, включают реле. При проверке тока отпадания реле в процессе снижения силового тока кратковременно подают напряжение на зажимы 15 ГБ и ЗОИ, после чего замеряют ток отпадания. Однако нельзя увеличивать ток свыше 1,1 тока включения реле, так как это вызывает значительное уменьшение тока отпадания. Изменяя натяжение пружины или величину магнитного зазора, нужно отрегулировать ток отпадания реле;
определяют ток включения реле. При несоответствии тока включения паспортным данным необходимо изменить раствор контактов. При несоответствии величины раствора техническим данным следует изменить магнитный зазор и повторить регулировку в том же порядке. Необходимо помнить, что изменение магнитного зазора в значительно большей степени влияет на ток отпадания, чем на ток включения реле, в то время как изменение натяжения пружины в одинаковой степени влияет и на ток отпадания, и на ток включения;
производят не менее трех раз проверку уставки реле;
подают напряжение ПО В на зажимы 15 ГБ, ЗОЕ и 15 ГБ, ЗОИ и проверяют величину тока отпадания. Токи отпадания, полученные при подаче напряжения на зажимы, указанные выше, специально не регулируют: их величина обеспечивается, если ток отпадания отрегулирован правильно и добавочные сопротивления равны 1500 или 510 Ом.
После регулировки все винты и гайки фиксируют контргайками и наносят риски красной эмалью ГФ-92-ХК, а аппарат пломбируют в соответствии с чертежом. При проверке работы реле ускорения на поезде следует учесть, что минимальный ток силовой цепи, замеренный щитовым амперметром, несколько меньше тока уставки реле вследствие того, что после отпадания якоря реле до момента переключения силовых контактов контроллера проходит 0,3—0,4 с. Регулируя реле на стенде испытательной станции, подводящие провода отключающей катушки следует располагать так, как они расположены на поезде, для исключения влияния магнитного поля проводов на уставку реле. Для регулировки реле следует пользоваться источником выпрямленного по двухполупериодной схеме напряжения.
Реле боксования Р-304-Г-1 (по схеме РБ) служит для ослабления боксования колесных пар в тяговом режиме. Реле имеет Г-образный магнитбпровод 5 (рис. 208). На якоре 3 укреплена изоляционная планка 6, создающая необхо: димую изоляцию между высоковольтной катушкой / и неподвижными контактами 8, включенными в цепь управления. На конце планки установлены два контактных мостика 7. Катушка / реле боксования включена через резистор к средним точкам групп тяговых двигателей. В нормальных условиях тяговые двигатели вращаются с одинаковой скоростью, потенциалы средних точек примерно равны и по катушке реле протекает ток, обусловленный лишь разницей скоростных характеристик тяговых двигателей. При возникновении боксования одной из колесных пар напряжение на двигателе этой колесной пары возрастает, на зажимах реле появится достаточно большое напряжение, и оно срабатывает. При этом уставка реле ускорения понижается и надежно останавливает силовой контроллер буксующего вагона до полного прекращения боксования. Вторым контактом реле включает на пульте сигнальную лампу «Боксование», которая горит, пока не отпадет якорь реле.
Технические данные реле Р-304-Г-1:
Ток срабатывания и,025 0,030 А
■ Ток отпадания 0,012-0,014 А
Провод катушки ПЭЛ 0 0,15 мм
Число витков 21 000
Сопротивление катушки при 20 °С 2441—2776 Ом
Число контактов 2 размыкающих
Длительный ток контактов 1 А
Провал контактов 2 2,5 мм
Раствор контактов 2 3 мм
Нажатие контактов 1.5—2 Н (0,15 2 кгс)
Номинальное напряжение катушки относительно контактов 3000 В Коммутационная способность контактов при индивидуальной нагрузке и напряжении 110 В постоянного тока 0.7 А Для регулировки реле необходим источник постоянного тока с плавной регулировкой напряжения от 0 до 100 В. От этого источника подают питание на катушку / реле и при плавном изменении тока регулируют пружиной 4 и немагнитными

прокладками 2 (меняя их число) ток отпадания реле в соответствии с техническими данными. С помощью гайки на регулировочной шпильке регулируют ток включения реле, при этом раствор контактов 8 должен оставаться в пределах указанных в технических данных. Необходимо добиться четкого включения реле и отпадания его якоря. При обесточенной катушке пружина реле должна надежно удерживать якорь в отключенном положении. Уставку реле проверяют не менее трех раз, после чего регулировочные гайки фиксируют контргайками.
Токовое реле (по схеме ТРФ) предназначено для защиты асинхронного расщепителя фаз от аварийных режимов. Реле имеет магнитопровод 8 (рис. 209), токовую катушку 7, основную регулировочную пружину 9, один размыкающий и один замыкающий контакт 4 мостикового типа. Замыкающий контакт в схеме не используется, он служит для увеличения коэффициента возврата реле. Узел замыкающего контакта с целью обеспечения возможности получения высокого коэффициента возврата и его регулировки содержит регулировочную пружину 3, винт 2, скобу /, направляющую шайбу 12, регулировочную гайку // и контргайку 10. Регулировка уставки реле по току на включение осуществляется изменением натяжения основной пружины, а уставки на отключение — изменением натяжения пружины замыкающего контакта.
Технические данные реле:
Уставка на включение (170±5) А
Уставка на отключение, не менее 150 А
Средний зазор якоря в отключенном состоянии (2,4±0,3) мм Катушка:
ток номинальный 150 А
частота 50 Гц
число витков 2
Площадь сечения провода, не менее 28 мм2
Технические данные контактов:
Контакт размыкающий замыкающий
Ток номинальный, А 0,3 1,0
Раствор, мм, не менее 0,5 1,0
Провал, мм 1,6ч=0,4 0,6±0,2
Нажатие начальное, Н (кгс), не менее 0.7 (0.07) 6 (0,6)
Регулировка реле производится в следующем порядке: между якорем и ярмом устанавливаются калиброванные прокладки размерами (0,5±0,05) мм, а между якорем и упорным винтом 6 (см. рис. 209) — размерами (1,0-+-0,1) мм. Перемещая упорный винт, прижимают прокладки таким образом, чтобы якорь занял промежуточное положение, после чего фиксируют винт. Далее следует отрегулировать контакты. Для этого неподвижные контакты с помощью гаек устанавливают таким образом, чтобы подвижной замыкающий контакт касался обоих неподвижных контактов без провала, а размыкающий имел зазор 0,1—0,3 мм, и в таком положении фиксируют неподвижные контакты. Далее снимают прокладку между упорным винтом и якорем. При этом надо убедиться, что при нажатии якоря происходит одновременное касание обоих сторон подвижного замыкающего контакта без провала. После этого снимают прокладку между якорем и ярмом и проверяют провал размыкающего контакта. С помощью гайки 5 регулируют натяжение пружины 9 до требуемого тока срабатывания, после чего гайку 5 за-шплинтовывают. Гайкой // регулируют натяжение пружины замыкающего контакта, добиваясь требуемого тока отпадания, затем гайку // закрепляют контргайкой 10. Проверку тока уставок следует производить не менее трех раз, после чего реле опломбировывается. Ток уставки проверяют при питании от регулируемого источника синусоидального тока, обеспечивающего плавное регулирование. Ток измеряется амперметром электромагнитной системы класса точности не ниже 0,5 и с пределом измерения не более 300 А. Проводить какие-либо регулировки без проверки уставок запрещается. При ТО-3 необходимо: произвести внешний осмотр реле, убедиться в отсутствии механических повреждений, проверить наличие провалов и растворов контактов, наличие пломб. При ТР-1 необходимо выполнить проверку реле на соответствие техническим данным и при необходимости произвести регулировку и чистку контактов.
Реле времени РЭВ-811, РЭВ-882 и РЭВ-884. Реле времени применяют для замедления срабатывания некоторых элементов электрической схемы. Работа этих реле основана на том, что при включении в цепь постоянного тока катушки с самоиндукцией ток и сила притяжения электромагнита, на сердечник которого надета эта катушка, нарастают не мгновенно, а с какой-то выдержкой времени. При отключении питания катушки реле спад тока и соответственно тягового усилия электромагнита происходит тоже с выдержкой времени.
Реле РЭВ — электромагнитное реле времени клапанного типа, на основании которого укреплен магнитопровод 2 подковообразной формы (рис. 210). На одной стороне его закреплено демпферное медное кольцо 1, на другой — включающая катушка 3. Демпферное кольцо задерживает спадание магнитного потока, обеспечивая тем самым требуемую выдержку времени отпадания якоря после отключения катушки. Чтобы исключить прилипание якоря, к нему приклепана немагнитная прокладка. В нижней части к основанию реле крепят блокировочные неподвижные контакты 4, а подвижные мостиковые контакты укреплены на якоре 6 с помощью изоляционных кронштейнов 5. Регулировку выдержки времени реле производят натяжением пружины 7 (плавная регулировка), а также изменением толщины немагнитной прокладки (грубая регулировка). Выдержка времени при

Рис. 210. Реле времени РЭВ
отключении катушки РЭВ-8.11 (по схеме РВП) равна 0,25—1 с; реле РЭВ-882 (по схеме РВК) — 7—12 с, а реле РЭВ-884 (по схеме РВФ) — от 5 до 9 с. Реле РЭВ-811 и РЭВ-882 имеют одну пару замыкающих и одну размыкающих контактов, а реле РЭВ-884 —по две пары. Масса реле РЭВ-811—2 кг, а реле РЭВ-882 и РЭВ-884 — по 6 кг. Остальные технические данные реле одинаковы:
Номинальное напряжение ПО В
Провал контактов, не менее 1,5 мм
Раствор замыкающих контактов 4 мм
Раствор размыкающих контактов 3,5 мм
Нажатие начальное 0,7 1 Н
(0,07—0,1 кгс)
Нажатие конечное ' '.2 Н
(0,1—0,12 кгс)
Погрешность реле при напряжении, равном
60% номинального, и температуре 15—
25°С ±10% Реле РЭВ-811 регулируется на время срабатывания 0,5—1 с; РЭВ-882 — 8—10 с, а реле РЭВ-884 — 7—8 с.
Коммутационная способность контактов реле характеризуется следующими
данными:
При напряжении 400 В переменного тока
Ток включаемый 80 А
Ток, разрываемый при индуктивной нагрузке 10 А
Ток, разрываемый при омической нагрузке 15 А При напряжении 110 В постоянного тока
Ток включаемый 15 А
Ток, разрываемый при индуктивной нагрузке 2,5 А
Ток, разрываемый при омической нагрузке 5 А При напряжении 220 В постоянного тока
Ток включаемый '° А
Ток, разрываемый при индуктивной нагрузке 1 А
Ток, разрываемый при омической нагрузке 2 А
Реле Р-101 — промежуточные и применяются в качестве вспомогательных в цепях постоянного тока. Реле Р-101 имеет Г-образный магнитопровод 5 (рис. 211), на сердечнике которого установлена включающая катушка 7. На якоре 3 смонтированы изоляционные планки 2 для крепления контактных мостиков /. Регулировка реле осуществляется регулировочной пружиной 6 и упорным винтом 4. Реле различных исполнений отличаются друг от друга напряжением включающей катушки, а также числом контактов:
Исполнение реле Р-101.2 Р-101.9 Р-101.1 Р-101.8
Обозначение по схеме ПВВ 1 РТ, РПТ ОС РКБ
ПВВ 2 РО, РОП
Напряжение катушки, В ПО 50 110 50
Число контактов два замыкающих, три размыкающих
один размыкающий
Технические данные контактов реле:
Длительный ток 20 А
Нажатие 2 3 Н
(0,2—0,3 кгс)
Провал (2,5+1) мм
Раствор вертикальных контактов:
верхних 4~- мм
нижних, не менее 1 мм
суммарный зазор, не менее 5 мм
Раствор нижних горизонтальных контактов З^2 мм
Технические данные катушек:
|
Номинальное напряжение, В |
110 |
оО |
|
Длительный ток, А |
0,125 |
0,23 |
|
Провод |
ПЭЛ |
ПЭЛ |
|
0 0,18 мм |
0 0,27 мм |
|
|
Число витков |
10 500 |
5500 |
|
Сопротивление при 20 °С, Ом |
712—810 |
166—189 |
|
Ток срабатывания, А |
0,09—0,095 |
0,18 |
Коммутационная способность контактов характеризуется следующими данными:
Характер нагрузки активная индуктивная
(постоянная времени не более 0,05 с) Нагрузка при напряжении 50 В, А 20 10
Нагрузка при напряжении 110 В, А 10 5
Регулировка реле осуществляется по токам включения. При регулировке ток включения проверяют не менее трех раз. Регулировку производят изменением натяжения пружины 6 и при необходимости упорным винтом 4 с повторной регулировкой раствора и провала контактов в соответствии с техническими данными. Для регулировки используют источник выпрямленного по двухполупериодной схеме напряжения с плавной регулировкой от 0 до 100 В. Регулировочные гайки фиксируют контргайками и наносят риски красной эмалью ГФ-92-ХК-
Промежуточное реле Р-306 — (по схеме КВЗ, КНТ, БК) конструктивно выполнено на базе контакторов КМ с той разницей, что силовая контактная система с дугогасительным устройством заменена на такие же блок-контакты, как и на нижнем конце якоря. Реле имеет Г-образный магнитопровод 4 (рис. 212), на сердечнике которого установлена включающая катушка /. На якоре 2 смонтированы изоляционные траверсы 6 для крепления подвижных контактов 7. Регулировка


Рис. 213. Реле промежуточное РП-23
Рис. 212. Реле Р-306
осуществляется пружиной 5 и упорным винтом 3. Реле Р-306.4 имеет три замыкающих и один размыкающий контакт, реле Р-306.16 — один замыкающий и три размыкающих контакта, реле Р-306.1 — четыре замыкающих контакта. Технические данные реле Р-306:
Ток срабатывания 0,065—0,071 А
Номинальное напряжение 110 В
Длительный ток 0,09 А
Число витков 14 100
Марка и диаметр провода ПЭЛ 0 0,2 мм
Сопротивление при 20 °С 893—1015 Ом
Длительный ток контактов 20 А
Раствор верхних контактов 8—12 мм
Раствор нижних контактов 5—7 мм
Нажатие контактов 1,6—2,2 Н
(0,16—0,22 кгс)
У реле Р-306.16 для двух размыкающих контактов длительный ток равен 40 А. Регулировка реле аналогична регулировке реле Р-101.
Промежуточные реле РП-23 (по схеме ПНФ, РКО, РТВ, РРУ, ПРК) применяются в цепях постоянного тока в качестве вспомогательных. Магнитопровод реле состоит из скобы 6 (рис. 213), сердечника 2 и якоря 3. При возбуждении катушки / подвижные мостиковые контакты 4 замыкаются с неподвижными 5. Все детали реле смонтированы на основании 7 и закрываются кожухом 8. Реле имеет четыре замыкающих и один размыкающий контакты.
Технические данные реле РП-23:
Номинальное напряжение 110 В Номинальная потребляемая мощность катушки, не более 6 Вт Напряжение срабатывания, не более 77 В Число витков катушки 15 200
Провод ПЭВ-1 0 0,11 мм
Сопротивление при 20 °С 2400 Ом
Раствор контактов, не менее 2,5 мм
Провал контактов 0,7—1 мм
Нажатие контактов, не менее 0,15 Н (0,015 кгс) Длительный допустимый ток замыкания
контактов 5 А
Масса 0,7 кг
Максимальный ток размыкания реле без самоиндукции составляет 1 А при напряжении постоянного тока 220 В и 5 А при напряжении 110 В, а для реле с самоиндукцией (постоянная времени не более 5 • 10_3 с) —соответственно 0,5 и 4 А.
Реле выпускают с завода отрегулированными, поэтому перед включением в работу они не требуют специальной регулировки. В процессе эксплуатации периодически осматривают контакты реле и при необходимости зачищают их. Зачистку производят острым лезвием ножа или надфилем, легко соскабливая нагар, и затем удаляют металлическую пыль.
Запрещается производить зачистку контактов наждачной бумагой или другим абразивным материалом, а также следует избегать касания контактов пальцами.
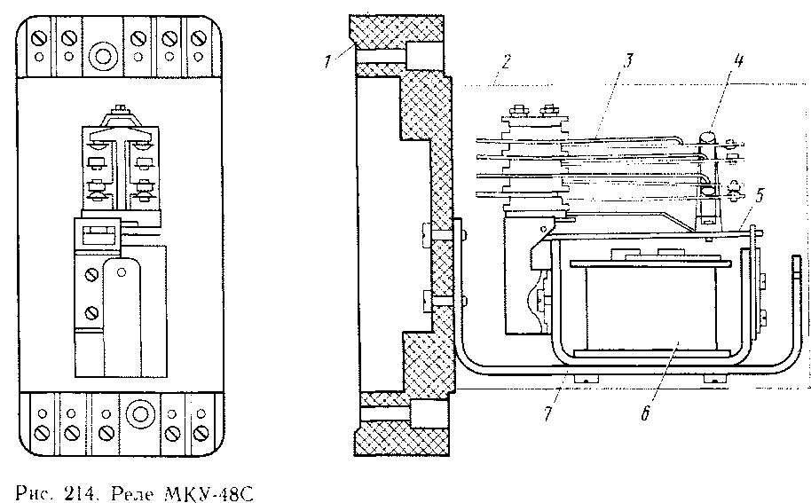
Реле МКУ-48С (по схеме ПТВ1-ПТВ4, РН1, РН2, РМН, последнее на моторном вагоне) предназначено для коммутации электрических цепей при напряжении до 220 В постоянного и переменного тока частотой 50 Гц при температуре окружающего воздуха от —50 до +50 °С и относительной влажностью 70%. Реле состоит из П-образного магнитопровода 7 (рис. 214) с плоским сердечником, на котором установлена включающая катушка 6. На конце якоря 5 укреплена пластмассовая стойка 4 с поперечными перекладинами, заходящими в промежутки между пальцевыми контактами. Блок-контакты 3 выполнены в виде набора пластин, на одном конце которых напаяны серебряные контакты. К другому концу пластин подсоединены монтажные провода. При срабатывании реле вертикальная стойка изгибает подвижные пальцы блокировки, производя соответствующие переключения.
Весь механизм укреплен на пластмассовом основании / и закрывается пластмассовым корпусом 2.
Реле имеет по два замыкающих и размыкающих контакта. Длительный ток контактов реле равен 5 А, время срабатывания — не более 0,06 с. Потребляемая мощность в цепи постоянного тока не более 3 Вт, в цепи переменного тока — не более 7 В - А.
При напряжении до 220 В и индуктивной нагрузке до 2 мГн разрывная мощность контактов в цепи постоянного тока не более 50 Вт, в цепи переменного тока — не более 500 В • А. Масса реле 0,6 кг.
Основные технические данные втягивающей катушки реле следующие:
Обозначение реле по схеме РН2 ПТВ1-ПТВ4, РМН РН1 Род тока постоянный переменный
Номинальное напряжение, В 24 48 220
Напряжение срабатывания, В 20 40 " 187
Сопротивление при 20 °С, Ом 510 1 900 2 700
Число витков 5500 10 000 12 000
Электромагнитные реле РЭВ-261 применяют в качестве реле напряжения в установках переменного тока частотой 50 Гц. Номинальное напряжение реле составляет 127 или 220 В.

Технические данные реле РЭВ-261:
Обозначение по схеме РНФ РН, РНВ1, РНВЗ
Номинальное напряжение, В 127 220
Провод ПЭВ ПЭВ
Диаметр провода, мм 0,33 0,25
Число витков 1250 2700
Сопротивление при 20 °С, Ом 51 ±1 156±1
Напряжение включения, В 110=1=3 165+5
Мощность, потребляемая реле с катушкой, при отключенном якоре равна 100 В • А, а при притянутом якоре — до 32 В • А.
Реле выпускают с одним замыкающим и одним размыкающим контактами, допускающими переборку.
Характеристика контактов:
Номинальный ток 10 А
Провал не менее 5 мм
Раствор контактов размыкающих не менее 3,5 мм
» » замыкающих не менее 4 мм
Нажатие начальное не менее 0,7 Н
(0,07 кгс)
» конечное не менее 0,9 Н
(0,09 кгс)
Коммутационную способность контактов характеризуют такие данные:
Род тока переменный постоянный Напряжение, В 380 ПО 220 Ток включаемый, А 50 10 э Ток, разрываемый при индуктивной нагрузке, А 10 2 0,8 Ток разрываемый при омической нагрузке, А 10 4 2
Регулировку реле осуществляют изменением затяжки отключающей пружины или изменением положения упорного винта якоря.
Во время осмотра реле нужно убедиться в отсутствии заедания подвижных частей, оценить состояние регулировочной пружины, правильность положения указателя уставки, сохранность пружинных шайб и шплинтов, состояние контактов и короткозамкнутого витка на керне магнитной системы. Зачищать контакты следует надфилем. Контакты всегда должны быть сухими.
Реле при нормальной работе создает легкий шум, подобный гудению трансформатора. Сильное гудение указывает на неисправность реле: поломку коротко-замкнутого витка, наличие недопустимых зазоров в магнитной системе и т. п.
Электромагнитные реле РЭВ-202 (по схеме РЗ и РПО) применяют в установках переменного тока 50 Гц. Это мгновенное реле максимального тока с ручным возвратом. Реле выпускают с одним замыкающим и одним размыкающим контактами, допускающими переборку.
Технические данные реле РЭВ-202:
Номинальный ток втягивающей катушки Ток срабатывания:
реле РПТ
реле РЗ
Собственное время срабатывания реле Точность срабатывания Провал контактов Раствор контактов Нажатие начальное
Нажатие конечное
40 А
(85±5) А (50±5) А 0,04—0,08 с 10%
не менее 1.5 не менее 4 мм не менее 1 Н (0,1 кгс) не более 3,6 Н (0,36 кгс)
Коммутационную способность контактов характеризуют следующие данные:
Допустимый длительный (постоянный или переменный) ток 20 А
Допустимый (постоянный) разрываемый в индуктивной цепи ток при напряжении:
ИОВ 2,5 А
220 В 1 А
Допустимый переменный ток напряжением 380 В:
разрываемый 20 А
включаемый 100 А

Правила эксплуатации реле те же, что и у реле РЭВ-261.
Реле РУ-21/110 и РУ-21/48 (по схеме БС, БТМ, БТН, РМН, последнее на головном вагоне) променяют в качестве сигнальных в цепях постоянного тока для определения вагона, в котором возникла та или иная неисправность оборудования. При нажатии на кнопку Бленкер, установленную на пульте управления,
Рис. 215. Реле сигнальное РУ-21/110


на неисправном вагоне получает питание катушка / (рис. 215) сигнального реле. Якорь 9, притягиваясь к сердечнику, освобождает защелку 3, и контактная группа под действием противовеса 6 поворачивается против часовой стрелки, замыкая контактный мостик 5 с неподвижным контактом 8 (с противоположной стороны происходит размыкание). При этом выпадает сигнальный флажок 7. Все детали реле установлены на основании /. Реле закрывается кожухом из оргстекла, который крепится винтом к упору 4. Восстановление реле ручное. Нажатием кнопки на кожухе контактная группа поворачивается по часовой стрелке и встает на защелку 3, при этом якорь 9 под действием пружины 10 находится не в притянутом состоянии. Реле имеет один замыкающий и один размыкающий контакт. Технические данные реле:
Тип реле РУ-21/110 РУ-21/48 Номинальное напряжение, В 110 48 Напряжение срабатывания, В, не более 66 29 Потребляемая мощность, Вт 1,75 1,75 Сопротивление катушки. Ом 7 500 1 440 Провод катушки ПЭЛ ПЭЛ Диаметр провода, мм 0,07 0,11 Число витков 32 000 14 000 Разрывная мощность контактов при 220 В и токе 2 А в цепи постоянного тока с индуктивной нагрузкой, Вт 50 50 Масса, кг 0,4 0,4
Чистить контакты следует только мягкой тканью. Не рекомендуется смазывать оси и подшипники реле. Следует избегать касания контактов пальцами.
Тепловое реле ТРТП (по схеме ТРЗ...ТР12) предназначено для защиты электродвигателей переменного тока от перегрузок. Оно смонтировано в пластмассовом корпусе 15 (рис. 216). Термобиметаллические пластинки 16 реле имеют У-образную форму и посажены на ось 2, закрепленную в скобе /. На правый конец пластины 16 опирается цилиндрическая витая стальная пружина 14, другой конец которой соединен с изоляционной колодкой 9, несущей на себе подвижной контактный мостик 12. Левый конец пластины 16 через ролик 3 соединен с механизмом уставок 5, 6 и 7, позволяющим регулировать ток срабатывания изменением натяга
биметалла. Для фиксации тока уставки служит сектор 8. При достижении тока срабатывания правый верхний конец пластины 16 отклоняется вправо и через пружину 14 поворачивает колодку 9, размыкая контакты // и 12. Возврат реле производится вручную нажатием на кнопку 10. Провода к реле подключаются к зажимам 4 и 13.
Технические данные реле:
Тип реле ТРТП-114 ТРТП-115 ТРТП-137
Нормальный ток, А 5 7 56
Положение механизма уставки —3 0 _3
Длительный ток контакта при ПО В постоянного
тока, А 111 Время срабатывания при температуре окружающей среды +40 °С и рабочем токе, равном 6-кратному току уставки, при включении в холодном
состоянии, с 2 2 3
То же, при включении после длительного протекания тока уставки, с 0,4 0,4 0 6 Масса, кг (У22 0^22 о'.22 Реле ТРТП допускает регулировку уставки в пределах ±15% номинального тока. Ток уставки меняется примерно на 3,5% на каждые ±10 °С изменения температуры окружающей среды. Реле в нормальных условиях эксплуатации не требует специального ухода. Завод-изготовитель поставляет откалиброванное реле, полностью собранное, но без запасных частей. Перекалибровка реле, его разборка и сборка, а также ремонт в эксплуатации не допускаются. При неисправности реле подлежит замене. При регулировке включение реле необходимо производить в холодном состоянии, а также проверить отсутствие самовозврата и ручной возврат.
Термоконтакт с легкоплавкой вставкой А14 (по схеме Т31—Т38) предназначен для отключения питания электрического отопления вагонов при значительном повышении температуры в вентиляционном канале в месте установки калориферов. Работа термоконтакта основана на свойстве легкоплавкого сплава разрушаться при заданной температуре. При достижении температуры + 105-f- + 125 °С контакт / (рис. 217) размягчается и разрывается листовыми пружинами 3. Для восстановления необходимо вставить новый контакт. Контакт изготовлен из сплава свинца (33%), олова (33,5%) и висмута (33,5%). Вместо готового контакта разрешается контактные пластинки 2 соединять проволокой такого же сплава с последующим формированием головок контакта. На основании 4 размещены контактные зажимы 5, к которым подводят провода контролируемой цепи. Технические данные термоконтакта следующие: предел контролируемых температур составляет 105—125 °С; разрывная мощность контактов при напряжении 50 В постоянного тока равна 150 Вт. Термоконтакт имеет один размыкающий контакт. В процессе эксплуатации термоконтакт осматривается при ТО-3 и ТР-1. При этом необходимо протереть основание 4 салфеткой, смоченной в бензине, и осмотреть его состояние; при наличии сколов, трещин, следов перегрева корпус заменить; осмотреть и убедиться в целости контактных пластин и листовых пружин. При наличии погнутостей, трещин или отсутствии упругих свойств пружины заменить ее.
Термоконтакт в собранном виде, без контакта /, должен обеспечивать зазор не менее 4 мм между контактными пластинками 2 и пружиной 3.
При отсутствии данного зазора разрешается подгиб свободного конца пружины. Контактные пластинки в верхней части должны плотно прилегать друг к другу. Зазоры между ними не допускаются.
|
|