
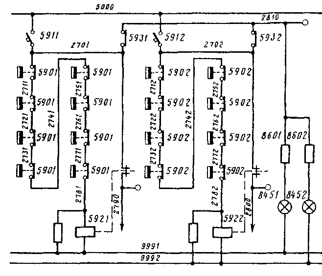
Рис. 41. Цепи сигнализации перегрева подшипников редукторов тяговых двигателей и открытия дверей между секциями на электровозах № 76 — 150
1 (4), провод 274. контакты плавких вставок предохранителей 590 тележки 2 (3), провод 278. катушка реле 592, провод 999.
При повышении температуры подшипника редуктора ТД расплавляется плавкая вставка предохранителя 590. и реле 592 отключается. При замыкании обратных блок-контактов реле 592 получает питание сигнальная лампа а4 на панели 827 (828) по цепи: обратные блок-контакты реле 592, провод 2790 (2800). зажим а4 сигнальной лампы (см. рис. 39).
Во избежание попадания снега, ныли в машинное отделение запрещается эксплуатация электровоза с открытой дверью между секциями и открытой дверью в машинное отделение. При открытой двери между секциями на электровозах с № 41 получает питание сигнальная лампа 845 (расположена на стенке шкафа блока 750) по цепи (см. рис. 41): АЗВ 591, провод 270, концевой выключатель 593. провод 2810, oq■>aни-чивающий резистор 860, сигнальная лампа 845, провод 999. На электровозах до № 41 об открытии дверей сигнализирует лампа 834 (см. рис. 39) на пульте управления
|
|