Универсальные переключатели УП5300 являются нерегулируемыми командными аппаратами и служат: УП5314-С398 — для переключения ППТ; УП5316-Е139 — для разъединения цепей управления (РУМ); УП5317-Л137 — для переключения освещения сигнальных ламп на пониженное напряжение.
Универсальный переключатель состоит из набора секций 3 (рис. 172), стянутых шпильками 2. Через все секции проходит центральный валик /, на конце которого укреплена пластмассовая рукоятка 4.
Каждая секция (рис. 173) состоит из правого 10 и левого 6 подвижных контактов с роликами, неподвижного контакта 8, укрепленного на изоляционной рейке 9. Секции изолированы друг от друга пластмассовыми перегородками 13. На главном валу 5 укреплены три пластмассовые кулачковые шайбы 7. Неподвижные контакты, приваренные к скобам, укреплены на гетинаксовой рейке, которая стягивает переднюю и заднюю стойки аппарата. Два подвижных контактных пальца с металлокерамическими контактами соединены с выводными зажимами 12 гибкими ленточными шунтами //.
Замыкание и размыкание контактов каждой секции осуществляется кулачковыми шайбами. Одна из крайних шайб секции предназначена для включения левого контактного пальца, другая —- для включения правого пальца, средняя — для отключения пальцев.
Универсальные переключатели отличаются от других командоаппаратов тем, что жесткая система включения и отключения контактных пальцев является наиболее надежной в работе.
Технические данные переключателей: Тни переключателя УП5314-С398 УИ5316-ЕІ39 УП53І7-Л137
Номинальное напряжение, В 110 Род тока постоянный Длительный ток, А 16 16 16
Число секций 8 12 16
Число положений 3 3 о
Механическая пзносо\стойчи-
вость (число переключений) 1000 000
Масса, кг 1,85 2,9 2,75
Выключатель ВУ. Низковольтные выключатели ВУ с ручным приводом применяют в качестве оперативных в цепях управления. Выключатели однополюсные рычажного типа с мгновенным разрывом контактов.


Рис. 174. Выключатели ВУ-223А (а) и ВУ-226 (б)
Выключатель ВУ-223А применен в цепи стеклообогрева, ВУ-226 — в цепях управления дверьми, выключения автостопа и дополнительного обогрева кабины. Технические данные выключателей:
Тип выключателя ВУ-223А ВУ-226
Род тока постоянный
Номинальное напряжение, В 250 250
Наибольший допустимый ток, А 20 20
Раствор контактов, мм 14—17 16—17
Нажатие на контакт, кгс 0,25—0,45 0,25—0,4
(Н) (2,5-4,5) (2,5-4,0)
Масса выключателя, кг 0,74 0,45
Выключатель ВУ-223А (рис. 174) имеет изолированный корпус 5, в котором вмонтировано контактное устройство. Размыкание и замыкание подвижного и неподвижного контактов 4 производится с помощью рукоятки 7. Для гашения возникающей при этом дуги имеется дугогасительная камера 3 с катушкой 2.
В корпусе выключателя установлен предохранитель 6, защищающий коммутируемую выключателем цепь от коротких замыканий. Корпус закрыт крышкой / из изоляционного материала.
ВУ-226 выполняется с одним подвижным и двумя неподвижными контактами. В конструкции отсутствуют дугогасительная катушка и предохранитель1.
В процессе эксплуатации при каждом третьем ТО-3 необходимо проверить состояние контактов. При наличии подгаров контакты зачищают. Шунты, имеющие обрыв и сломанные контактные пружины, заменяют новыми.
Выключатель ВК300А. Выключатель ВКЗООА предназначен для блокировки дверей высоковольтных шкафов (кроме шкафа № 3 моторного вагона) и лестницы для подъема на крышу.
1 Выключатель ВУ22-ЗБ-2 рассчитан на номинальный ток 40 А; выключатель ВУ22-2Б8 рассчитан на напряжение ПО В; назначение их аналогичное. Выключатель ВК-300ГА рассчитан на напряжение 110 В.
Выключатель имеет электрически не связанные между собой один замыкающий и один размыкающий контакты с двойным разрывом цепи. Срабатывание происходит под воздействием управляющего упора (кулачка).
Технические данные выключателя ВКЗООА:
Номинальное напряжение 220 В
Номинальный ток 6 А
Ход рабочий 12е
Ход полный 22±2С
Масса 1,035 кг
Выключатель состоит из основания 9 (рис. 175), на котором укреплен с помощью четырех винтов 25 корпус 5. Корпус надежно заземлен проводом сечением не менее 2,5 мм2, присоединенным к винту заземления 26.
В металлическом корпусе 5 на изоляционных колодках, которые изолированы от корпуса прокладками из электрокартона, расположены неподвижные контакты 4. Между колодками помещен пластмассовый рычаг 2 с армированной в пластмассу стальной осью 11, которая служит для удержания рычага в корпусе и неподвижного соединения его с приводным рычажным механизмом. На рычаге 2 помещены изолированные друг от друга контактные мостики 3 (подвижные контакты) в сборе с контактной пружиной.
Приводной рычажный механизм состоит из рычага 7 с роликом 6, посаженным на шлицевый валик 15, имеющий уплотнение 16. Шлицы на валике служат для установки рычага 7 в разные положения относительно валика. Фиксируется валик с помощью пробки 17. Валик 15 скреплен штифтом с сухарем, входящим в разрез свободно вращающегося на валике поводка 13. На поводок надеты плас-

Рис. 175. Выключатель ВКЗООА (вид слева дан со снятым основанием 9, а вид справа — со снятой крышкой 19)
тинчатые пружины 21, передающие вращение валика поводку и обеспечивающие дополнительный ход выключателя.
В поводке 13 имеются пружина 14 и шарик 12, опирающийся на поверхность планки 23. При нажатии на рычаг 7 движение передается поводку, который, перемещаясь, нажимает на одну из собачек 24, выводя ее из зацепления с планкой 23, а пружина 14 через шарик 12 своим давлением поворачивает планку, а с ней рычаг 2 с контактными мостиками. Происходит мгновенное срабатывание выключателя.
При переключении в новое положение система удерживается второй собачкой 24. Возвращается система в исходное положение при снятии усилия с рычага 7 с помощью возвратной пружины 22.
Со стороны контактов аппарат закрывается крышкой 19, которая крепится четырьмя винтами 8. Между корпусом и основанием помещена прокладка 10 из маслобензостойкой резины, а между корпусом и крышкой — прокладка 18.
Вводятся провода через отверстие в кожухе аппарата, закрываемое при транспортировке пробкой 20. Провода присоединяются к контактным зажимам /. Сопротивление изоляции выключателя и подводящих проводов, измеренное мега-омметром при напряжении 500 В, должно быть не менее 1 МОм. При снижении этого сопротивления на 30% необходимо изоляцию повысить.
Перед установкой выключателя необходимо выполнить следующие работы: проверить целость аппарата; подтянуть винтовые соединения; испытать четкость его срабатывания (от руки); выявить соответствие направления работы привода выключателя и управляющего упора.
Выключатель устанавливается в следующем порядке: необходимо установить требуемый угол наклона рычага, для чего, ослабив пробку 17, снимают рычаг 7,
установив его в требуемое положение, и завинчивают пробку. После снятия крышки аппарата вывинчивают пробку 20, вводят провода в отверстие выключателя и производят монтаж проводов. Выключатель устанавливают на место; проверяют четкость срабатывания и возврата выключателя под действием управляющего упора; устанавливают крышку на корпус и подсоединяют заземляющий провод к зажиму на корпусе выключателя. Во время каждого шестого ТО-3 аппарат очищают от пыли, грязи; проверяют целость рычажно-роликовой системы, затяжку винтов крепления и четкость срабатывания и возврата механизма аппарата.
При каждом третьем ТР-1: вскрывают крышку аппарата; производят демонтаж проводов; протирают тряпочкой, смоченной в бензине или растворителе, подвижные и неподвижные контакты и насухо вытирают; с пластмассовой коробки снимают нагар; проверяют целость планки собачек, пружин, четкость срабатывания и возврата подвижной системы; на места, обозначенные буквой «С» (см. рис. 175), наносят тонкий слой смазки ЦИАТИМ-201. Попадание смазки в контактный отсек аппарата

не допускается; производят электрический монтаж, изменяют полярность проводов на противоположную; закрывают крышку аппарата.
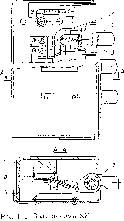
Выключатели КУ. Выключатели КУ-5-162 и КУ-9-164 предназначены для коммутации низковольтных цепей поезда (отопление кабины, освещение пульта, отопление и вентиляция, вспомогательный компрессор, выключение блока К и т. д.).
Выключатели (рис. 176) состоят из набора рукояток включений. На общем валике 7 расположены рукоятки 3, в прорезях которых укреплены подвижные контакты 2 перекидного типа, прижимаемые пружиной 4. Подвижные контакты соединяются с выводными клеммами 13 гибкими проводниками 12. На изоляционной планке 14 укреплены неподвижные контакты .9 и выводные клеммы. Все рукоятки находятся в корпусе 10, закрытом сверху крышкой 8. На корпусе около каждой рукоятки укреплена табличка // с наименованием цепи, включаемой данной рукояткой. Выключатели имеют также съемную блокирующую рукоятку /, при повороте которой валик 5 своими пальцами 6 блокирует необходимые рукоятки.
При повороте рукоятки «Включено», когда осевая линия рукоятки пересечет продольную ось пружины, подвижный контакт мгновенно перекинется и замкнется с неподвижным.
Отдельные рукоятки не имеют фиксированного включенного положения. Такие рукоятки под действием дополнительной пружины возвращаются в исходное положение.
Технические данные выключателей:
Тип выключателя К\-5 КУ-9
Номинальное напряжение. В 110 Длительный ток контактов, А 15 Усилие включения рукоятки, 1,2 1.7
кге (Н) " ,12- 17)
Разрыв контактов, мм ч Давление контактов, МПа
(кгс/см2) »3.5--5.5)10 -' (0,35- 0,55)
Число рукояток включения 5 9
Масса, кг 5 6,5
Выключатели должны содержаться в чистоте.
При ТО-3 и ТР-1 контакты осматривают. Подгоревшие, закопченные контакты зачищают личным напильником.
Особое внимание следует обращать на четкость работы подвижного контакта при включениях и отключениях. Неисправную пружину необходимо заменить новой.
Шунты, имеющие обрыв или обгар жил свыше 20% сечения, заменяют. Гайки, болты надежно затягивают, особенно в местах, являющихся электрическим контактом. При заедании контакта рукоятку заменяют.
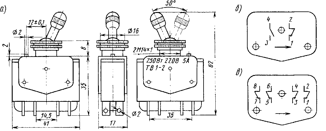
Переключатели мгновенного действия TBI. Переключатели мгновенного действия ТВ1-1 и ТВ1-2 (рис. 177, а, б, в) применяют в устройствах автоматики для коммутации электрических цепей управления и сигнализации.
Переключатели мгновенного действия применены в качестве следующих выключателей: освещение, освещение кабины, маршрутный фонарь, сигналы верхние — нижний, буферные фонари, радиосвязь. ЭПТ, освещение скоростемера Вк и Дз. v v ,
Переключатель ТВ1-1 имеет один размыкающий и один замыкающий контакты, ТВ1-2 —два размыкающих и два замыкающих контакта.

Рис. 177. Переключатели ТВ1-1, ТВ1-2 (а) и схемы их коммутации (б, в) Технические данные переключателей:
Тип переключателя ТВЫ Т^1'2
Номинальный ток, А э *
Номинальное напряжение, В . 220 221
Отключаемая мощность, Вт 250^ 220^
Износоустойчивость (число переключений) 10 10
Масса/кг 0.035 0,035
Кнопка КУ-1м. Кнопка управления КУ-1М (рис. 178) предназначена для дистанционного управления электромагнитными аппаратами постоянного тока. Кнопки установлены в цепях управления дверями (кнопка звонка) и «Контроль БЗМН».
Технические данные кнопки КУ-1М:
Номинальный ток 6 А
Раствор контактов 2,5 мм
Провал контактов 1 мм
Масса °.13 кг
Для установки кнопки на панели необходимо: снять обод с кнопки; кнопку с пружиной вставить в панель с тыльной стороны; нажимая на корпус, сжать пружину; надеть обод, повернув его так, чтобы выступы обода вошли в пазы трубки кнопки. Выступ на ободе должен быть зафиксирован в углублении панели.
Во время технического обслуживания необходимо следить за чистотой поверхности прилегания контактов. Изношенные контакты заменяют запасными. Не допускается смазывать контактные поверхности, заменять серебряные контакты медными.
Пакетно-кулачковые переключатели ПКП. Пакетно-кулачковые переключатели ПКП предназначены для коммутации электрических цепей. Они устанавливаются в кабине машиниста и служат: ПКП25-6-96-1 —для переключения режимов обогрева стекол кабины, ПКП25-6-2-1 —для включения лампы прожектора.
Переключатели ПКП открытого исполнения, утопленные, крепление выполнено со стороны рукоятки.
Технические данные переключателя ПКП:
Род тока постоянный Напряжение 110В Номинальный ток 25 А Площадь сечения подводящих проводов 2,5—10 см2 .Механическая износохсгойчивость, переключений 10'' Число контактов:
ПКП25-6-2-1 4
ПКП25-0-96-1 14
Пакетно-кулачковые переключатели представляют собой сборную стянутую шпильками конструкцию, состоящую из узла фиксации и однотипных пластмассовых корпусов с контактными системами. Подвижные контакты приводятся в действие кулачками, насаженными на общий металлический валик квадратного сечения.
Аппарат имеет панель (основание) для крепления и рукоятку. Поворотом рукоятки приводятся в действие вал и кулачки коммутирующих устройств, которые обеспечивают замыкание и размыкание контактов по заданной диаграмме. Коммутирующее устройство состоит из корпуса, кулачка, контактной пружины, толкателя, контактного мостика, неподвижных контактов, вкладыша, дугогасительных камер. Контактные накладки металлокерамические. Особенностью конструкции пакетно-кулачковых переключателей является выполнение неподвижных контак-

тов в виде петли, что способствует улучшению процесса дугогашения, и использование вкладышей, позволяющих сократить неодновременность размыкания контактов.
Пакетные выключатели и переключатели ПВ и ПП. Пакетные выключатели и переключатели применяют в качестве коммутационных аппаратов с ручным приводом.
Выключатели ПВЗ-10 установлены в цепях «Откл. ВВ», дежурного освещения, «Откл. СОВ», освещения под вагоном, отопления, СМК, контроля изоляции, электрокомпрессора и др.
Выключатель ПВ2-25 включает Обогрев маслоотделителя. Переключатель ПП2-25/Н2 включает двигатель вспомогательного компрессора. Переключатели ППЗ-10/Н2 установлены в цепях: питания АЛС, вольтметра аккумуляторной батареи, обогрева бака туалетной. Выключатель ПВ2-10 включает освещение.
Технические данные выключателей:
Тип выключателя ПВ2-10 ПВЗ-10 ПВ2-25 ПП2-25/Н2 ППЗ-10/Н2
Напряжение, В ПО ПО НО ПО 110
Номинальный ток, А 10 10 25 25 10
Число полюсов 2 3 2 2 3
Масса, кг 0,16 0.175 0,525 0,6/о 0,23
Пакетные выключатели и переключатели (рис. 179) состоят из двух основных узлов: контактной системы 4 и переключающего механизма. Контактная система набирается из отдельных секций, каждая из которых состоит из изолятора 8. В пазах изолятора находятся неподвижные 3 и пружинящие подвижные контакты 2 с фибровыми искрогасительными шайбами /. Отдельные секции собирают в пакет, набирают на скобе 7 и крепят стяжными шпильками.
Переключающий механизм расположен над контактной системой в крышке аппарата. Он состоит из заводной пружины, валика 5 с'рукояткой 6, пружинной шайбы (упора) и четырех фиксирующих выступов, расположенных под углом 90" один к другому," что определяет четыре коммутационных положения. Это позволяет вращать рукоятку и подвижную систему аппарата в обе стороны. Поворот валика 5 вызывает вращение переключающего валика 9.
|
|