Переключатель 437 отопления и кондиционирования имеет следующие положения: 1 — "Выключено"; 2 — "Вентиляция"; 3 — "Отопление 1/2"; 4 — "Отопление 1/1"; 5—"Отопление автомат 1/2"; 6 — "Отопление автомат 1/1"; 7—"Кондиционер вручную"; 8 — "Кондиционер автоматически".
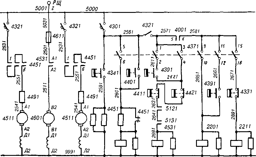
Для привода вентилятора, который при включении нагревательных элементов нагнетает подогретый воздух, а при включении кондиционера — охлажденный воздух, имеется двигатель 4511, получающий питание по цепи (рис. 35): АЗВ 4321, провод 2531, контакты контактора 4451, расположенного в шкафу под выключателем 566 батареи, провод 2551, резистор 4491, провод 2541, выводы А1 — А2 двигателя вентилятора 4511.
Для привода компрессора кондиционера и вентилятора охлаждения конденсатора установлен двигатель, который получает питание по цепи: вывод 2 РЩ 5001, провод 5031, предохранитель 4611 в шкафу под выключателем батареи, контакты А1 —А2 контактора 4531, выводы В1 —В2 двигателя кондиционера 4601.
При постановке переключателя 4371 в положение 2 образуется цепь: АЗВ 4301, провод 2561, контакты 5 — 6 переключателя 4371,

Рис. 35. Цепи управления контакторами отопления кабины машиниста на электровозах с № 111
провод 2601, блок-контакты контактора 4451, катушка контактора 4451, провод 9991. После включения контактора 4451 в цепь его катушки вводится резистор.
В положении 3 переключателя, кроме контактов 5 — 6, замкнуты его контакты 9— 10. В результате создается цепь: АЗВ 4301, провод 2561, дополнительные контакты АЗВ 4321, провод 2571, блок-контакты 5 — 6 контактора 4001, провод 2581, контакты 9 — 10 переключателя 4371, провод 2651. катушка контактора отопления 2201, провод 9997. После включения контактора 2201 ток начинает проходить через секцию А — С нагревательных элементов 2221 (см. рис. 8 на вкладке).
В положении 4 переключателя 437 замкнуты его контакты 5 — 6, 9 — 10, 15 — 16. При замыкании контактов 15 — 16 образуется цепь (см. рис. 35): провод 2581, контакты 15 — 16 переключателя, провод 2671, контакты термостата 4331, провод 2891, катушка контактора 2211, провод 9991. После включения контактора 2211 ток начинает проходить через секцию В— С нагревательных элементов 2221.
Термостат 4331 при нагреве воздуха в подводящем канале до 80 — 90 °С разрывает цепь питания контактора 2221.
В положении 5 переключателя 437 замыкаются его контакты 5 — 6, // — 12, и через контакты термостата 4391, размыкающиеся при температуре в кабине 16 — 20 °С, подается питание на катушку контактора 2201.
В положении 6 переключателя 437 замыкаются его контакты 5 — 6,11 — 12, 15 — 16. При замыкании контактов 5 — 6 включается
контактор 445 двигателя вентилятора; при замыкании контактов / / — 12 и контактов термостата 439 включается контактор отопления 220, при замыкании контактов 15— /6 и контактов термостата 433 — контактор отопления 221. При нагреве воздуха в подводящем канале до 80 — 90 °С контакты термостата 433 разрывают цепь питания катушки контактора 221.
При постановке переключателя 437 в положение 1 все его контакты размыкаются, но контактор 445 получает питание по цепи: АЗВ 4301, контакты термостата 4401, провод 2601, катушка контактора 4451. При снижении температуры в камере нагревательных элементов до 60 — 70 °С термостат разрывает цепь питания контактора 445, и вентилятор прекращает работу. Если температура воздуха в камере превысит 180—200 °С, защитный термостат 4341 замкнет цепь, в которую включен резистор 4351, сопротивление которого подобрано так, что происходит отключение АЗВ 4301.
В положении 7 переключателя 437 замыкаются его контакты 3 — 4, 5 — 6. Через контакты 3 — 4 получает питание катушка контактора 453 двигателя кондиционера по цепи: провод 2577, контакты 3 — 4 переключателя 4371, контакты защитного реле давления 4421, размыкающиеся при недостаточном давлении фреона в системе кондиционера, контакты защитного реле давления 4411, размыкающиеся при давлении фреона в системе более 160 кПа, провод 2631, блок-контакты реле индикации работы генераторов управления 5121,5131, катушка контактора 4531. Работа двигателя кондиционера 460 возможна, таким образом, только при включенных ГУ и нормальном давлении фреона в системе кондиционера.
В положении 8 переключателя 437 замыкаются его контакты 7 — 2 и 5 — 6. При этом контактор 4531 получает питание по цепи: АЗВ 4301, провод 2561, дополнительные контакты АЗВ 4321, контакты 1 — 2 переключателя 437, провод 267/, контакты термостата 4391, замыкающиеся при температуре в кабине 16 — 20 °С, провод 2621, контакты реле давления 4421, контакты реле давления 4412, провод 2631, блок-контакты реле 5121, 5131, катушка контактора 4531.
При неисправности двигателя вентилятора 4511 срабатывает АЗВ 4321, контакты которого между проводами 2561 и 2571 разрывают цепь питания контакторов отопления или контактора кондиционера.
|
|