![]() |
Таблица 119 Подключение проводов и установка перемычек
|
|
Ток холостого хода трансформатора СТ-2А должен быть 0,04 Л | трансформатора СТ-3 — 0,025 А.
Реле должно устойчиво срабатывать в схеме с трансформатором СТ-3 при замыкании цепи лампы 15 Вт, 12 В с холодной нитью, напряжении на лампе 4,5 В и испытании на 10 000 включений с частотой 5—10 раз в 1 мин.
Якорь реле не должен залипать при испытании на 600 000 включений и выключений с частотой 15—20 раз в 1 мин при напряжении 220 В в схеме с трансформатором СТ-2А и лампой 25 Вт, 12 В, включенной на зажимы Н-К2.
Измерение электрических характеристик и испытание устойчивости работы реле ОМШ2-46, ОМ2-46 производят при включении реле по схеме, аналогичной схеме измерения электрических характеристик и испытания реле ОМШ2-40, ОМ2-40, но только с заменой трансформаторов СТ-3 на СТ-4 и СТ-2А на СТ-5.
Измерение электрических характеристик и испытание устойчивости работы огневых реле типов ОМШМ-1, АОШ2-180/0,45 АОШ2-1 производятся при включении их по схемам, изображенными соответственно на рис. 128, а, 6, в. Номера выводов, к которым

Таблица 120 Электрические и временные характеристики реле
|
|
* С помощью обмотки 180 Ом реле АОШ2-180/0,45 осуществляется контроль состояния холодной нити светофорной лампы. Данные в табл. 120 для этой обмотки реле приведены при измерении на постоянном токе.
подключаются провода схемы а и б, а также установка необходимых перемычек между выводами в зависимости от мощности светофорной лампы указаны в табл. 119.
В мигающем режиме испытание реле типа АОШ2-180/0,45 про изводится при включении его по схеме, изображенной на рис. 12') Реле должно устойчиво работать при мигающем режиме питании ламп: 1 с — нормальный режим 10 В, или режим двойного снижения напряжения 4,5 В; 0,5 с — не более 1 В.
При испытании данного реле на лампе устанавливают такое напряжение: 10 В — при М | и ДСН | — изменением Uвх; 4,5 В — при М1и ДСН 1 — изменением R1.
Испытания производятся:
Рис. 127. Схема измерения электрических характеристик и испытания реле
ОМШ2-40 и ОМ2-40
—
при нормальном режиме (ДСН Т) и двойном снижении
напряжения (ДСН 4);
— с лампой 15 Вт, 12 В (провод а включают на зажим 21, провод б — на зажим 82); с лампой 25 Вт 12 В (провод а включают на зажим 21, провод б — на клемму 61); с лампой 35 Вт, 12 В (провод а включают на зажим 21, провод б — на зажим 22).
|
|
Таблица 121 Положение ключей при испытании реле
|
|
Рис. 128. Схема измерения электрических характеристик и испытания реле ОМШМ-1, АОШ2-180/0.45 и А0Ш2-1
Испытание реле типа А0Ш2-1 в мигающем режиме производят при включении его по схеме на рис. 130. Реле должно устойчиво работать при мигающем режиме питания ламп: 1 с — нормальный режим 9 В, или режим двойного снижения напряжения 3 В; 0,5 с -1 В.
При испытании реле АОШ2-1 устанавливают следующее напряжение на лампе: 9 В — М 4 и ДСН Т —изменением Um; 3 В — М 4 и ДСН 4 — изменением R1; 1 В — М t и ДСН Т — изменением R2.
Испытания производятся:
— при нормальном режиме (ДСН Т) и двойном снижении напряжения (ДСН 4);
— с лампой 5 Вт, 10 В (перемычка 21—81, провод а включить на зажим 21); с лампой 10 Вт, 10 В (перемычка 41—61, провод а включить на зажим 41).
Электрические характеристики всех огневых реле проверяют приборами класса точности не ниже 1,0 на постоянном токе и не ниже 1,5 на переменном. Проверку времени замедления на отпускание якоря реле типов АОШ2-180/0,45 и АОШ2-1 производят любым методом, обеспечивающим погрешность измерения не более ±10%. Время замедления на отпускание якоря отсчитывают с момента включения тока в обмотках реле до момента размыкания замыкающих (фронтовых) контактов.
Электрическая прочность и сопротивление изоляции. Изоляция всех типов реле должна выдерживать без пробоя испытательное напряжение 2000 В переменного тока частотой 50 Гц, приложенное между всеми токоведущими частями реле и магнитопроводом. Изоляция выпрямителя реле ОМШМ-1 от корпуса должна выдерживать без пробоя испытательное напряжение 1000 В переменного тока частотой 50 Гц.
Испытание электрической прочности изоляции производят путем приложения испытательного напряжения (при мощности испытательной установки не менее 0,5 кВА, дающей практически синусоидальную кривую напряжения частотой 50 Гц) в течение 1 мин+5 с. По-грешность измерения испытательного напряжения не должна превышать ±5%.
Сопротивление изоляции между соседними электрически не связанными токоведущими частями любого типа реле, а также между ними и магнитопроводом реле при относительной влажности воздуха до 90% и температуре +20°С должно быть не ниже 200 МОм. При температуре +40°С и относительной влажности воздуха 70% сопротивление изоляции должно быть не ниже 50 МОм.
Измерение сопротивления изоляции производят любым методом, обеспечивающим погрешность измерения не более ±20% при напряжении постоянного тока 500 В.
Обмоточные данные огневых реле должны соответствовать данным, приведенным в табл. 122. Отклонение сопротивления обмоток от номинального значения для реле ОМШМ-1 допускается ±5%, для всех остальных реле ±10%.
Механические характеристики реле:
Зазор между полюсом и якорем в притянутом положении, не менее, мм:
ОМШ2-40 (ОМ2-40), ОМШ2-46 (ОМ2-46) 0,35
ОМШМ-1 0,3
АОШ2-180/0,45 и АОШ2-1 0,15
Люфт якоря вдоль призмы ярма, мм 0,1—0,5
Таблица 122 Обмоточные данные катушек реле
|
|
Расстояние от фронтовых и тыловых контактов
до общих, не менее, мм 1,3
Нажатие на каждом контакте всех типов реле, не менее, Н (гс):
замыкающем (фронтовом) 0,3 (30)
размыкающем (тыловом) 0,15 (15)
Неодновременность замыкания или размыкания
контактов, не более, мм 0,2
Ход
якоря, измеренный под штифтом и обеспе
чивающий скольжение замыкающих (фронто
вых) контактов, не
менее, мм 0,35
Зазор между якорем и скобой, ограничивающей
его ход, мм 0,05—0,15
Расстояние
между металлическими держателями
угля и контактной поверхностью, не менее,
мм 1,5
Осевое
смещение контактных площадок, не бо
лее, мм 0,5
После 600 000
срабатываний реле ОМШ2-40,
ОМ2-40, ОМШ2-46, ОМ2-46 и ОМШМ-1, на-
жатие на каждом контакте, не менее, Н(гс):
замыкающем (фронтовом) 0,2 (20)
размыкающем (тыловом) 0,12 (12)
Расстояние от фронтовых и тыловых контактов
до общих, не менее, мм 1,1
Выводы катушек огневых реле выполняют гибким проводом марки ПМВГ или МГШВ сечением не менее 0,35 мм2.
Выводы диода реле ОМШМ-1 выполняют гибким проводом марки ПМВГ или МГШВ сечением не менее 0,75 мм2.
После 600 000 срабатываний реле АОШ2-180/0,45 и АОШ2-1 их механические характеристики не должны отличаться от соответствующих величин, измеренных до испытания, более чем на ±15%.
Измерение зазоров производят с помощью индикатора, щупов и шаблонов класса 2. Контактные нажатия измеряют граммометром с точностью ±0,01 Н (±1 гс).
Контактная система всех огневых малогабаритных реле одинакова и является 4 фт. Схемы включения обмоток и расположения контактов приведены на рис. 126.
Каждый замыкающий и размыкающий контакт реле должен обеспечивать не менее 600 000 включений и выключений электрических цепей постоянного тока 2 А при напряжении 24 В или цепей переменного тока 0,5 А при напряжении 220 В и активной нагрузке.
Замыкающие контакты не должны свариваться и спекаться.
Замкнутые контакты реле должны выдерживать при испытании в течение 2 ч, не деформируясь, непрерывную нагрузку 3 А. Температура нагрева контактов при этом не должна превышать температуру окружающей среды более чем на +100°С.
Температуру нагрева измеряют термопарой.
Переходное сопротивление контактов должно соответствовать следующим величинам:
—для замыкающих контактов (серебро
— уголь), измеренное без контактов розетки, — не более 0,25 Ом, с контактами розетки — не более 0,30 Ом;
—для размыкающих контактов
(серебро — серебро), измеренное без контактов розетки, — не более 0,03 Ом, с
контактами розетки — не более 0,08 Ом.
После 600 000 коммутаций переходное сопротивление замыкающих контактов, измеренное без контактов розетки, должно быть не более 0,5 Ом, размыкающих — не более 0,1 Ом.
Переходное сопротивление контактов измеряется методом вольтметра — амперметра при токе 0,5 А и источнике питания 12 В постоянного тока при отпущенном и притянутом до упора якоре приборами класса не ниже 2,5. За переходное сопротивление принимается среднее значение из трех наблюдений с двукратным включением реле (притяжением и отпусканием якоря) после каждого отсчета.
Условия эксплуатации. Огневые реле всех типов изготовляются для следующих условий эксплуатации:
—температура окружающего воздуха
для штепсельных реле от -50 до +60°С, нештепсельных (ОМ2-40 и ОМ2-46) —
от 5 до +35°С;
—относительная влажность
окружающего воздуха для штепсельных реле до 90% при температуре +20°С
и до 70% при температуре +40°С, нештепсельных (ОМ2-40 и ОМ2-46) — до 80% при температуре +20°С;
—рабочее положение — горизонтальное, контактным набором
кверху.
Допускается отклонение от рабочего положения не более чем на
5° в любую сторону.
Реле должны храниться в закрытом вентилируемом помещении в картонных коробках при температуре от 5 до +35°С, относительной влажности воздуха не более 80% и отсутствии в окружающей среде кислотных и других агрессивных примесей. Хранение в транспортной упаковке допускается не более трех месяцев. Нештепсельные реле ОМ2-40, ОМ2-46 транспортируют и хранят в специальной упаковке.
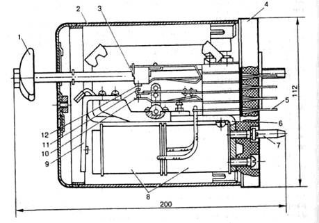
Габаритные размеры штепсельных реле — 200x87x112 мм, реле ОМ2-40 - 132x67x87 мм; масса реле: ОМШ2-40, ОМШ2-46 -1,55 кг, ОМШМ-1 - 1,9 кг, АОШ2-180/0,45 - 1,6 кг, АОШ2-1 -2,0 кг, ОМ2-40, ОМ2-46 - 0,94 кг.
7. Реле нейтральные малогабаритные пусковые постоянного тока типа НМПШ (НМП)
Назначение. Реле типов НМПШЗ-0,2/220 (черт. 24247.00.00) и НМПЗ-0,2/220 (черт. 24249.00.00) предназначены для осуществления электрических зависимостей в схемах управления стрелочными электроприводами с электродвигателями постоянного тока.
Реле типов НМПШЗ-0,2/250 (черт. 24247.00.00) и НМПЗ-0,2/250 (черт. 24249.00.00) и модернизированные реле типом НМПШЗМ-0,2/250 и НМПЗМ-0,2/250 предназначены для осуществления электрических зависимостей в схемах управления стрелочными электроприводами.
Реле типов НМПШ-0,3/90 (черт. 13862.00.00А) и НМП-0,3/90 (черт. 24092.00.00), НМПШ-1200/250 (черт. 13862.00.00А) и НМП-1200/250 (черт. 24092.00.00.), НМП-0,035/90 (черт. 24092.00.00) используются для выполнения электрических зависимостей в схемах управления стрелочными электроприводами с электродвигателями переменного тока частотой 50 Гц.
Реле типов НМПШ-1000 (НМПШ-900) применяются для коммутации цепей постоянного и переменного тока повышенной мощности в устройствах железнодорожной автоматики и телемеханики и изготовляются по черт. 13953.00.00.
Реле типов НМПШ2-400 и НМПШ2-2500 предназначены для осуществления коммутации ламп мигающих сигналов в устройствах железнодорожной автоматики и телемеханики и изготовляются по черт. 24147.00.00.
Некоторые конструктивные особенности. Основными деталями нейтральных малогабаритных пусковых реле постоянного тока являются:
-НМПШЗ-0,2/220 (рис. 131): - / - ручка; 2 - колпак; 3 -магнит дугогашения; 4— основание; 5— нож; 6— ярмо; 7— штырь направляющий; 8 — катушки; 9 — якорь; 10 — тыловой контакт; 11 — перекидной контакт; 12 — фронтовой контакт;
—
НМПЗ-0,2/220 (рис. 132): — / - сердечник; 2 — якорь; 3 — тыловой контакт; 4 — перекидной
контакт; 5 — фронтовой контакт; 6 — магнит дугогашения; 7 — нож; 8 — ярмо; 9 — катушки;
—
НМП-0,3/90 (рис. 133): — 1 — тыловой контакт; 2 — перекидной контакт; 3 — фронтовой
контакт; 4 — нож; 5 — ярмо; 6 — катушки; 7 — сердечник; 8 — якорь;
—
НМПШ-0,3/90 (рис.
134): - 1 - реле типа НМП-0,3/90; 2 -ручка;
3 — колпак; 4 — основание; 5 — прокладка;
—
НМПШ-900 (рис. 135): —/ — ручка; 2 — магнит дугогасящий; .? — фронтовой усиленный контакт; 4 — перекидной
усиленный контакт; 5 — основание; 6— нож; 7— прокладка; 8— ярмо;
9 — катушки; 10 — перекидной контакт; 11 — фронтовой
контакт; 12 — сердечник; 13 — якорь;
14 — колпак;
-НМПШ2-400 и НМПШ2-2500 (рис. 136): - 1 - ручка; 2 -тыловой контакт; 3 — перекидной контакт; 4 — фронтовой контакт; 5 — нож; 6 — основание; 7 — ярмо; 8 — катушка; 9 — сердечник; 10 — якорь; 11 — колпак.
Реле постоянного тока являются электромагнитными двухпозиционными. Реле штепсельного исполнения устанавливаются на ста-i ивах и в релейных шкафах, реле нештепсельного исполнения — в релейных блоках.
По конструкции реле аналогичны реле типа НМШ, но имеют усиленные контакты.
|
|
|
|
|
|
Рис. 132. Реле типа НМПЗ-0,2/220
|
|
Рис. 133. Реле типа НМП-0,3/90
Рис. 134. Реле типа НМПШ-0,3/90
Обмотки реле НМПШЗ-0,2/220, НМПЗ-0,2/220, НМПШЗ-0,2/250, ИМПЗ-0,2/250, НМПШЗМ-0,2/250, НМПЗМ-0,2/250, НМПШ-0,3/90, ПМП-0,3/90 включаются только раздельно, а обмотки реле ИМПШ-1000 (НМПШ-900), НМПШ2-400 и НМПШ2-2500 - раз-
|
|
Рис. 135. Реле типа НМПШ-900
|
|
Рис. 136. Реле типа НМПШ2-400 и НМПШ2-2500
дельно, последовательно или
параллельно. Схемы обмоток и распо
ложение контактов реле НМПШЗ-0,2/220, НМПЗ-0,2/220,
НМПШЗ-0,2/250, НМПЗ-0,2/250, НМПШЗМ-0,2/250,
НМПЗМ-0,2/250, НМПШ-0,3/90, НМП-0,3/90, НМП-0,035/90, НМПШ-1200/250, НМП-1200/250, НМПШ-900 (НМПШ-1000), НМПШ2-400 и НМПШ2-2500 показаны на рис. 137, а, б, в, г.
Для намотки катушек реле НМПШ-1000 ранее применялся провод марки ПЭЛ, ас 1971 г. используют провода с улучшенной изоляцией марки ПЭВ1 или ПЭС1, ПЭМ1, ПЭВТЛ1.
Провода марки ПЭВ1, ПЭС1, ПЭМ1, ПЭВТЛ1 имеют более толстый слой изоляции по сравнению с проводом того же диаметра марки ПЭЛ, поэтому при намотке катушек одинакового габарита в катушке из проводов ПЭВ1, ПЭС1, ПЭМ1, ПЭВТЛ1 витков будет меньше, чем в катушке из провода ПЭЛ. Следовательно, сопротивление катушки из провода ПЭВ1 будет меньше сопротивления катушки из провода ПЭЛ.
Реле НМПШ-1000 (катушки из провода ПЭЛ) является взаимозаменяемым с реле НМПШ-900 (катушки из провода ПЭВ1).
Электрические и временные характеристики реле при температуре (20±5)°С и относительной влажности воздуха до 90% должны соответствовать данным, указанным в табл. 123.
Напряжение полного притяжения якоря, измеренное при обратной полярности на катушках реле, не должно превышать напряжение, измеренное при прямой полярности, более чем на 20%.
После гарантийного количества срабатываний:
—электрические характеристики реле
типов НМПШЗ-0,2/220, НМПЗ-0,2/220,
НМПШЗ-0,2/250, НМПЗ-0,2/250, НМПШЗМ-0,2/250, НМПЗМ-0,2/250, НМПШ-0,3/90 и НМП-0,3/90 не должны отличаться от соответствующих значений, указанных в
табл. 123, более чем на ±10%;
—напряжение полного притяжения
якоря реле НМПШ-1000 (НМПШ-900)
не должно превышать более чем на 5%, а напряжение отпускания не должно быть ниже чем на 10% значений, указанных в табл. 123;
—напряжение полного притяжения
якоря реле НМПШ2-400 и НМПШ2-2500 не должно превышать более чем на 10%, а
напряжение
отпускания не должно быть ниже чем на 20% значений,
указанных в табл. 123.
Постоянные магниты дугогашения реле НМПШЗ-0,2/220, НМПЗ-0,2/220, НМПШЗМ-0,2/250, НМПЗМ-0,2/250 должны иметь магнитный поток в разомкнутой цепи не менее 810-6 Вб, а у реле ПМПШ-1000 (НМПШ-900) - не менее 2*10-5 Вб.
Электрические характеристики реле измеряются приборами клас-cа точности не ниже 1,0. Время замедления на отпускание якоря реkt проверяют любым методом, обеспечивающим погрешность измерения не более ±10%. Проверку сопротивления обмоток постоянно-

Рис. 137. Расположение контактов и схемы обмоток реле (вид с монтаж
ной стороны)
|
|
Таблица 123 Электрические и временные характеристики реле
му току производят любым методом с погрешностью измерения не более ±1%.
Пересчет измеренного значения сопротивления R об t на сопротивление R об 20 при температуре +20°С производят по формуле:
![]()
где Θ — разность между температурой, при которой проводилось измерение, и температурой +20°С с учетом знака плюс—минус (0 = t°С - 20°С); а — температурный коэффициент сопротивления провода обмотки (для медной проволоки а = 0,004 град-1)-Полученное расчетное значение сопротивления проверяют по отклонению от номинального значения на соответствие данным, указанным в табл. 123.
Электрическая прочность и сопротивление изоляции. Изоляция реле должна в течение 1 мин выдерживать без пробоя испытательное напряжение 2000 В переменного тока частотой 50 Гц, приложенное между всеми токоведущим частями реле и магнитопроводом. Испытание электрической прочности изоляции проводят путем приложения испытательного напряжения (испытательная установка мощностью не менее 0,5 кВА, дающая практически синусоидальную кривую напряжения частотой 50 Гц) в течение 1 мин±5 с. Испытательное напряжение повышают постепенно. Погрешность измерения испытательного напряжения не должна превышать ±5%.
Сопротивление изоляции между соседними электрически не связанными токоведушими частями реле, а также между ними и магнитопроводом реле при относительной влажности воздуха до 90% и температуре +20°С должно быть не ниже 200 МОм. При температуре (40±5)°С и относительной влажности 70±5% сопротивление изоляции должно быть не ниже 50 МОм.
Измерение сопротивления изоляции производится любым методом, обеспечивающим погрешность измерения не более ±20%, при напряжении постоянного тока 500 В.
Выводы катушек реле выполняют гибким проводом марки ПМВГ или МГШВ сечением не менее 0,35 мм2.
Обмоточные данные реле НМПШ (НМП) должны соответствовать данным, приведенным в табл. 124.
Механические характеристики реле НМПШ приведены в табл. 125.
После гарантийного количества срабатываний:
—механические
характеристики реле НМПШЗ-0,2/220, НМПЗ-0,2/220, НМПШ-0,3/90 и НМП-0,3/90 не должны
отличаться от соответствующих значений, указанных в табл. 125, более чем на
±15%;
—нажатие
на каждом усиленном контакте реле НМПШ-1000 (НМПШ-900)
должно быть не менее 0,42 Н (42 гс), а на каждом неусиленном контакте —
не менее 0,3 Н (30 гс);
—расстояние от неподвижных контактов до подвижных должно быть не менее 4,8 мм для усиленных и не менее 3,2 мм
для неусиленных контактов;
—нажатие на каждом замыкающем
(фронтовом) контакте реле НМПШ2-400 и НМПШ2-2500 должно быть не менее 0,2 Н (20 гс), а на каждом размыкающем (тыловом) —
не менее 0,12 Н (12 гс);
—расстояние от неподвижных
(фронтовых или тыловых) контактов до
подвижных должно быть не менее 1,1 мм.
Измерение зазоров производится с помощью индикатора, щупов и шаблонов класса 2. Контактные нажатия измеряют граммометром с точностью ±0,01 Н (±1 гс).
|
|
Таблица 124 Обмоточные данные катушек реле
Контактная система реле НМПШ зависит от их типа:
ИМПШЗ-0,2/220, НМПЗ-0,2/220,
НМПШЗ-0,2/250, НМПЗ-0,2/250,
НМПШЗМ-0,2/250, НМПЗМ-0,2/250 2 фут, 2 ф
НМПШ-0,3/90, НМП-0,3/90, НМПШ-1200/250,
ИМП-1200/250, НМП-0,035/90 2 фт, 2 ф
НМПШ-1000 (НМПШ-900) 2 фу, 4 ф
НМПШ2-400, НМПШ2-2500 4 фт
Таблица 1 25 Механические
характеристики реле
|
Характеристики |
Данные для реле типов |
|||
|
НМПШЗ- |
НМПШ- |
НМПШ- |
НМПШ2- |
|
|
|
0,2/220, |
0,3/90: |
1000 |
400, |
|
|
НМПЗ- |
НМП- |
(НМПШ- |
НМПШ2- |
|
|
0,2/220, |
0,3/90, |
900) |
2500 |
|
|
НМПШЗ- |
НМПШ- |
|
|
|
|
0,2/250, |
1200/250, |
|
|
|
|
НМПЗ- |
НМП- |
|
|
|
|
0,2/250, |
1200/250, |
|
|
|
|
НМПШЗМ- |
НМП- |
|
|
|
|
0,2/250, |
0,035/90 |
|
|
|
|
НМПЗМ- |
|
|
|
|
|
0,2/250 |
|
|
|
|
Физический зазор между полюсом и |
0,3 |
0,3 |
0,2 |
0,2 |
|
якорем в притянутом положении по- |
|
|
|
|
|
сле покрытия их защитным слоем, не |
|
|
|
|
|
менее, мм |
|
|
|
|
|
Люфт якоря вдоль призмы ярма в |
0,1—0,5 |
0,1—0,5 |
0,1—0,5 |
0,1—0,5 |
|
пределах, мм |
|
|
|
|
|
Зазор между якорем и скобой, огра- |
0,05— |
0,05- |
0,05— |
0,05- |
|
ничивающей его ход, в пределах, мм |
0,15 |
0,15 |
0,15 |
0,15 |
|
Расстояние от фронтовых или тыло- |
|
|
|
|
|
вых контактов до подвижных, не ме- |
|
|
|
|
|
нее, мм: |
|
|
|
|
|
нормальные контакты |
2,5 |
2,5 |
3,8 |
1,3 |
|
усиленные контакты |
2,5 |
— |
5,5 |
— |
|
Нажатие на каждом контакте, не ме- |
|
|
|
|
|
нее, Н (гс): |
|
|
|
|
|
нормальные фронтовые контакты |
0,5 (50) |
0,5 (50) |
0,35 (35) |
0,3 (30) |
|
нормальные тыловые контакты |
0,15(15) |
0,15(15) |
— |
0,2 (20) |
|
усиленные фронтовые контакты |
0,5 (50) |
— |
0,5 (50) |
— |
|
Неодновременность замыкания или |
0,2 |
0,2 |
0,5 |
0,2 |
|
размыкания контактов, не более, мм |
|
|
|
|
|
Ход якоря, измеренный под штифтом |
0,35 |
0,35 |
0,35 |
0,35 |
|
и обеспечивающий скольжение за- |
|
|
|
|
|
мыкающих контактов, не менее, мм |
|
|
|
|
|
Смещение подвижных контактов от- |
0,5 |
0,5 |
0,5 |
0,5 |
|
носительно оси неподвижных, не бо- |
|
|
|
|
|
лее, мм |
|
|
|
|
Каждый усиленный замыкающий контакт реле НМПШЗМ-0,2/250, ИМПЗМ-0,2/250, НМПШЗ-0,2/250, НМПЗ-0,2/250, НМПШЗ-0,2/220 и НМПЗ-0,2/220 должен обеспечивать 100 000 включений электрической цепи постоянного тока 5 А, 220 В. В аварийном режиме усиленные замыкающие контакты должны обеспечивать не менее 10 выключений активной нагрузки 6 А, 240 В постоянного тока при подключении плюса к неподвижному, а минуса — к подвижному контакту.
Нормальные замыкающие и размыкающие контакты реле ПМПШЗМ-0,2/250, НМПЗМ-0,2/250, НМПШЗ-0,2/250, НМПЗ-0,2/250,НМПШЗ-0,2/220 и НМПЗ-0,2/220 должны обеспечивать не менее
100 000 включений и выключений электрической цепи 2 А, 24 В постоянного тока или 0,5 А, 220 В переменного тока.
Каждый замыкающий контакт реле НМПШ-0,3/90, НМП-0,3/90, НМПШ-1200/250, НМП-1200/250 и НМП-0,035/90 должен обеспечивать 100 000 включений электрической цепи постоянного тока Л, 220 В. Каждый замыкающий и размыкающий контакт этих же реле должен обеспечивать не менее 400 000 включений и выключений электрической цепи 1 А, 24 В постоянного тока.
Испытание контактов реле НМПШЗМ-0,2/250, НМПШЗ-0,2/250, НМПЗМ-0,2/250, НМПШЗ-0,2/220, НМПЗ-0,2/220, НМПШ-0,3/90 и ПМП-0,3/90 на длительную работу производится при частоте срабатывания 15—20 раз в 1 мин. Электрические характеристики при этом испытании измеряются через каждые 10 000 коммутаций.
Испытание нагрева контактов вышеуказанных реле производится при пропускании через замкнутые контакты тока 15 А в течение 2 ч.Замкнутые контакты реле должны выдерживать данную нагрузку, не
формируясь. Температура нагрева контактов при этом не должна превышать температуру окружающей среды более чем на +100°С.
Температуру нагрева измеряют термопарой.
Контакты реле НМПШ-1000 (НМПШ-900) должны обеспечивать 100 000 коммутаций следующих электрических цепей:
усиленные контакты:
—включение и выключение каждым
контактом цепи 8 А, 220 В постоянного тока;
—включение и выключение цепи 15 А,
60 В постоянного тока. При включении
контактов в цепь постоянного тока «плюс» должен быть подключен к подвижному контакту, а «минус» — к
неподвижному;
—включение и выключение цепи 12 А, 220 В переменного тока при cos φ = 0,85;
нормальные контакты:
—включение и выключение цепи 10 А,
30 В постоянного тока;
—включение и выключение цепи 6 А,
220 В переменного тока при cos φ =
0,85;
—включение и выключение цепи 10 А, НО В переменного тока при cos φ = 0,85.