5.6. Регулирующая аппаратура дизеля
Регулирующая аппаратура дизеля обеспечивает: поддержание заданной частоты вращения коленчатого вала и мощности дизеля; защиту дизеля от превышения допустимой частоты вращения и перегрузок. Постоянство частоты вращения вала дизеля поддерживает автоматический регулятор. Частота вращения вала изменяется тогда, когда меняется нагрузка дизеля. Если нагрузка от тягового генератора изменяется, а двигатель получает постоянное количество топлива, то частота вращения его вала будет изменяться, уменьшаясь или уаели-
чиваясь, в зависимости от изменения нагрузки. Для поддержания постоянной частоты вращения нужно устанавливать подачу топлива в соответствии с требуемой мощностью. Это и выполняет регулятор, воздействуя на топливный насос.
Регуляторы изготовляют по разным схемам, но общее для всех схем то, что при увеличении частоты вращения коленчатого вала дизеля регулятор уменьшает подачу топлива, а при уменьшении, наоборот, увеличивает. Простейший регулятор — центробежный регулятор прямого действия (рис. 5.37, а). Полая ось 2 регулятора приводится во вращение от коленчатого вала дизеля через зубчатую передачу / с постоянным передаточным отношением. Грузы 5 вращаются на платформе, закрепленной в верхней части оси. Через рычаги 3 и муфту 4 отклонение грузов от оси вращения преобразуется в
перемещение оси 10 регулятора. Верхняя половина муфты скреплена с осью 10 и может перемещаться вместе с ней, нижняя половина муфты вращается вместе с грузами. На муфту сверху действует сила затяжки пружины 6, а снизу — центробежная сила от грузов. При равенстве сил муфта находится в равновесии. Это означает, что подача топлива (стрелка А) обеспечивает заданную частоту вращения (стрелка Б) при соответствующей нагрузке дизеля.
Если частота вращения коленчатого вала дизеля изменится, например уменьшится из-за увеличения нагрузки или по какой-то другой причине, равновесие сил, действующих на муфту, также нарушится. Под действием силы пружины муфта будет перемещаться вниз и увеличивать подачу топлива до тех пор, пока частота вращения не возрастет. Установится новое равновесие при новой частоте вращения, обыч-

Рис. 5.37. Схемы регуляторов частоты вращения дизелей:
а—регулятор прямого действия; б—регулятор непрямого действия с серводвигателем; в—изодром-ный регулятор непрямого действия
но незначительно отличающейся от заданной. Отношение разности между этими крайними значениями к среднему значению частоты вращения называется степенью неравномерности регулятора. Регуляторы, обладающие свойством постоянства равновесной скорости, носят соответственно название астатических. Следует отметить, что при малейшем изменении нагрузки двигателя такой регулятор будет изменять свое положение очень сильно. Будучи один раз выведен из равновесия, астатический регулятор совершает непрерывное колебательное движение между крайними положениями и потому практически непригоден. Степень неравномерности, равная нулю, может быть получена только в системе изодромного регулирования. Статический регулятор также совершает колебательные движения, прежде чем приходит в новое положение равновесия, соответствующее новой нагрузке двигателя. Но эти колебания затухающие, и затухание происходит тем быстрее, чем больше степень неравномерности регулятора. Практически выбирают оптимальную степень неравномерности, обеспечивающую быстрое затухание и не допускающую слишком большой разницы в частоте вращения при изменении нагрузки.
В изображенном на схеме (см. рис. 5.37, а) регуляторе усилие на муфте передается регулирующему органу топливного насоса непосредственно или через систему тяг и рычагов, но во всяком случае единственным источником этого усилия является сам регулятор. Такое регулирование называется прямым. При этом все сопротивления механизмов регулирования и передачи должны преодолеваться усилием на муфте регулятора. Это в основном сопротивления сил трения.
При трении в механизме регулятора или в передаче в любом положении регулирующий орган остается неподвижным в некотором ин-
тервале частот вращения. Отношение разности между крайними значениями к заданной частоте вращения называется степенью нечувствительности регулятора. Степень нечувствительности увеличивает степень неравномерности, и это приводит к тому, что полная степень неравномерности может получиться недопустимо большой. Поэтому в современных регуляторах применяют схему непрямого регулирования, заключающуюся во введении между регулятором и топливным насосом специального вспомогательного механизма— серводвигателя. Серводвигатель управляется регулятором и создает усилие, которое и воздействует на топливные насосы. В результате от регулятора требуется значительно меньшая сила, необходимая только для управления серводвигателем. Еще одно преимущество регуляторов с серводвигателем заключается в улучшении динамических качеств регулирования. При серводвигателе колебания регулятора затухают, даже если степень нечувствительности равна нулю. Следовательно, регулятор с серводвигателем обеспечивает более точное и быстрое регулирование частоты вращения коленчатого вала двигателя.
Схема непрямого регулирования с серводвигателем и жесткой обратной связью представлена на рис. 5.37, б. При изменении нагрузки двигателя угловая скорость вала изменится прежде, чем регулятор окажет воздействие на подачу топлива. Например, при увеличении нагрузки угловая скорость уменьшится и муфта регулятора 4 опустится. При этом рычаг 11 повернется вокруг оси В и другой конец его передвинет золотник 12 серводвигателя. Масло по верхней трубке будет поступать в цилиндр серводвигателя 13 и передвинет поршень на увеличение подачи топлива. Перемещение поршня серводвигателя приведет к изменению положения регулирующего органа двигателя и
повернет рычаг вокруг точки Д. При этом золотник серводвигателя возвратится в среднее положение. Поршень серводвигателя установится в новом равновесном положении, при котором развиваемая мощность будет соответствовать возросшей нагрузке. Рычаг // обеспечит обратное воздействие серводвигателя на золотник и регулятор. Обратная связь серводвигателя с регулятором осуществляется в данной схеме механизмом, состоящим из элементов, не изменяющих своих размеров. Такая связь называется жесткой обратной связью.
Схема регулирования (рис. 5.37, в), в которую введен изодром 14, позволяет одному из элементов менять свою длину в процессе регулирования. Корпус изодрома соединен с рычагом //, а поршень связан с поршнем серводвигателя 13. Обе полости изодрома наполнены маслом, скорость перетекания которого регулируется дросселем 16. При изменении нагрузки двигателя угловая скорость вала изменится прежде чем регулятор окажет воздействие на подачу топлива. Например, при увеличении нагрузки угловая скорость уменьшится и муфта регулятора 4 опустится. При этом рычаг // повернется вокруг оси В и передвинет золотник 12 серводвигателя. Масло по верхней трубке будет поступать в цилиндр и передвинет поршень на увеличение подачи топлива. Перемещение поршня серводвигателя приведет к изменению положения регулирующего органа и повернет рычаг // вокруг точки Д. При этом золотник серводвигателя возвратится в среднее положение. В отличие от регулятора с жесткой обратной связью в данной схеме с момента начала перемещения поршня серводвигателя на увеличение подачи топлива в работу включается изодром. Натяжение пружины 15 создает повышенное давление в нижней полости, и масло перетекает в верхнюю полость до тех пор, пока поршень серводвига-
теля не установится в новом равновесном положении, при котором развиваемая мощность будет соответствовать возросшей нагрузке. Однако если при жесткой обратной связи в новом равновесном положении поршня серводвигателя точка Д занимала новое положение, что соответствовало изменению частоты вращения при изменении нагрузки, то теперь при наличии изодрома точка Д возвратится в свое первоначальное положение. Это значит, что при изменившейся нагрузке двигатель будет работать с точно такой же частотой, с какой он работал. Следовательно, схема с изодромным регулированием позволяет сохранить постоянство заданной частоты вращения вала двигателя при разных нагрузках.
Регуляторы, настроенные на поддержание одного заданного значения частоты вращения, называются одно режимными. На тепловозных дизелях применяются всережимные регуляторы, изменением настройки которых можно изменять заданную частоту вращения в широких пределах. Механизм настройки состоит обычно из подвижного упора 7 (см. рис. 5.37) и зубчатого сектора 8 с приводом от рукоятки управления 9. При задании нового значения частоты вращения рукоятка управления переставляется. Например, при перестановке рукоятки вверх от прежнего положения (стрелка Б) зубчатый сектор опустит упор и увеличит затяжку пружины. Равновесие муфты нарушится, и под действием силы пружины она будет опускаться и увеличивать подачу топлива до тех пор, пока частота вращения не увеличится до заданной и не наступит новое равновесие.
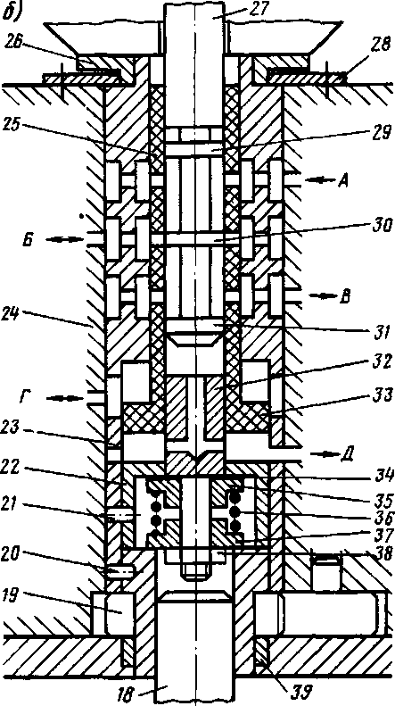
Изодромные регуляторы частоты вращения. Регуляторы с гидравлической обратной связью установлены на дизелях Д50 и 2Д100 и некоторых других. Регулятор (рис. 5.38, а) состоит из измерителя частоты вращения, серводвигателя, механизмов автоматического выключения и ус-

Рис. 5.38. Схема изодромного регулятора частоты вращения — а и золотниковой части измерителя скорости — б
корения пуска и механизмов управления регулятором и дизелем. Все детали измерителя частоты и серводвигателя объединены в корпусе, в котором расположены также масляный насос регулятора с аккумуляторами. Нижняя часть корпуса образует маслосборник. В корпусе / серводвигателя регулятора расположены силовой поршень 4 с пружиной 6 и компенсирующий поршень 2. Камера под силовым поршнем соединена с измерителем частоты каналом Б, а камера под компенсирующим поршнем — каналом Г, который соединен также с масляной ванной с помощью регулируемого изодромного дросселя 3. Масло в серводвигатель через измеритель частоты вращения поступает от масляного насоса 15 по магистрали, соединенной с аккумуляторами 14, поддерживающими постоянное давление.
Измеритель частоты вращения — это основной узел регулятора, сос-

тоящий из центробежного механизма, установленного на траверсе 13, и плунжерно-золотникового распределителя 12 масла, расположенного в нижней части измерителя частоты. При вращении грузов 7 центробежная сила через рычаги и подшипники // передается на все-режимную пружину 8. С другой стороны, пружина сжимается упором 9, перемещаемым через зубчатый сектор 10 от системы управления регулятором. Плунжерно-золотнико-вый распределитель (рис. 5.38, б) управляет силовым поршнем серводвигателя и представляет собой сложную систему взаимодействующих деталей. Букса 23 имеет по высоте пять кольцевых проточек, совпадающих с каналами в корпусе 24 регулятора. Верхняя проточка совпадает с нагнетательным каналом А масляного насоса; вторая — с каналом Б, ведущим к полости под силовым поршнем серводвигателя; третья и пятая проточки —
с каналами В и Д внутренней полости регулятора и четвертая —- с каналом Г полости над компенсирующим поршнем. В расточку буксы вставлен золотник 25, представляющий собой втулку, заканчивающуюся поршнем
33. Золотник против проточек в буксе имеет отверстия для прохода масла. В нижнюю часть золотника запрессован хвостовик 32, верхняя часть которого имеет вертикальные и горизонтальные каналы, соединяющие внутреннюю полость золотника с полостью буксы под поршнем. Нижняя часть хвостовика входит во втулку 22, где на него надеты верхняя 35 и нижняя 37 тарелки с пружиной 36, сжатой корончатой гайкой 38. Пружина сжимается по размеру внутренней цилиндрической части втулки. Нажатие регулируется подбором толщины прокладок
34. Втулка закреплена в буксе конусным винтом 21. Снизу в буксу плотно входит ведущая шестерня 19 масляного насоса, закрепленная двумя конусными винтами 20. В отверстие шестерни, снабженное шлицами, входит шлицевой вал 18 привода регулятора, передающий вращение от вала двигателя. Бронзовая траверса 26 напрессована на верхнюю часть буксы. В золотниковую втулку 25 вставлен плунжер 27, имеющий три диска. Диски 29 и 30 точно пригнаны к центральному отверстию втулки. Нижний диск плунжера 31 служит для направления. Букса от осевого перемещения вверх удерживается фланцем 28, прикрепленным к корпусу регулятора, а вниз — бронзовой втулкой 39, запрессованной в нижнюю часть корпуса регулятора. Рассмотрим работу регулятора в некоторые характерные моменты.
Пуск дизеля. При пуске дизеля для ускорения используется пусковой серводвигатель 16, который представляет собой цилиндр, имеющий две смежные полости: масляную и воздушную. В воздушной полости перемещается самоустанавливающийся поршень большого диаметра,
в масляной — малого. Масляная полость сообщается с масляной ванной и масляной магистралью регулятора. До пуска дизеля под действием все-режимной пружины плунжер опущен вниз и полностью открывает отверстие в канал Б. При нажатии кнопки «Пуск дизеля» электропневматический вентиль впускает воздух в воздушную полость серводвигателя. Поршень перемещается вверх и подает масло в масляную магистраль регулятора, а оттуда по каналам А и Б — под силовой поршень серводвигателя, что позволяет быстро переставить рейки топливных насосов в положение подачи топлива. дизель пускается, и устанавливается минимальная частота вращения, соответствующая предварительной затяжке пружины.
Увеличение нагрузки на дизель. При увеличении нагрузки на дизель частота вращения коленчатого вала и ведущей шестерни регулятора 17 уменьшится. Грузы 7 приблизятся к оси вращения и опустят плунжер 27. Масло из масляной магистрали А по каналу Б поступит в серводвигатель и поднимет поршень 4 на увеличение подачи топлива. При движении силового поршня вверх компенсирующий поршень 2 выдавливает масло из полости над поршнем. По каналу Г масло поступает в полость над поршнем 33 золотника 25 и перемещает его вниз, сжимая пружину 36. В результате отверстие против канала Б снова закроется и дальнейшее движение поршня 4 прекратится. Так как площадь сечения изодромного дросселя 3 невелика, то количество масла в объеме гидравлической связи уменьшается постепенно. При этом давление масла падает и сжатая пружина 36 возвращает золотник 25 до упора. Плунжер и золотниковая втулка образуют следящую систему, в которой при перемещении одной из деталей вторая следует за ней. Если плунжер отстанет от втулки, масло будет продолжать поступать в серводвигатель. Подача топлива увеличится,
возрастет угловая скорость коленчатого вала и измерителя частоты вращения. Грузы 7 разойдутся и поднимут плунжер вверх. В результате золотник и плунжер при новой нагрузке займут прежнее положение, а поршни серводвигателя окажутся в новом положении, соответствующем большей подаче топлива. Изо-дромная обратная связь обеспечивает степень неравномерности регулятора равной нулю и устойчивость процесса регулирования.
Увеличение заданной частоты вращения. Воздействием на затяжку всережимной пружины можно увеличить частоту вращения. При увеличении затяжки грузы 7 приблизятся к оси вращения и вызовут те же действия регулятора, что и при увеличении нагрузки. Всережимная пружина 8 имеет нецилиндрическую форму и обладает переменной жесткостью и нелинейной характеристикой, приближающейся к закону, по которому изменяется центробежная сила грузов регулятора. Пружина переменной жесткости способствует также улучшению динамических качеств регулятора, обеспечивая быстрое затухание колебаний при резком изменении нагрузки.
Остановка дизеля. Выключением подачи топлива останавливают дизель. При аварийном состоянии это производится автоматически регулятором частоты вращения. Полость под силовым поршнем серводвигателя при нормальной работе дизеля отключена от сливного канала клапана соленоида. При падении давления масла в магистрали дизеля цепь соленоида 5 разрывается и клапан открывает свободный выход масла из-под поршня 4. Тогда под действием пружины 6 поршень 4 опустится вниз, прекратит подачу топлива и дизель остановится.
Объединенные регуляторы. Существенное улучшение автоматического регулирования тепловозного дизель-генератора может быть достигнуто применением объединенного регулятора частоты вращения и мощ-
ности. Кроме поддержания заданной частоты вращения воздействием на подачу топлива, объединенный регулятор устанавливает также определенную нагрузку дизеля воздействием на возбуждение тягового генератора. При заданной частоте вращения объединенный регулятор обеспечивает поступление в цилиндры постоянного количества топлива. Это позволяет наиболее полно использовать эффективную мощность дизеля на тягу поездов. На дизелях 11Д45, 1 ОД 100 типов Д70 и Д49 установлены объединенные регуляторы различных конструкций. Общим для них является наличие регулятора мощности.
Регулятор мощности предназначен для обеспечения постоянства мощности тягового генератора путем изменения его напряжения. Изменение напряжения достигается воздействием индуктивного датчика на возбуждение тягового генератора.
Для возможности автоматической установки индуктивного датчика в положение минимального возбуждения при пуске дизеля, трогании тепловоза, а также при боксовании в регуляторе мощности имеется отключающее устройство. При работе отключающего устройства облегчается пуск дизеля, обеспечивается плавное трогание тепловоза и защита от боксования.
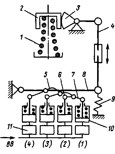
Объединенный всережимный непрямого действия гидромеханический регулятор частоты вращения и нагрузки установлен на дизелях 5Д49. Регулятор автоматически поддерживает заданный режим работы дизель-генератора путем воздействия на рейки топливных насосов и через индуктивный датчик на контур возбуждения тягового генератора, т. е. автоматически поддерживает заданную частоту вращения коленчатого вала и заданное выдвижение реек топливных насосов. Регулятор имеет центробежный измеритель частоты вращения, автономную масляную систему, устройство ступенчатого 15-позиционного электрогидравличе-
ского дистанционного управления, устройство для дистанционной остановки дизель-генератора с пульта управления тепловозом или при срабатывании защиты дизель-генератора и устройство для вывода якоря индуктивного датчика в положение минимального возбуждения тягового генератора.
Масло (рис. 5.39) из масляной ванны / всасывается масляным насосом 15 и подается в полость аккумуляторов масла 14 и в каналы регулятора. Два всасывающих и два нагнетательных клапана позволяют работать масляному насосу при любом направлении вращения приводного вала регулятора.
В установившемся режиме работы дизель-генератора центробежная сила грузов измерителя частоты вращения 13 уравновешивается силой затяжки всережимной пружины 20. Золотник 17 своими поясками перекрывает окна в подвижной 19 и
неподвижной втулках, вследствие чего полость а силового серводвигателя и полость б дополнительного серводвигателя перекрыты и их поршни остаются неподвижными. Подача топлива в цилиндры дизеля не изменяется. При изменении затяжки всережимной пружины или частоты вращения грузы сходятся или расходятся, вызывая перемещение золотника 17.
При перемещении золотника вниз, что соответствует уменьшению оборотов или увеличению затяжки всережимной пружины, поясок золотника открывает окно в подвижной втулке 19. Масло сливается из полости а под поршнем силового серводвигателя, который перемещается вниз на увеличение подачи топлива в цилиндры дизеля. Посредством рычажной передачи 2 будет перемещена и подвижная втулка 19 вниз до перекрытия окна пояском плунжера. Поршень силового сер-

водвигателя, изменив подачу топлива, остановится.
Вт9рой управляющий поясок золотника, имеющий большую ширину, чем окно в неподвижной втулке, с некоторым запаздыванием откроет проход маслу из аккумулятора масла в полость б под поршнем дополнительного серводвигателя, который переместится вверх. Этой же рычажной передачей 2 подвижная втулка будет перемещаться вверх.
Увеличение подачи топлива, вызванное перемещением вниз поршня силового серводвигателя и, следовательно, поворотом вала 3, вызывает увеличение частоты вращения, и грузы измерителя расходятся, возвращая золотник 17 в исходное положение. Возвращение золотника и перемещение подвижной втулки осуществляются одновременно с одинаковой скоростью, окно во втулке остается перекрытым пояском золотника, и поршень силового серводвигателя неподвижен.
Возвращение в исходное положение золотника и втулки будет происходить до тех пор, пока второй поясок золотника не перекроет доступ масла в полость б под поршнем дополнительного серводвигателя, и поршень остановится. При перемещении золотника вверх, что соответствует увеличению частоты оборотов или уменьшению затяжки всережимной пружины, поясок золотника открывает окно в подвижной втулке 19. Масло из аккумулятора поступает в полость а, и поршень силового серводвигателя перемещается вверх на уменьшение подачи топлива в цилиндры дизеля.
Подвижная втулка посредством рычажной передачи 2 перемещается вслед за золотником и перекрывает доступ масла в полость а. Поршень останавливается. Второй управляющий поясок золотника откроет слив масла из полости б, поршень дополнительного серводвигателя переместится вниз и посредством той же рычажной передачи переместит подвижную втулку вверх. Возвраще-
ние золотника и подвижной втулки в исходное положение осуществляется одновременно с одинаковой скоростью, и поршень силового серводвигателя неподвижен. Измеритель частоты вращения приводится во вращение шестеренной передачей и вращается на шейке буксы 16, установленной неподвижно.
Сектор 18 служит для согласования взаимного положения поршней серводвигателей перемещением подвижной втулки. Поршень силового серводвигателя должен занимать пропорциональное положение относительно своего верхнего упора, а поршень дополнительного серводвигателя — относительно своего нижнего упора.
Частота вращения коленчатого вала двигателя изменяется с помощью механизма управления. При переключении контроллера машиниста подается или снимается электропитание электромагнитов MPI, МР2, МРЗ и МР4. Магниты MPI, МР2 и МРЗ через треугольную пластину воздействуют на золотник //. При этом размер перемещения золотника зависит от комбинации включенных и выключенных магнитов. Магнит МР4 перемещает втулку золотника 12.
Механизм регулирования нагрузки состоит из золотниковой части и блока серводвигатель — индуктивный датчик. Так как мощность дизель-генератора зависит от вращающего момента на коленчатом валу двигателя и частоты его вращения, то регулирование сводится к поддержанию постоянными вращающего момента и частоты вращения. На каждой конкретной позиции контроллера машиниста должно быть определенное выдвижение реек топливных насосов и соответствующая частота вращения коленчатого вала. Поэтому смещение золотника 7, управляющего положением поршня 4 серводвигателя индуктивного датчика 5, производится как при изменении заданной частоты вращения, так и при изменении вращаю-
щего момента. Привод по частоте вращения к золотнику 7 осуществляется через рычаг, опирающийся шарнирным подшипником на траверсу поршня 10 и тягу. Привод по величине вращающего момента осуществляется от вала 3 силового серводвигателя через рычаги и тягу 6. Регулятор имеет устройства для регулировки наклона тепловозной характеристики (разбивки мощности дизеля по позициям контроллера). Винтом 9 регулируется уровень мощности на номинальной позиции контроллера, а винтом 8—наклон тепловозной характеристики.
Дальнейшее совершенствование регуляторов связано с необходимостью улучшению работы дизелей, особенно с высоким давлением турбонаддува, на переходных режимах. На дизелях 5Д49 мощностью 4400 кВт на тепловозах ТЭП75 установлены усовершенствованные объединенные регуляторы с защитой дизеля от перегрузки при переходном режиме. Регулятор имеет датчик давления наддува, приводящий в соответствие мощность дизеля и давление наддува.
Механизм управления регулятором. Для изменения затяжки все-режимной пружины регулятора в соответствии с позицией рукоятки контроллера машиниста и заданной частотой вращения коленчатого вала дизеля установлены механизмы управления регулятором. На дизелях типов Д50 и 2Д100 применяется электропневматический серводвигатель (рис. 5.40), главный рычаг 8 которого с помощью регулируемой вертикальной тяги 4 связан с упором 2 и зубчатым сектором 3 затяжки всережимной пружины /. В корпусе серводвигателя размещено четыре (на дизелях Д50 и 2Д50— три) поршня 10. Каждый поршень при включении электропневматического вентиля // поднимается на высоту 13,2 мм и с помощью рычагов 5, 6 и 7 воздействует на главный рычаг. Главный рычаг опускается под действием пружины 9.
Различным положениям контроллера машиниста соответствуют различные комбинации включенных вентилей. При этом различным комбинациям включенных вентилей соответствуют определенные подъем главного рычага и затяжка всережимной пружины.
На большинстве тепловозных дизелей с объединенными регуляторами применяется электрогидравлический механизм управления, который состоит из гидравлического серводвигателя и электромагнитов, управляющих положением золотника серводвигателя.
Различным положениям контроллера машиниста соответствуют различные включения электромагнитов МР. При этом различным комбинациям включения электромагнитов соответствует определенное положение поршня — упора затяжки всережимной пружины регулятора, определяющее заданную частоту вращения коленчатого вала дизеля. Электромагниты MPI, МР2 и МРЗ через треугольную пластину перемещают плунжер золотника, а электромагнит МР4 — втулку золотника (см. рис. 5.39).
Схема электрогидравлического механизма управления объединенным регулятором дизеля 11Д45 приведена на рис. 5.41. При перемещении контроллера на увеличение частоты вращения плунжер 9 опускается вниз (или втулка 10 поднимается вверх) и масло из магистрали поступает в полость над поршнем 2 серводвигателя 3 через дроссель 7, который уменьшает скорость перемещения поршня в сторону увеличения частоты вращения. При этом шток 4 серводвигателя через рычаги 5 и 8 поднимает плунжер вверх в положение, соответствующее новому положению поршня серводвигателя. При задании уменьшения частоты вращения плунжер поднимается вверх (или втулка опускается вниз) и масло через шариковый клапан 6 вытекает из полости серводвигателя в открытое сливное отверстие. Под действием пружины / поршень

Рис. 5.40. Электропневматический механизм управления регуляторами дизелей типов Д50 и Д100

Рис. 5.41. Электрогидравлический механизм управления регулятором дизеля 11Д45
серводвигателя перемещается вверх, уменьшая затяжку всережимной пружины регулятора. При этом шток серводвигателя опускает плунжер вниз в положение, соответствующее новому положению поршня серводвигателя. Нижний поясок плунжера 9 выполнен с перекрышей относительно сливного окна и имеет меньший диаметр. Благодаря этому перекрыша окна слива происходит с опережением и поршень серводвигателя вверх тоже движется плавно.
Механизмы управления топливными насосами. Механизм состоит из рычажной передачи, соединяющей рейки топливных насосов со штоками силового поршня серводвигателя регулятора и с предельным выключателем. Конструкция рычажной передачи определяется конструкцией и расположением на дизеле регулятора и топливных насосов.
Современные многоцилиндровые дизели имеют также механизм выключения части топливных насосов при работе на холостом ходу и малых нагрузках. Необходимость отключения части топливных насосов объясняется тем, что при малой подаче топлива ухудшается качество его распыливания, имеют место пропуски подачи. Кроме того, при низкой
частоте вращения и малых нагрузках дизеля ухудшаются условия воспламенения топлива в цилиндрах. Все это приводит к тому, что дизель работает неустойчиво, а несгоревшее топливо попадает на стенки цилиндров, смывая смазку и ухудшая условия трения деталей цилиндро-поршневой группы. Со стенок цилиндров топливо стекает в картер и приводит к разжижению масла. Механизм выключения имеет управление от контроллера машиниста и автоматически включает и выключает топливные насосы в зависимости от положения контроллера машиниста.
Устройства защиты дизеля. Для аварийной остановки дизеля или снятия нагрузки при превышении предельной частоты вращения коленчатого вала и предельных значений параметров, приведенных в табл. 5.2 и 5.3, имеются устройства защиты дизеля. Защита осуществляется для дизелей, приведенных в табл. 5.2, только при работе на высоких позициях контроллера машиниста (як = = 16).
К устройствам защиты дизеля относятся: предельные регуляторы частоты вращения коленчатого вала, реле давления масла, дифферен-
Таблица 5.2
|
Параметр |
Значение |
параметров для дизелей |
||||
|
14Д40 |
11Д45 |
5Д49 |
2Д70 |
|||
|
Остановка |
||||||
|
Давление масла ниже, кПа |
50 |
50 |
160 |
140 |
60 |
40 |
|
Давление в картере выше, кПа |
0,35 |
0,35 |
0,30 |
0,10 |
0,60 |
0,60 |
|
Частота вращения выше, об/мин |
950 |
980 |
870 |
870 |
1180 |
1120 |
|
Снятие нагрузки |
||||||
|
Температура воды выше, °С |
90 |
95 |
95 |
95 |
96 |
96 |
|
Температура масла выше, °С |
— |
85 |
75 |
75 |
88 |
86 |
|
Давление масла ниже, кПа |
100 |
100 |
220 |
200 |
280 |
300 |
Таблица 5.3
|
Параметр |
Значення параметров для дизелей |
|||||
|
2Д50 |
ПД1М |
М753(6) |
УРЕ17/24 |
Щ12 |
31001* |
|
|
Остановка |
||||||
|
Давление масла ниже, кПа |
150 |
150 |
150 |
50 |
250 |
100 |
|
Частота вращения выше, об/мин |
870 |
870 |
2000 |
1460 |
2000 |
840 |
|
Снятие |
нагрузки |
|||||
|
Температура воды выше, °С |
88 |
95 |
93 |
|||
циальные манометры для измерения давления в картере, температурные реле. Предельные регуляторы работают независимо от регулятора частоты вращения и при превышении допустимой частоты вращения выключают подачу топлива в цилиндры дизеля. Остальные устройства защиты воздействуют на прекращение или уменьшение подачи топлива через регулятор частоты вращения или электрическую схему регулирования нагрузки.










