5.3. Шатунно-кривошипный механизм
Шатунно-кривошипный механизм дизеля преобразовывает возвратно-поступательное движение поршней во вращательное движение коленчатого вала. Основные детали механизма — коленчатые валы, поршни и шатуны. Конструктивное исполнение шатунно-кривошипных механизмов зависит от особенностей конструкции дизеля, числа и расположения цилиндров.
Коленчатые валы. Вал дизеля подвержен воздействию переменных сил давления газов, инерции и вращающих моментов. Коленчатые валы изготавливают различными способами: свободной ковкой с последующей механической обработкой, горячей штамповкой, отливкой из стали и модифицированного или высокопрочного чугуна.
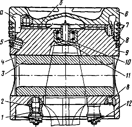
Коленчатый вал дизеля типа Д50 (рис. 5.17) — стальной кованый. Шесть колен вала расположены в трех плоскостях под углом 120°. Порядок работы цилиндров: /—3— 5—6—4—2, Для уменьшения массы

Рис. 5.17. Коленчатый вал дизеля типа Д50
шатунные шейки /—VI имеют отверстия 8. Смазка от коренных шеек /—7 (кроме четвертой) к шатунным подводится по трубкам 9 с развальцованными концами 10. Разъемная ведущая шестерня 13 крепится к валу 12 за буртом // хомутами 14 при помощи болта 15. Фасонный бурт 16 служит для уплотнения картера и устранения попадания масла в полость генератора. Со стороны генератора вал заканчивается фланцем 17, имеющим отверстия для установки втулок н болтов крепления якоря генератора. К фланцу 18 вала со стороны масляного насоса крепят поворотный диск.
Чугунные литые коленчатые валы установлены на дизелях типа Д100. Изготовление литых валов обеспечивает большую экономию материала и снижает затраты. Нижний и верхний коленчатые валы дизеля Д100 (рис. 5.18) отличаются друг от друга только конструкцией концевых частей. Валы имеют по 10 шатунных /—X и по 12 коренных /—12 шеек, выполненных для уменьшения массы пустотелыми 16. Коренные шейки валов смазываются маслом, поступающим через коренные подшипники. На шатунные шейки дизелей 2Д100 масло поступает по каналам 17. На дизелях 10Д100 масло от коренной шейки идет по двум косым каналам. Передний конец нижнего коленчатого вала имеет шпильку 19 и посадочное место 18 под антивибратор, а противоположный — фланец 14 для крепления пластинчатой муфты, соединяющей вал дизеля с валом генератора. К фланцу 15 крепится коническая шестерня, входящая в зацепление с шестерней вертикальной передачи.
Верхний коленчатый вал в передней части имеет посадочное место для крепления шестерни 20 привода распределительных валов, а в противоположной — фланец 13 для крепления шлицевой втулки, передающей вращение нагнетателю воздуха второй ступени. В дизеле 2Д100 на заднем конце верхнего коленчатого
вала установлен эластичный привод воздуходувки, ступица которого посажена на шпонке и закреплена торцовым диском. Мощность от верхнего коленчатого вала передается нижнему через вертикальную передачу.
Вертикальная передача дизелей 2Д100 (рис. 5.19, а) состоит из двух валов 6 и 7, соединенных эластичной муфтой 5. Эластичная муфта предохраняет зубья шестерен / и 2 от толчков при пуске и изменении частоты вращения валов дизеля, допускает небольшую несоосность валов при монтаже и компенсирует тепловое расширение блока и деталей передачи. Валы вращаются в подшипниках 3 н 4.
На дизеле 1 ОД 100 установлена облегченная вертикальная передача с торсионным валом (рис. 5.19, б). Вместо эластичной муфты к ступице присоединена муфта 8, с которой шлицами соединяется верхняя головка торсионного вала 9. Нижняя же головка торсионного вала имеет шлицевое соединение с полым валом.
Коленчатый вал дизеля 5Д49 (рис. 5.20) отлит из легированной стали и азотирован. Для уменьшения напряжений и перегрузки коренных подшипников от сил инерции на первой, восьмой, девятой и шестнадцатой щеках имеются противовесы 12, отлитые заодно целое со щеками. На фланце 17 установлен антивибратор, а на фланце отбора мощности //— ведущий диск муфты сцепления с тяговым генератором. Втулка, передающая через шлицевый вал вращение шестерням привода насосов, прикреплена к коленчатому валу болтами 16 и застопорена штифтами 15. Между девятой и десятой коренными шейками /—10 расположен фланец, к которому призон-ными болтами 14 прикреплена шестерня 13. От нее вращение передается шестерням привода распределительного вала.
Антивибраторы. Маятниковый антивибратор дизеля типа Д100 (рис. 5.21) имеет восемь плоских грузов 5,

вставленных с зазором в кольцевые проточки ступицы 2. Каждая пара диаметрально расположенных грузов навешена на два пальца 4 с зазором и может на них колебаться. Отверстия, куда вставляются пальцы, как в ступице 2, так и в грузах одного диаметра, а пальцы каждой пары 3, 9 грузов одинаковы между собой и отличаются по диаметру от пальцев 4, 8 другой пары. Получается, что у каждой пары грузов в отверстиях пальцев свой зазор. При отсутствии крутильных колебаний все грузы перемещаются радиально и занимают наиболее удаленные от оси коленчатого вала положения. При появлении критической частоты вращения соответствующая пара грузов начнет колебаться. Происходит это потому, что в валу появляются крутильные колебания и, когда направление упругого колебания вала в данный момент совпадает с вращением вала, грузы в силу закона инерции будут отставать, а когда направление колебания вала изменится и станет противоположно его вращению, грузы начнут забегать вперед. Таким образом, колебания грузов изменят частоту свободных колебаний вала и предотвратят совпадение ее с частотой вращающего момента, т. е. выведут вал из резонанса. От выпадания пальцы удерживаются планками 10. Для уменьшения износа пальцев и втулок, запрессованных в отверстия ступнцы и грузов, к ним подводится смазка. Путь смазки: от первого коренного подшипника, по кольцевой выточке 6, канавкам 7 и каналам / ступицы в радиальные желобки // грузов. Из кольцевой проточки 12 масло поступает для смазки эластичной шестерни привода масляного и водяного насосов.
Комбинированный антивибратор дизелей типа Д49 (рис. 5.22) состоит из маятникового антивибратора и демпфера вязкого трения. Он устанавливается на фланце коленчатого вала. В отверстия ступицы

Рис. 5.19. Вертикальные передачи дизелей типа Д100:
а —с эластичной муфтой; б— с торсионным валом
маятникового антивибратора запрессованы втулки. При помощи пальцев 2 к ступице / подвешены шесть маятников 3. Для смазки антивибратора масло подводится из полости коленчатого вала в кольцевую полость, из которой под действием центробежной силы поступает к пальцам и втулкам. Демпфер вязкого трения состоит из маховика 6 и корпуса 5 с завальцованной в него крышкой 4. Пространство между маховиком и корпусом заполнено жидкостью, имеющей высокую вязкость.
Поршни. В двигателях внутреннего сгорания поршни подвергаются воздействию значительных механических и термических нагрузок. Они изготавливаются нз материалов, обладающих малой плотностью, высокой износоустойчивостью и прочностью. На большинстве тепловозных дизелей применяются составные поршии (рис. 5.23). Поршни дизелей состоят из тронка /, головки 2 и вставки 3. На дизелях типа Д100 (и дизеле Д45А) применяются поршни, у которого чугунная головка и тронк отлиты в единую деталь (стакан), поршни дизелей типа Д49

Рис. 5.20. Коленчатый вал дизеля типа 5Д49
имеют стальную головку, а алюминиевые тронк и вставка представляют одно целое. Поршни дизелей типов Д50 и 31001? цельнолитые из алюминиевых сплавов. Детали составных поршней соединяются между собой с помощью болтов, шпилек или стопорных колец.
Вместе с крышкой цилиндра и втулкой поршень образует камеру сгорания. Поэтому форма днища поршня выбирается из условий обеспечения наилучшей организации процесса сгорания топлива. Поршень должен хорошо уплотнять рабочий цилиндр, поэтому поршни имеют подвижные уплотнительные кольца. Так как работа трения поршня составляет 50—60 % механических потерь в двигателе, то поршни вместе с кольцами при обеспечении уплотнения цилиндра должны обладать высокими антифрикционными свойствами и хорошо прирабатываться к зеркалу цилиндровой втулки. Для уменьшения потерь от трения втулки цилиндров смазываются маслом; однако избыток масла вреден, так как приводит к закоксовыванию уплотнительных колец и потере ими подвижности, поэтому в нижней части поршня устанавливают масло-срезывающие кольца. Надежная работа поршней определяет надежность всего дизеля. Для улучшения условий работы поршня в форсированных дизелях применяют масляное охлаждение. Поэтому конфигурация внутренней полости поршня делается с учетом наилучшего отвода тепла от днища и предохранения зоны поршневых колец от перегрева.
Поршень дизеля типа Д50 литой, из алюминиевого сплава (рис. 5.24). Днище поршня / имеет вогнутую форму, способствующую лучшему перемешиванию топлива с воздухом. На выступающих кромках имеются четыре выреза 2 для свободного открытия клапанов газораспределения. В пяти верхних канавках 3 установлены уплотнительные кольца, а в шестой верхней 4 и двух нижних 5— маслосрезмрающие кольца.

Рис. 5.21. Маятниковый антивибратор дизелей типа Д100
В канавках маслосрезывающих колец просверлены отверстия 6 для стока масла. Поршень не имеет масляного охлаждения. Высокая теплопроводность материала и большая толщина днища облегчают передачу теплоты к кольцам, которые в свою очередь отдают его втулке цилиндра.

Рис. 5.22. Комбинированный антивибратор дизеля типа 5Д49

Рис. 5.23. Схема устройства поршня двигателя внутреннего сгорания
На дизелях типа Д100 поршни (рис. 5.25) работают в условиях высокой тепловой напряженности, особенно нижний поршень, который
все время омывается горячими газами. Поршни изготавливают из чугуна. Вместо бобышек для установки пальца 6 шатуна имеется специальная вставка 5, которая к стакану / крепится стопорным кольцом 9 или шпильками (в старых конструкциях). Для улучшения отвода тепла поршни имеют масляное охлаждение. Каналы масляного охлаждения расположены симметрично относительно оси камег ры сгорания. Масло движется по каналам двумя параллельными потоками. Выход масла осуществляется через выфрезерованные канавки в плите и во вставке в полость между стаканами и вставкой. Из нижнего поршня масло стекает в картер через


Рис. 5.24. Поршень дизелей типа Д50
два боковых отверстия во вставке. Из верхнего поршня масло выбрасывается силами инерции через сливной канал во вставке и нижней плите. Поршневой палец плавающего типа свободно вращается во втулках вставки и шатуна. Камеру сжатия регулируют с помощью прокладок 4, установленных под верхней плитой 2, а зазор под стопорным кольцом 9 изменяется с помощью прокладок 7, установленных под нижней плитой 8.
Боковая поверхность поршня дизелей типа Д100 покрыта тонким слоем олова. Ушютнительные кольца 3 чугунные с медным пояском. Первое и третье кольца дизелей 1 ОД 100 имеют хромированную рабочую поверхность. Поршни дизелей типа Д49 (рис. 5.26) составной конструкции. Стальная головка б и алюминиевый тронк 9 скреплены четырьмя шпильками / с гайками 12 и втулками 2. Головка поршня охлаждается маслом, которое поступает из верхней головки шатуна через стакан 10, прижимаемый пружиной // к шатуну, в полость охлаждения днища, затем в кольцевую полость, а из нее сливается в картер по каналу б. Рабочая поверхность тронка покрыта слоем дисульфида молибдена. В отверстия бобышек тронка установлен поршневой палец 3 плавающего типа, фиксируемый кольцом 4. Уплот-нительные кольца 7 имеют трапецеидальное сечение и изготовлены из легированного высокопрочного чугуна с хромированной рабочей поверхностью. Маслосрезывающие кольца 8 размещены выше оси поршневого пальца, что обеспечивает хорошую смазку опорной части тронка. Нижнее маслосрезывающее кольцо имеет экспандер (кольцевую пружину). Резиновое кольцо 5 препятствует вытеканию масла между головкой и тронком.
Поршневые кольца. Уплотнитель-ные (компрессионные) поршневые кольца предназначены для уплотнения зазора между поршнем и цилиндром и отвода теплоты от поршня. Маслосрезывающие (маслосъемные

Рис. 5.25. Бесшпилечный поршень (нижний) дизелей типа Д100
и маслосгонные) кольца препятствуют попаданию масла в камеру сгорания. Кольца изготавливают разрезными. При работе они прижимаются к стенке цилиндра силами собственной упругости и давления газов. В особенно тяжелых условиях работает первое поршневое кольцо. В период сгорания силы от давления газов в 40—70 раз превышают силы собственной упругости. В зоне

Рис. 5.26. Поршень дизеля типа 5Д49
первого кольца при положении его в в. м. т. высокая температура и недостаток смазки приводят к большим износам как кольца, так и втулки цилиндра. Высокие температуры способствуют также пригора-нию поршневых колец. На поршни тепловозных дизелей обычно устанавливают 3—5 уплотнительных колец и 2—3 маслосрезывающих, изготовленных из специального чугуна. Наиболее распространенные типы сечений и замков поршневых колец приведены на рис. 5.27.
Уплотнительные кольца прямоугольного сечения с цилиндрической образующей типа 1 (рис. 5.27, а) — самые простые по форме. Их устанавливают на дизелях 1Д12, 1Д6, КбвЗИЮИ и некоторых других. Для

Рис. 5.27. Поршневые кольца:
а — сечения уплотнительных колец; б — сечения
маслосрезывающих колец; в — замки колец
улучшения прирабатываемости делают кольца типа 2 с конической образующей и узким опорным цилиндрическим пояском. Конусность наружной поверхности сохраняется в течение долгого времени работы. Угол составляет обычно от 0,5 до 2°. Такие кольца установлены на поршнях дизелей типов КбЗЗЮОИ, а также Д50 в третий и четвертый ручьи. В первый и второй ручьи (Д50) устанавливают кольца трапецеидального типа 3 с углом р = 7,5°. Применение трапецеидального сечения позволяет устранить пригорание колец и увеличить прочность гребней поршня.
В тяжелых условиях работы (двухтактные дизели типов Д100, Д40 и др.) применяются биметаллические кольца типа 4 с вставкой из бронзы и двойным конусом на наружной поверхности. На поршнях дизелей 11Д45 биметаллические кольца типа 5 для устранения пригорания имеют наклонную поверхность на верхнем торце и винтовую канавку на рабочей поверхности, которая после лужения заполняется дисульфидом молибдена. Бронзовая вставка при работе двигателя изнашивается, образуя на стенке цилиндра металлическую пленку, которая предохраняет втулку от задиров, увеличивает теплоотдачу. Для повышения износоустойчивости колец применяют хромовое их покрытие. В этом случае используют кольца с цилиндрической образующей по типу 1.
Маслосрезывающие кольца (рис. 5.27, б) применяются с коническими одной (тип 1) или двумя (тип 2) образующими с углом у, составляющим 18, а иногда и 45° (кольца типов 4, 5 поршней дизелей КбвЗЮОИ). У большинства маслосрезывающих колец для отвода масла профрезерованы окна. В некоторых конструкциях маслосрезывающих колец типа 4 для повышения упругости используются экспандеры (дизели КбвЗтОИ, 5Д49).
Замки колец (рис. 5.27, в) обычно бывают типа 1 косые под углом 45°
и в некоторых случаях прямые типа 2 (хромированные кольца). Замки внахлестку типа 3 применяются в маслосрезывающих кольцах дизелей Д100. В последнее время в качестве материала для верхних уплотнитель-ных колец применяется и сталь. Так, например, у дизелей типа М750 для увеличения надежности работы в первый ручей устанавливают стальные хромированные кольца трапецеидального сечения.
Поршневые пальцы. На дизели устанавливают пальцы двух типов: с жестким закреплением в бобышках поршня или вставки и плавающие. Плавающие пальцы имеют меньших износ и, что более существенно, износ по окружности пальца распределяется равномерно. В поршне двигателя Д50 палец плавающего типа. Бронзовая втулка головного подшипника шатуна имеет кольцевую канавку в средней части и четыре сверления для подвода смазки к подшипнику шатуна. Смазка пальца в бобышках производится изнутри. В осевом направлении палец фиксируется заглушками, которые стопорятся цилиндрическими штифтами. На двигателях 2Д100 установлены пальцы, жестко закрепленные в бобышках вставки. Палец фиксируется шпильками крепления вставки к поршню. В поршнях дизелей 10Д100 и 5Д49 палец плавающий (см. рис. 5.25 и 5.26), фиксируется от осевого перемещения стопорными кольцами 4.
Шатуны. Усилия от поршня к коленчатому валу передают шатуны, испытывающие при этом переменные нагрузки от давления газов и сил инерции. Конструкции шатунов обладают большой жесткостью. Стержни шатунов обычно имеют двутавровое сечение и изготовляются штамповкой. В У-образных дизелях применяются шатуны либо с прицепным сочленением главного и прицепного шатунов (дизели типов Д40, Д49, Д70 и др.), либо с центральным сочленением центрального и вильчатого шатунов (дизели типа
12\ТЕ 17/24). Прицепное сочленение обеспечивает необходимую жесткость нижней головки шатуна. При центральном сочленении в кривошипной головке вильчатого шатуна из-за недостаточной жесткости возникают значительные деформации.
Шатуны дизеля типа Д50 имеют две головки: верхнюю поршневую для соединения с поршневым пальцем и нижнюю кривошипную для соединения с шейкой коленчатого вала.
Стержень шатуна двутаврового сечения с утолщением в средней части, где проходит канал для масла. В верхней головке запрессована бронзовая втулка. На наружной и внутренней поверхностях втулки имеются кольцевые канавки, которые сообщаются между собой четырьмя отверстиями. Нижняя головка разъемная. Съемная часть — крышка — соединяется с шатуном болтами, стопорящимися от проворачивания штифтами. Крышка фиксируется двумя штифтами. Шатунный подшипник состоит из двух взаимозаменяемых вкладышей с заливкой из баббита.
Шатуны дизелей типа Д100 по конструкции аналогичны шатунам дизелей типа Д50. Верхняя головка шатуна имеет сферическую форму с полированной поверхностью на диаметре 98 мм под ползушку для обеспечения плотности скользящего сочленения. Втулка верхней головки шатуна состоит из двух втулок — стальной и бронзовой, соединенных запрессовкой с натягом. В нижней головке шатунов с бесканавочными вкладышами просверлены два косых отверстия вместо одного центрального для обеспечения непрерывной подачи смазки к верхней головке. Верхний и нижний шатуны дизелей типа Д100 имеют различную длину. Нижние шатуны удлинены, чтобы обеспечить условия выемки поршней через картер.
Шатунный механизм дизеля Д49 (рис. 5.28) состоит из главного 2 и прицепного 13 шатунов. Шатуны

соединены между собой пальцем 12, который установлен во втулке //, запрессованной в проушине главного шатуна. Прицепной шатун прикреплен к пальцу 12 двумя болтами 14, которые застопорены шайбами 15. В верхних головках обоих шатунов запрессованы стальные втулки / и 16, залитые свинцовистой бронзой. Для подачи масла к поршневому пальцу в средней части втулок имеется канал с двумя отверстиями. Нижняя головка главного шатуна имеет съемную крышку 6, которая прикрепляется к стержню четырьмя болтами 5. Стык нижней головки и крышки имеет зубцы треугольного профиля, препятствующие поперечному смещению крышки. В нижнюю головку главного шатуна установлены верхний 10 и нижний 8 стальные тонкостенные вкладыши, залитые свинцовистой бронзой. Тыльные поверхности вкладышей, которыми они опираются на крышку и шатун, покрыты медью. Вкладыши устанавливают с натягом, и положение их фиксируется штифтами 9 и 7. Натяг вкладыша, измеренный в специальном приспособлении, выбит на торце вкладыша. Верхний и нижний вкладыши невзаимозаменяемы. В нижнем вкладыше имеется канавка с отверстиями для перетока масла. По отверстиям и каналу в крышке 6 масло перетекает в канал нижней головки шатуна и по втулке 4, уплотненной кольцом 3, в канал стержня главного шатуна и к втулке 11, откуда через отверстие в пальце 12 в канал прицепного шатуна. Из втулок 1 а 16 через отверстия в верхних головках шатунов масло поступает на охлаждение поршней.
Вкладыши шатунных подшипников состоят из двух половин: верхней — рабочей, размещенной в нижней головке шатуна, и нижней — нерабочей, размещенной в крышке нижней головки шатуна.
Наружный диаметр вкладышей больше диаметра расточки нижней головки шатуна, что обеспечивает плотную посадку вкладыша и пред-
отвращает его проворачивание в головке шатуна при работе двигателя. Вкладыши шатуна должны иметь гарантированный натяг, измеряемый в специальных приспособлениях. В дизелях Д50 и Д100 установлены бронзовые вкладыши с заливкой баббитом БК2. Толщина слоя заливки 2 (рис. 5.29) после окончательной обработки составляет примерно 0,5—0,8 мм. В средней части вкладыша / дизеля Д50 (рис. 5.29, а) просверлено отверстие 3, которое с внутренней стороны заканчивается продолговатой выемкой, а с наружной стороны — цилиндрической раззенковкой. При сборке подшипника отверстие верхней половинки совпадает с осевым каналом в стержне шатуна и служит для прохода масла. Нижняя половинка вкладыша этим отверстием надевается на штифт крышки шатуна. Равномерное распределение масла по ширине подшипника обеспечивается наличием холодильников 5. Буртами 4 вкладыши плотно

Рис. 5.29. Вкладыши шатунных подшипников: а — дизеля Д50; б — дизеля 2Д100 (канавочиый); в — дизеля 10Д100 (бесканавочиый)
охватывают торцовые поверхности нижней головки шатуна и удерживаются от осевого перемещения. На дизелях 2Д100 установлены кана-вочные шатунные вкладыши (рис. 5.29, б). Канавка 4 проточена по всей внутренней поверхности вкладыша.
На дизелях IОД 100 бесканавочные шатунные вкладыши (рис. 5.29, в). Канавка 4 профрезерована только по концам верхней половинки вкладыша, до отверстия 3
Шатунные болты. Болты изготавливают из высококачественной стали с последующей термической обработкой. Для устранения концентрации напряжений сечения разных диаметров болтов имеют плавные переходы. Поверхность болтов шлифуется и полируется. Болты и гайки устанавливаются комплектно, для чего они маркированы попарно и имеют метки взаимного положения после окончательной затяжки. Корончатые гайки имеют три сквозных отверстия для шплинтовки, болты — два над резьбой.










