9.2. Водяная система и ее оборудование
Водяная система (рис. 9.8) служит для отвода и рассеивания в окружающую среду тепла от двигателя для обеспечения его нормальной работы в течение длительного времени, независимо от величины его загруженности. Чем уже диапазон температур частей двигателя в рабочих режимах, тем надежнее его работа. Температура воды в дизелях должна поддерживаться в диапазоне 65... 85 "С. Увеличение или понижение температуры по сравнению с нормативной существенно влияет на интенсивность износа трущихся частей механизма двигателя. В процессе поддержания теплового режима двигателя разность температур воды на выходе из дизеля и входе в него должна быть не более 10 "С.
Это условие требует интенсивной циркуляции охлаждающих жидкостей (воды, масла), поэтому устанавливают насосы (масляный и водяной) с высокой подачей. Например, на тепловозах 2ТЭ116 и ТЭП70 подача водяного насоса 80 м3/ч, а масляного — ПО м3/ч (масса масла — 1000 кг). Водяные системы охлаждения подразделяются на открытые и закрытые.
Открытые водяные системы охлаждения применяются при среднетемпературном охлаждении (температура воды на выходе из дизеля 85...90°С).
В закрытых или высокотемпературных водяных системах охлаждения допускаемая температура воды равна 120 "С и выше.
Также водяные системы подразделяются на одно-, двух- и трех-контурные (рис. 9.9).
В одноконтурных водяных системах с воздушно-радиаторным охлаждением горячая вода из дизеля поступает в холодильник, откуда засасывается насосом и нагнетается в дизель для охлаждения цилиндров.
В двухконтурных водяных системах охлаждения есть дополнительный контур циркуляции воды для охлаждения масла и наддувочного воздуха.
В трехконтурных системах в одном независимом контуре охлаждается вода дизеля; в другом — вода, охлаждающая масло дизеля; а третьим независимым контуром воды охлаждается наддувочный воздух.
Трехконтурные водяные системы охлаждения создают наиболее благоприятные условия работы ДВС, однако при этом значительно усложняют конструкцию дизеля и системы охлаждения, снижая надежность тепловоза.

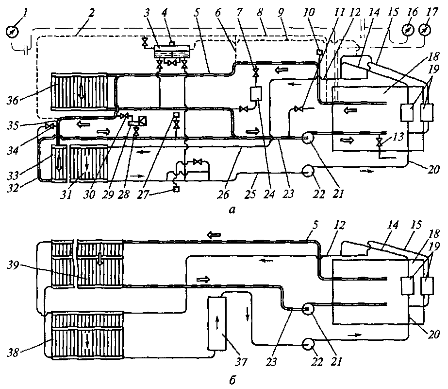
Рис. 9.8. Схема водяной системы дизеля:
а — с масляными секциями и расширительным баком; б — с водомасляным теплообменником; 1, 10, 16, 17 — электротермометры; 2, 6, 8, 9 — трубы от воздушных и паровых «пробок»; 3 — расширительный бак; 4 — заправочная горловина; 5, 12, 14, 15, 20, 23, 25, 26, 32 — соединительные трубопроводы; 7 — вентиль; 11, 13 — вентили к калориферам; 19 — воздухоохладитель; 21, 22 — водяные насосы; 27— заправочные и сливные головки; 28, 30, 34— вентили; 29 — терморегулятор управления вентилятором; 31, 33, 36, 38, 39 — радиаторы; 35 — трубопровод; 37 — водомасляный теплообменник
Высокотемпературное охлаждение ДВС является наиболее эффективным направлением по созданию компактных систем с уменьшением затрат мощности на их функционирование. Закрытая водяная система должна иметь повышенное давление, исключающее кипение и образование паровых пробок. Такие системы применяются на тепловозах ТГ16, 2ТЭ116 и др. С увеличением секционной мощности тепловозов переход на закрытые водяные системы охлаждения неизбежен, так как они более эффективны при уменьшенных габаритах, что крайне важно для тепловозостроения.
На рис. 9.10 приведена конструкция центробежного водяного насоса дизеля 14Д40 с подачей 75 м3/ч при напоре 0,35 МПа и

Рис. 9.9. Схемы водяных систем тепловозных дизелей:
а — трехконтурная; б — двухконтурная; в — одноконтурная; ВО — воздухоохладитель; Д — дизель; Ш, Н2, НЗ — водяной насос; ВМТ — водомасляный теплообменник; ВВР — водовоздушный радиатор

Рис. 9.10. Насос водяной:
1 — колесо; 2 — вал; 3 — болт; 4 — замок; 5, 14, 24 — фланцы; 6 — пробка; 7 — улитка; 8 — пружина; 9 — прокладка; 10, 11, 28 — втулки; 12 — обойма; 13, 21, 27 — кольца; 15— гайка; 16— шпонка; 17 — зубчатое колесо; 18, 22— шарикоподшипники; 19 — распорная втулка; 20 — кронштейн; 23 — отбойник; 25 — уплотнение; 26 — корпус; а, б — каналы; Ъ — зазор
п = 750 об/мин; на тепловозе запас воды 950 кг. Колесо 7 установлено на конус вала 2 и закреплено болтом 3, застопоренным пластинчатым замком 4. Опорами вала служат шарикоподшипники 18 и 22. На цилиндрическом конце вала, на шпонке 16, установлено приводное зубчатое колесо 17, которое вместе с шарикоподшипниками, распорной втулкой 19, лабиринтовым уплотнением 25 и отбойником 23, закреплено на валу гайкой 15.
Основными неисправностями центробежных водяных насосов являются: изломы валов; трещины и ослабление рабочего колеса на валу; снижение подачи и уменьшение давления нагнетания воды вследствие увеличения радиальных зазоров между корпусом и рабочим колесом; износ втулки или вала, сопрягающихся с сальниковым уплотнением; трещины в корпусе; износ и повреждение подшипников.
При техническом обслуживании и текущем ремонте ТР-1 прослушивают насос при работающем дизеле — посторонний шум свидетельствует о ненормальной работе, осматривают доступные части насосов и их приводов и убеждаются в надежности их крепления, проверяют частоту каплепадения — при частоте вращения

Рис. 9.11. Схемы размещения радиаторов на тепловозах:
а -2ТЭ10В (Л); б - ТЭП60; в - 2ТЭП6; г - ТГ16; ТЭП70; д - ТЭ109 (стрелками показано течение охлаждающего воздуха); 1, 6 — поворотные жалюзи; 2 — секции радиаторов нормальной длины; 3 — секция радиатора укороченная; 4 — вентиляторное колесо; 5 — диффузор; 7, 8 — горизонтальные и наклонные листы шахты холодильника; 9 — коллектор; 10 — карданный вал; 11 — редуктор; 12 — гидростатический мотор; 13 — электропривод вентилятора
коленчатого вала 400 об/мин должно быть не более 20 капель в минуту через текстолитовое уплотнение.
При проведении ТР-2 снимают всасывающую головку для обследования крепления и прочности посадки крыльчатки на валу; при ТР-3 и КР — насосы снимают, разбирают, ремонтируют и испытывают на стендах.
Охлаждающие устройства тепловоза занимают часть кузова тепловоза, называемую холодильной камерой или шахтой холодильника. Они состоят из секций радиатора, коллекторов, вентилятора и его привода, жалюзи и системы управления жалюзи. Схемы размещения радиаторов в кузове представлены на рис. 9.11. На тепловозах применяются вентиляторы с механическим, электрическим и гидростатическим приводом.

Рис. 9.12. Водовоздушная секция радиатора:
а — общий вид; б — сечение трубки; 1,7 — плоскоовальные трубки; 2— нижняя (верхняя) коробка; 3 — стальной коллектор; 4 — отверстия для воды; 5 — отверстия для шпилек; 6 — медная пластина; 8 — пластины оребрения; / — длина радиатора; 1Р — активная длина радиатора
Система управления открытием и закрытием жалюзи регулирует величину потока охлаждающего воздуха в зависимости от температуры охлаждающей жидкости.
Секции радиаторов представляют собой часть общего радиатора и применяются нормальной и укороченной длины. Секция радиатора (рис. 9.12) — это многотрубный теплообменник, состоящий из двух пакетов тонкостенных плоскоовальных трубок из латуни марки Л96 (томпак). Общее число трубок 76, из них 68 — рабочие, а 8 — глухие, обеспечивающие жесткость секции. Каждый пакет трубок имеет общие ребра из пластин медной фольги, толщиной 0,1 мм с шагом 2,3 мм, припаянные к трубкам и предназначенные для увеличения плоскости охлаждения воздухом.
На современных тепловозах секции радиаторов применяются в основном для охлаждения воды, дизеля или воды, охлаждающей наддувочный воздух и масло дизеля. Такая система значительно повысила надежность тепловоза, так как применявшиеся ранее воздушно-масляные секции быстро засорялись, плохо поддавались промывке и не обеспечивали надежного охлаждения масла дизеля.
Водомасляные теплообменники устанавливаются на всех выпускаемых современных тепловозах. Они представляют собой кожухотрубные теплообменники, в которых одна жидкость (вода) протекает по трубкам, а другая (масло) омывает их снаружи, заполняя кожух. На рис. 9.13 представлен теплообменник с разъемным кожухом. Водомасляные теплообменники других тепловозов устроены, в принципе, так же. Они

Рис. 9.13. Водомасляный теплообменник тепловоза 2ТЭ10В:
I — пучок (955 шт.) медных трубок; 2, 17, 18 — патрубки выходящего масла; 3 — выход воды; 4, 13 — патрубки входа и выхода охлаждающей воды; 5, 15 — крышки теплообменника; 6, 12 — патрубки для входа масла; 7, 8, 9 — верхний, средний и нижний кожухи корпуса теплообменника; 10 — сегментные перегородки;
II — рубашка перегородок; 14 — вход воды; 16 — сальниковое уплотнение;
19 — резиновые кольца
могут отличаться числом и длиной трубок, числом ходов масла и т.п. В теплообменниках тепловозов 2ТЭ116 и ТЭП70 применены трубки, имеющие наружное поперечно-винтовое оребрение, увеличивающее поверхность теплообмена со стороны масла. Оребрение создается путем накатки. Недостаток такой конструкции — трудность очистки масляной полости от загрязнений.
Воздухоохладители применяются в системах воздухоснабжения дизеля. Они представляют собой водовоздушные трубчатые теплообменники, в которых по трубкам протекает вода из системы охлаждения, а пространство между ними омывается воздухом.


Рис. 9.14. Охладитель наддувочного воздуха:
1 — водяной патрубок; 2, 7— передняя и задняя крышки; 3 — трубная доска; 4 — латунная трубка; 5 — банка; 6 — боковой лист; 8 — рамка; 9 — перегородка
В настоящее время продолжается поиск наиболее рациональной конструкции (малогабаритной и высокоэффективной) воздухоохладителя, но принципиального отличия от представленной на рис. 9.14 между ними нет.
В эксплуатации наиболее часто встречающимися неисправностями секций холодильников являются течи из-за обрыва трубок и нарушения пайки у решеток; загрязнение наружных поверхностей трубок отложениями грязи и пыли, а внутренних — продуктами окисления масла, нагаром и накипью. У масляного теплообменника наиболее характерными неисправностями являются течь трубок и загрязнение внутренней поверхности. У воздухоохладителей, помимо течи трубок и загрязнения внутренних поверхностей, возникают также трещины сварных швов корпуса и крышек.
При проведении ТО-2 и ТО-3 у секций холодильника проверяют плотность соединений, убеждаются в отсутствии течи масла и воды, контролируют исправность действия и плотность закрытия жалюзи. В летнее время через одно ТО-3 секции холодильника продувают сжатым воздухом. В зимнее время проверяют исправность утеплительных щитов. Теплообменники и воздухоохладители осматривают снаружи и контролируют надежность их крепления. Проверяют состояние трубопроводов воды, масла и воздуха, герметичность их соединений и креплений.
При проведении ТР-1, помимо перечисленных операций, проверяют исправность системы автоматического и ручного регулирования температуры воды и масла. Обнаруженные течи устраняют, при ухудшении функционирования — промывают масляную полость. Для этого маслоохладитель снимают с тепловоза и устанавливают на стенд для промывки охлаждающих секций. Сначала в течение 30 мин трубное пространство промывают раствором (состав раствора: вода температурой 40...60"С; кальцинированная сода — 3...5 %; жидкое стекло — 1 %; хозяйственное мыло — 1 %), затем в течение. 15 мин — горячей водой. После этого последовательно раствором и горячей водой промывают межтрубное пространство.
В локомотивных депо получила распространение технология промывки секций холодильника методом пневмогидроудара без снятия их с тепловоза, которая применяется при текущих ремонтах ТР-1 и ТР-2.
Промывка каждого контура осуществляется отдельно. Для этого перекрываются соответствующие вентили. Из контура, предназначенного к промывке, сливается вода. Средняя секция соответствующего контура снимается, а на коллекторы (верхний и нижний) устанавливают патрубки с рукавами. Один рукав подключают в воздушной сети депо через пробковый кран, а другой, соединенный с верхним коллектором, соединяют с трубой для слива воды.
Затем контур заполняют горячей водой (40...60°С). Заполнение считается законченным при появлении воды из рукава верхнего коллектора. Вентиль заправки перекрывают. Подачу воздуха производят импульсами по 5... 10 с с интервалами 5...6 с. Общая продолжительность очистки составляет 6...8 мин. При необходимости добавляют воду и операцию очистки повторяют.
При проведении ТР-3 секции холодильника, водомасляный теплообменник, воздухоохладитель снимают с тепловоза, затем промывают, проверяют, нужен ли ремонт, разбирают, ремонтируют, после сборки и ремонта опрессовывают. Отделение по ремонту секций холодильников, теплообменников должно иметь хорошую вентиляцию с местными отсосами на рабочих местах для обеспечения удаления вредных испарений.










