4.8. Неподвижные конусные соединения
В рассматриваемых соединениях две детали с коническими сопрягаемыми поверхностями фиксируются неподвижно натягом. Натяг создается за счет напрессовки обхватывающего конуса на обхватываемый. Работоспособность данного соединения чаще всего нарушается в результате ослабления деталей в посадке. Обнаруживают ослабление по тем же признакам и путем тех же проверок, что и ослабление деталей прессового соединения. Аналогично с соблюдением тех же условий ведется в случае надобности и разъединение деталей. Усилие, необходимое для разъединения, зависит от величины конуса сопрягаемых поверхностей. По мере увеличения конуса сила, требующаяся для распрессовки, уменьшается.
Ремонт. Работоспособность такого соединения в зависимости от характера повреждения деталей можно восстановить следующими способами:
• при незначительных изъянах — приданием поверхностям деталей правильной конической формы и необходимой шероховатости шлифованием, проточкой, обработкой конусными развертками с последующей взаимной притиркой сопрягаемых поверхностей;
• при значительных повреждениях — наращиванием конусов (вибродуговой наплавкой, осталиванием, металлизацией), постановкой детали в отверстие охватывающей детали или заменой конусной части конца вала с последующей механической обработкой и взаимной притиркой сопрягаемых поверхностей.
При выборе способа ремонта следует учитывать характер усилий, воспринимаемых соединением (ударное, знакопеременное и т.п.), конструкцию и материал деталей, экономическую целесообразность выбранного способа и наличие оборудования.
Весьма важно при обработке рассматриваемых деталей, как и при ремонте подвижных конусных соединений, обеспечить соосность их конусных и цилиндрических поверхностей. Хотя в данном соединении несоосность и не влияет на процесс взаимной притирки деталей, однако значительно ухудшает работу смежных узлов. Дело в том, что даже при правильной центровке валов имеет место биение фланцев муфт, насаженных на эти валы. При несоосности конусов фланцев (а следовательно, и валов) биение валов намного увеличивается, а это, как известно, способствует быстрому выходу из строя деталей соединительных муфт, подшипников и т.д.
Притирка деталей. Для нормальной посадки необходимо, чтобы коническая поверхность охватывающей детали плотно прилегала к конусу вала. Прилегание проверяют по краске. Если отпечаток краски неравномерный и занимает менее 75 % площади сопряжения, то производят взаимную притирку деталей. Притирка и контроль качества прилегания проводятся, как и при ремонте подвижных деталей. Чтобы охватывающая деталь занимала правильное положение, а также для возможности использования ее массы, притирку ведут при вертикальном положении осей притираемых конусов. Площадь сопряжения можно приближенно определить по ширине и высоте притирочного следа.
Сборка. Если размеры деталей точно выдержаны, прилегание конических поверхностей равномерное и не менее 75 % площади сопряжения, то в дальнейшем прочность рассматриваемого соединения будет зависеть от качества сборки.
Сборку можно вести холодной напрессовкой, нагреванием обхватывающей или охлаждением обхватываемой детали. Холодная напрессовка может быть осуществлена за счет усилия, создавае-

Рис. 4.18. Сборка неподвижного конусного соединения:
а — после притирки зубчатого колеса по валу; б — после насадки зубчатого колеса на вал; 1 — шестерня; 2 — вал; А, и А2 — значения натяга
мого поворотом обычной гайки на конце вала, падающим грузом или гидравлическим прессом. Гайку затягивают предельным или динамометрическим ключом. О преимуществах и недостатках этих способов сборки говорилось при описании ремонта прессовых соединений.
Натяг в соединении достигается за счет передвижения (просадки) охватывающей детали 1 (рис. 4.18) по валу 2 на расстояние Л/г =Ъ,Х -И2. Величину Л] измеряют перед напрессовкой после притирки детали 1 по валу. Расстояние А/г для каждого соединения указывается на чертеже. Например, это расстояние при монтаже шестерни на вал якоря тягового электродвигателя равно 1,1... 1,35 мм.
На примере монтажа шестерни на вал якоря тягового электродвигателя рассмотрим, какие ошибки чаще всего встречаются при сборке неподвижных конусных соединений.
Первая ошибка — образование на конических поверхностях деталей незаметных на глаз уступов. На конусе вала 2 — со стороны большого основания, а у шестерни 1 — со стороны меньшего основания конуса (рис. 4.18, а). Они возникают при повторной притирке шестерни на валу из-за истирания металла деталей каждый раз примерно на 0,02...0,03 мм. Если эти маленькие уступчики не заметить и своевременно не удалить, шестерня после насадки будет удерживаться на валу лишь в местах сопряжения с уступами (рис. 4.18, б) и в процессе эксплуатации провернется на валу.
Вторая ошибка — отсутствие зазора а (рис. 4.19), вызываемое неточностью обработки конусов деталей и повторными притирками шестерни на валу. По величине зазора а обычно судят о надежности стопорения охватывающей детали на валу гайкой 4. Наличие зазора а свидетельствует о том, что в соединении имеется гарантированный натяг, который при надобности можно увеличить за счет дополнительной затяжки гайки.

Рис. 4.19. Сборка неподвижного конусного соединения: 1 — шестерня; 2 — стопорная шайба; 3 — вал, 4 — гайка, а — зазор
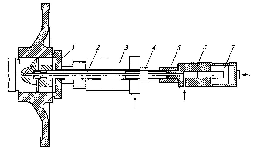
Маслопрессовая сборка деталей. Мультипликатор состоит из цилиндра и ступенчатого поршня. Давление масла в нем увеличивается пропорционально отношению площадей ступенчатого поршня. Подавая ручным масляным насосом масло под давлением до 35 МПа при отношении площадей поршня 1:8, мультипликатор развивает давление около 280 МПа (рис. 4.20).
Масло от мультипликатора к осевому сверлению вала передается через шпиндель или удлинитель. Шпиндель на одном конце имеет резьбу для соединения с мультипликатором, а на другом — для соединения с центровым отверстием вала. На шпинделе имеется также наружная резьба для установки приспособлений для насаживания и съема деталей. Уплотнение мест соединения деталей и мультипликатора осуществляется медными уплотняющими шайбами или кольцами.
Сборка деталей. Перед сборкой необходимо тщательно проверить шероховатость и форму конусной поверхности, а также наличие сверлений и канавки подвода масла в зону сопряжения. Если детали удовлетворяют всем требованиям, то втулка (фланец, рабочее колесо гидроаппарата, шестерня и др.) плотно насаживается на конусную часть вала от руки.
Затем монтируют шпиндель с установкой уплотнительной шайбы. На шпиндель надевают упорную шайбу, гидропресс с центральным отверстием и нажимную гайку. К свободному торцу шпинделя присоединяют мультипликатор.
Ручным насосом масло подается в зону малого поршня мультипликатора. При этом оно заполняет осевое сверление шпинделя, вала и канавку подвода масла в зону сопряжения. Давление масла составляет 35...40 МПа. Затем тем же ручным масляным насосом через переключатель масло подается в зону большого поршня мультипликатора. Ступенчатый поршень, перемещаясь в сторону малого поршня, увеличивает давление в зоне сопряжения. Масло растекается между сопрягаемыми поверхностями де-

Рис. 4.20. Маслопрессовая сборка конусных соединений:
/ — упорная шайба; 2 — шпиндель; 3 — гидропресс; 4 — нажимная гайка; 5 — штуцер; 6 — корпус мультипликатора; 7 — ступенчатый поршень
талей и расширяет отверстие ступицы втулки. Давление масла контролируется по манометру. Оно ни в коем случае не должно превышать допустимых значений, указанных на чертеже. В противном случае может произойти пластическая деформация деталей.
Одновременно вторым ручным насосом масло подается в гидропресс, и втулка напрессовывается на конусную часть вала. Процесс напрессовки производится постепенно. При этом втулка насаживается на вал по масляной пленке высокого давления, создавая необходимый осевой натяг.
После напрессовки масло из мультипликатора сливается в сливную камеру ручного насоса, и мультипликатор снимается. Втулка под действием упругих сил сжимается и вытесняет масло из зоны сопряжения. Давление масла в зоне сопряжения уменьшается медленно; до полного снижения давления может пройти до трех часов. Поэтому в течение этого времени нельзя нагружать масло-прессовое конусное соединение. Гидропресс можно снимать не ранее чем через 15...20 мин после снятия мультипликатора.
Восстановление геометрических размеров сопрягаемой поверхности деталей хромированием нежелательно, так как коэффициент трения пары хром — сталь составляет 2/3 коэффициента трения пары сталь — сталь. Если деталь все же покрыта хромом, то величина осевого натяга должна быть максимально допустимой. Масло в зону сопряжения может подводиться и через канал в ступице втулки.
Разборка деталей. Перед разборкой деталей с прессовой посадкой монтируют шпиндель таким же образом, что и при сборке.
На шпиндель надевают упорную шайбу и закрепляют гайкой на расстоянии от торца ступицы втулки, несколько большем величины ее осевого натяга. К свободному торцу шпинделя присоединяется мультипликатор.
Впрессовывание масла в зону сопряжения деталей должно производиться медленно, в течение 8... 10 мин, с тем чтобы оно могло равномерно просочиться между сопрягаемыми поверхностями деталей и расширить втулку (фланец, колесо гидроаппарата и др.). Давление масла должно обязательно контролироваться по манометру и не должно превышать допустимых значений, указанных в чертеже.
При быстрой распрессовке деталей маслом высокого давления появляется опасность местного увеличения давления и местной пластической деформации деталей.
При нормальном исполнении маслопрессовой посадки на конусной поверхности при распрессовке втулка расширяется и соскакивает с конусной части вала. Для защиты мультипликатора от удара на шпинделе должна обязательно ставиться упорная шайба с гайкой.
Если посадка не разбирается, то необходимо, поддерживая давление масла в зоне сопряжения, слегка ударить по втулке в направлении съема. Если масло вытекает наружу, а соединение не разбирается, то следует применить более вязкое масло. В качестве такого масла используют авиационное масло МС20 или МК20. Масло с большей вязкостью применять не разрешается. Если и последнее мероприятие не помогает, то необходимо применить съемник и одновременно впрессовывать масло в зону сопряжения.
При правильной подготовке и выполнении маслопрессовой конусной посадки сопрягаемые детали можно собирать и разбирать многократно, без ухудшения передаточной способности соединения. При неоднократном снятии и насаживании втулки на поверхностях сопряжения может наблюдаться сглаживание «гребешков» неровностей, поэтому допускается уменьшение длины насаживания до 15 %. Необходимо при этом учитывать, что величина передаваемого вращающего момента зависит от величины осевого натяга. Если она меньше величины, указанной на чертеже, необходимо заменить или восстановить детали соединения.
Правила выполнения работ. В процессе подготовки насоса высокого давления, мультипликатора и гидропресса к работе необходимо убедиться в наличии клейм, удостоверяющих, что они выдержали контрольные испытания давлением. Особое внимание следует обращать на состояние резьбы и уплотнительных шайб, которые изготовляются из отожженной меди.
При работе с мультипликатором проверяют состояние шлангов высокого давления и надежность крепления их в наконечни-
ках. Резьба наконечника на расстоянии 10... 12 мм от торца должна быть закалена до твердости HRC 30...35.
После заполнения насоса маслом хвостовик его или наконечник шланга мультипликатора вворачивается в резьбовое отверстие маслопроводящего канала. Медленно увеличивая давление масла в системе, убеждаются в отсутствии течи, которую можно устранять только при отсутствии давления в системе.
Для разборки вал желательно устанавливать вертикально, чтобы вес снимаемой детали в какой-то мере гасил кинетическую энергию соскока детали с конусной части вала. Кроме того, снимаемая деталь укрепляется в амортизирующих захватах или устанавливаются упорные шайбы.
В процессе разборки соединения обязательно контролировать по манометру величину давления масла в зоне сопряжения деталей. При этом нужно находиться только со стороны защитного стекла манометра высокого давления.
Величина давления масла в момент разборки маслопрессовой конусной посадки в значительной мере зависит от скорости его нарастания. Поэтому давление рекомендуется увеличивать медленно, а при достижении 100 МПа необходимо через каждые 10 МПа делать выдержку 1... 2 мин, что обеспечивает равномерное распределение масла по сопрягаемым поверхностям деталей и предотвращает появление местных пластических деформаций металла.
Давление масла в зоне сопряжения деталей узла при нормальном исполнении маслопрессовой конусной посадки составляет 120... 180 МПа. При всех условиях не следует повышать его более 250 МПа.
В процессе монтажа и демонтажа маслопрессовой конусной посадки не допускается стоять по траектории движения снимаемой детали, а также напротив насоса высокого давления масла и мультипликатора. Руки рабочего не должны находиться в зоне снимаемой детали. После разборки соединения втулку (фланец, колесо гидроаппарата и др.) снимают с конусной части вала и защищают посадочную поверхность деталей чехлами или другими защитными устройствами от повреждений.










