2.1. Характеристика системы технического обслуживания и ремонта тепловозов
Надежность тепловоза определяется совершенством его конструкции, технологии изготовления, а также уровнем технического обслуживания и ремонта. В процессе эксплуатации на тепловоз воздействуют различные факторы. Ему приходится работать при температуре наружного воздуха от -50 до +40 °С, когда идет дождь, снег или проносится песчаная буря; на дорогах с хорошим и плохим состоянием пути; тянуть поезда по перевалистому пути; работать на горных участках, где воздух более разрежен, чем на равнине; часто останавливаться и вновь набирать нужную скорость.
Каждый из этих факторов дает о себе знать по мере нарастания пробега. Механизмы тепловоза постепенно изнашиваются, в результате чего изменяются геометрические размеры и форма деталей, характер посадки сопряженных деталей и качество их поверхностей. Прочность многих деталей под влиянием высоких температур и значительных удельных нагрузок уменьшается, они теряют работоспособность и начинают разрушаться. Изоляция токове-дущих частей электрического оборудования постепенно стареет под воздействием токовых нагрузок и осаждения на замасленных и увлажненных изоляционных поверхностях токопроводящих загрязнений. Резиновые детали теряют эластичность, покрываются сеткой трещин и разрушаются. Фильтры, предназначенные для очистки масла, топлива и воздуха, загрязняются и перестают выполнять свои функции. Многие детали и механизмы загрязняются, покрываются нагаром, накипью, коррозией, окислами и т.п.
Все это приводит к тому, что тяговые качества тепловоза ухудшаются, он становится менее надежным, часто начинает «болеть», расходы на его содержание возрастают. И, если в процессе эксплуатации не принять своевременно нужных мер, то тепловоз, не достигнув предельного возраста, перестанет выполнять свои функции. Каждый новый тепловоз имеет определенные показатели надежности и работоспособности, которые характеризуют его качество.
Надежность — это свойство тепловоза выполнять тяговые функции, сохраняя во времени значения установленных эксплуатационных параметров в заданных пределах, соответствующих за-
данным режимам и условиям использования, технического обслуживания, ремонтов, хранения и транспортирования. Надежность является комплексным свойством, включающим в себя безотказность, долговечность, ремонтопригодность и сохраняемость.
К эксплуатационным параметрам относятся мощность, скорость, расход топлива и т. п. Если надежность сборочной единицы локомотива равна 0,95, то это означает, что 95 % данных сборочных единиц, находящихся в эксплуатации, проработают установленный период без отказа, а 5 % откажут.
Безотказность — это свойство тягового подвижного состава непрерывно сохранять работоспособность в течение заданного времени без вынужденных перерывов на ремонт.
Долговечность — это способность тепловоза сохранять работоспособность до наступления предельного состояния при установленной системе технического обслуживания и ремонта.
Ремонтопригодность — это приспособленность тепловоза к предупреждению и обнаружению причин возникновения отказов, повреждений и устранению их путем проведения технического обслуживания и ремонта.
Сохраняемость — это свойство тепловоза непрерывно сохранять исправное и работоспособное состояние и при нахождении в резерве или транспортировании, и после этого срока.
Исправность или неисправность — это состояние тепловоза, при котором он соответствует всем требованиям или не соответствует хотя бы одному из требований Правил технической эксплуатации (ПТЭ) и Правил ремонта (ПР).
Работоспособность — это состояние тепловоза, при котором он способен выполнять заданные функции, сохраняя значения заданных параметров в пределах, установленных нормативно-технической документацией. Такими параметрами являются мощность, скорость, расход топлива и смазки и другие параметры.
Не всякая неисправность связана с потерей работоспособности. Например, у тепловоза повреждена окраска или подтекает сальник водяного насоса дизеля и т. п. Такая машина неисправна, однако она остается работоспособной. Нарушение исправного состояния тепловоза при сохранении его работоспособности называется повреждением.
Отказ — это событие, в результате которого тепловоз полностью или частично теряет свои тяговые свойства. Отказом локомотива следует считать любую техническую неисправность, вызвавшую внезапную остановку поезда на участке для ее устранения. Отказы делятся на две группы: катастрофические (внезапные) и параметрические (постепенные).
Катастрофические отказы — это отказы, которые обычно трудно предупредить, так как их появления не могут быть установлены заранее. Параметры катастрофических отказов обычно неизвестны,
или не поддаются контролю, либо требуют весьма трудоемкого и дорогостоящего контроля.
Параметрические отказы — это отказы, связанные с наблюдаемыми изменениями (регулировки, износа и т.п.). Эти параметры можно контролировать, а значит, их можно предотвращать соответствующими воздействиями на эти параметры. События, которые приводят к отказу тепловоза или его агрегатов, носят случайный характер, и поэтому предупреждение отказов представляет собой сложную задачу.

Важным показателем надежности является интенсивность отказов — X. В упрощенном варианте интенсивность отказов есть отношение числа отказавших сборочных единиц в единицу времени (или пробега) к среднему числу сборочных единиц, исправно работающих в течение этого же периода.
Многочисленными исследованиями установлена характеристика распределения отказов во времени или пробеге тепловоза (рис. 2.1).
Характеристика А,(/) состоит из трех периодов:
I — отказы в период приработки;
/7 — период нормальной эксплуатационной работы с постоянным потоком отказов;
///— период нарастания отказов вследствие старения и интенсивного изнашивания деталей сборочной единицы и тепловоза в целом.
Техническое обслуживание. Техническое обслуживание — это система мероприятий профилактического характера, предназначенная для снижения интенсивности изнашивания деталей, сборочных единиц и агрегатов тепловозов; своевременного выявления неисправностей; предупреждения отказов путем диагностирования без разборки; поддержания тепловозов в работоспособном состоянии, обеспечивающем их бесперебойную работу и безопасность движения в соответствии с требованиями ПТЭ.
Техническое обслуживание ТО-1 выполняется локомотивными бригадами при приемке и сдаче тепловоза, а также в пути следования его с поездом. Бригады выполняют работы по смазыванию, креплению ослабших соединений, проверке состояния экипажа, тормозного оборудования и тяговых электродвигателей. Локомотивные бригады несут ответственность за правильный режим работы тепловоза, своевременное предупреждение и устранение выявленных неисправностей и содержание его в исправном состоянии.
Техническое обслуживание ТО-2 проводят на специальных смотровых канавах и в пунктах технического обслуживания локомотивов (ПТОЛ), оборудованных средствами диагностики, специальными приспособлениями и инструментом и располагающих технологическим запасом деталей и материалов. Работы выполняют высококвалифицированные слесари под руководством мастера. На маневровых и вывозных тепловозах ТО-2 выполняют слесари совместно с локомотивными бригадами. В состав работ входят операции по контролю за состоянием ходовых частей, тормозного и другого оборудования, обеспечивающего безопасность движения и предупреждению повреждений тепловозов в эксплуатации.
Периодичность технического обслуживания ТО-2 устанавливает начальник железной дороги (исходя из условий эксплуатации) в пределах 24... 28 ч независимо от выполненного пробега. Продолжительность технического обслуживания ТО-2 для грузовых двухсекционных тепловозов не более 1,5 ч, для пассажирских — не более 2 ч.
Техническое обслуживание ТО-3 выполняется в депо приписки тепловоза для предупреждения появления неисправностей, поддержания тепловозов в работоспособном состоянии, обеспечения их бесперебойной работы и безопасности движения. При этом виде технического обслуживания, кроме осмотров, предусмотренных ТО-2, выполняют некоторые ремонтные операции (смена фильтров, снятие форсунок для проверки на стенде, замена щеток электрических машин, очистка выпускных окон и т.д.).
Техническое обслуживание ТО-4 предназначено для обточки бандажей колесных пар без выкатки из-под локомотива для поддержания оптимального размера проката. Продолжительность технического обслуживания ТО-4 устанавливается начальником дороги с учетом местных условий из расчета 1... 1,2 ч на обточку одной колесной пары. Разрешается совмещать обточку колесных пар с техническим обслуживанием ТО-3 и текущими ремонтами ТР-1, ТР-2, увеличивая нормы простоя на них из расчета 1... 1,2 ч на обточку одной колесной пары.
Номера технических обслуживании связаны между собой такой особенностью: состав плановых работ при ТО с большим номером обязательно включает в себя работы, имеющиеся в регламенте на техническое обслуживание с меньшим номером, т. е. при ТО-2 выполняются работы ТО-1 и сверх того специфические операции; при ТО-3 выполняются объем ТО-2 и плюс свои операции. Эта особенность характерна для всех видов технического обслуживания и ремонта тепловозов, кроме ТО-4 и ТО-5. Так, при текущем ремонте ТР-1 выполняют ТО-3 с соответствующими дополнительными работами по этому виду ремонта, при ТР-2 делаются ТР-1 и плюс операции, необходимые при ТР-2, и т.д., при ТО-5 производят подготовку к ремонту и др.
Текущие ремонты. Системой технического обслуживания и ремонта предусмотрено выполнение в локомотивных депо текущих ремонтов ТР-1, ТР-2 и ТР-3. Под ремонтом понимается совокупность работ, направленных на восстановление основных эксплуатационных характеристик, исправности и работоспособности локомотивов в соответствующих межремонтных периодах путем ревизии, ремонта и замены отдельных деталей, сборочных единиц и агрегатов, регулировки и испытаний, а также частичной модернизации. Текущие ремонты ТР-1, ТР-2 и ТР-3 локомотивов выполняют комплексные и специализированные бригады.
Текущий ремонт ТР-1 производится в основном в условиях депо и заключается в осмотре, ревизии и очистке, а при необходимости и в ремонте сборочных единиц (колесные пары, рессорное подвешивание, тормозное оборудование); осмотре тяговых электродвигателей, вспомогательных машин и электроаппаратуры; проверке зазоров подшипников коленчатого вала дизеля, моторно-осевых подшипников тяговых электродвигателей; осмотре поршневых колец и втулок цилиндров дизеля; ревизии и очистке турбокомпрессоров со снятием их с локомотива, проведении реостатных испытаний и т.д.
Текущий ремонт ТР-2 предназначен в основном для ремонта дизеля и вспомогательного оборудования. Основным фактором, определяющим постановку тепловоза на ТР-2, является износ ци-линдропоршневой группы дизеля. При текущем ремонте ТР-2 дополнительно к ТР-1 производят ремонт шатунно-поршневой группы и втулок цилиндров, топливной аппаратуры, систем регулирования частоты вращения и мощности дизеля, редукторов, воздухо-нагнетателей, электропневматических приводов регулятора, контакторов, реверсора, вентилей; прожировку кожаных манжет аппаратов; лечебный заряд аккумуляторной батареи; ревизию якорных подшипников всех электрических машин (кроме тяговых электродвигателей); подбивку моторно-осевых подшипников; съемку и осмотр кожухов зубчатой передачи; промежуточную ревизию букс с проверкой разбегов колесных пар и ремонт вентиляторов ТЭД; ремонт тормозного компрессора, автотормозных приборов; полный осмотр автосцепки и фрикционных аппаратов. После выполнения ТР-2 проводятся полные реостатные испытания тепловоза.
Текущий ремонт ТР-3 предусматривает ремонт экипажной части и тяговых электрических машин; изнашивание их основных деталей определяет постановку тепловоза на этот вид ремонта. При текущем ремонте ТР-3 дополнительно к работам по ТР-2 ремонтируют антивибратор, предельный регулятор, водяной и масляный насосы, привод масляного насоса, воздуходувку и ее эластичный привод, вертикальную передачу, секции холодильника, редукторы, тяговые электродвигатели, двухмашинные агрегаты, электродвигатели калорифера, топливоподкачивающего и масло-
Таблица 2.1
|
Тип грузового |
Продолжительность технического обслуживания и текущего ремонта |
|||
|
тепловоза |
ТО, ч |
ТР-1, ч |
ТР-2, сут |
ТР-3, сут |
|
ТЭ10, М62 |
10 |
40 |
5 |
6 |
|
ТЭЗ |
8 |
36 |
4,5 |
4,5 |
|
2ТЭ116 |
16 |
56 |
8 |
10 |
Примечание. Для тепловозов, имеющих три и более секций, норма продолжительности технического обслуживания ТО-3 и текущего ремонта ТР-1 увеличивается на каждую (более двух) секцию на 4 и 8 ч соответственно.
прокачивающего насосов, аккумуляторные батареи и электрические аппараты. При этом ремонте производятся выкатка из-под тепловоза тележек с полной их разборкой, освидетельствование колесных пар с обточкой бандажей, ремонт рам тележек, букс, рессорного подвешивания, опор рамы тепловоза, кузовного оборудования, песочниц, тормозной рычажной передачи, автоматической локомотивной сигнализации, автостопов, скоростемеров и противопожарной установки.
После выполнения текущего ремонта ТР-3 тепловоз проходит полные реостатные и обкаточные испытания пробной поездкой.
Среднесетевые нормы продолжительности ТО и ТР тепловозов приведены в табл. 2.1.
Капитальные ремонты. Системой технического обслуживания и ремонта тепловозов предусмотрено выполнение капитальных ремонтов КР-1 и КР-2.
Капитальный ремонт КР-1 предназначен для восстановления эксплуатационных характеристик и ресурса (срока службы) тепловоза путем замены и ремонта изношенных и поврежденных агрегатов, сборочных единиц и деталей, а также путем модернизации.
В процессе капитального ремонта КР-2 восстанавливают эксплуатационные характеристики и полный ресурс (срок службы) всех агрегатов, сборочных единиц и деталей, включая базовые, полностью заменяют провода и кабели, а также выполняют модернизацию тепловоза.
Основной фактор постановки тепловоза на капитальный ремонт — износ шеек коленчатого вала дизеля и старение изоляции электрических машин, кабелей и электропроводки. Эти виды ремонта выполняются на тепловозоремонтных заводах и в крупных депо, имеющих соответствующее оборудование. Объем капитального ремонта таков, что для его выполнения требуется дорогостоящая оснастка. Такую оснастку нецелесообразно иметь в депо, поскольку даже в самых крупных депо годовая потребность в капи-

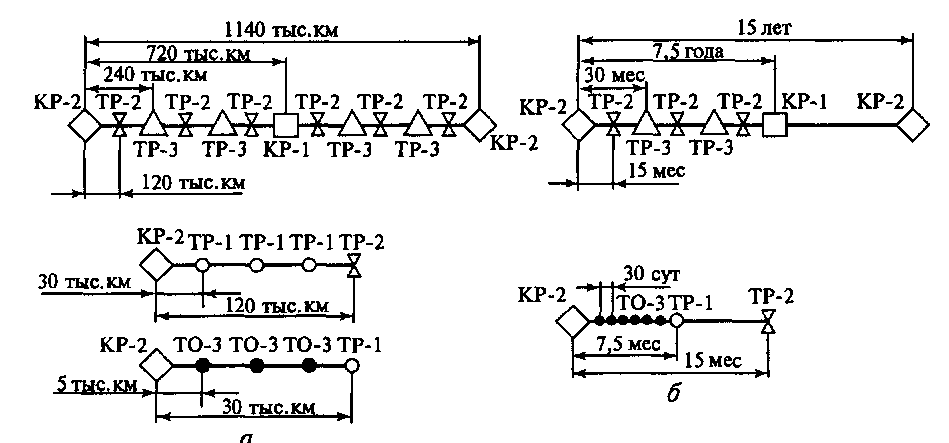
Рис. 2.2. Виды и периоды межремонтной работы тепловозов типа ТЭ10
(а) и ТЭМ (о-):
ТО-3 — техническое обслуживание; ТР-1...ТР-3 — текущие ремонты; КР-1, КР-2 — капитальные ремонты
тальных ремонтах возникает не более чем у нескольких десятков локомотивов. Даже если бы капитальные ремонты выполнялись в одном депо для целой дороги, то в среднем потребовалось бы отремонтировать не более сотни секции одной серии. При такой программе загрузка тяжелого ремонтного оборудования была бы слишком мала, чтобы окупиться даже за многие годы.
Виды и периоды межремонтной работы тепловозов типа ТЭ10 и ТЭМ представлены на рис. 2.2.
На основе среднесетевых норм межремонтных периодов (табл. 2.2), каждая дорога утверждает для своих депо дифференцированные нормы межремонтных периодов. Дифференцированные нормы межремонтных периодов рассчитываются с учетом показателя использования мощности тепловоза, который представляет собой расход топлива, отнесенный к 1 км пробега или 1 ч его работы. Дифференциация межремонтных периодов позволяет изменять объем обязательных работ при технических обслуживаниях и ремонтах в зависимости от загрузки тепловоза в период его эксплуатации.
Департаментом локомотивного хозяйства МПС в 2002 г. был утвержден капитальный ремонт с продлением срока службы локомотива (КРП).
Диагностика. В различных депо сети железных дорог внедряется новый метод контроля надежности тепловозов в эксплуатации — безразборная диагностика технического состояния локомотива. Диагностика позволяет уменьшить потери в эксплуатационной работе и снизить затраты на проверку технического состояния сборочных единиц и агрегатов. Техническое диагностирование — процесс определения технического состояния объекта.
Таблица 2.2
|
Максимальная продолжительность межремонтных периодов*, тыс. км/время |
||||||
|
Тип тепловоза |
Техническое обслуживание |
Текущий ремонт |
Капитальный ремонт |
|||
|
ТР-1 |
ТР-2 |
ТР-3 |
КР-1 |
КР-2 |
||
|
Магистральные |
||||||
|
ТЭП60 |
7,5/18 сут |
37,5/3 мес |
150/9 мес |
300/18мес |
900/4,5 года |
1800/9 лет |
|
М62 |
8/18 сут |
40/3 мес |
120/9 мес |
240/18 мес |
720/4,5 года |
1440/9 лет |
|
2ТЭ116, ТЭП70, 2ТЭ121** |
8/18 сут |
40/3 мес |
200/15 мес |
400/30 мес |
— |
— |
|
Маневровые |
||||||
|
ТЭМ1, ТЭМ2, ЧМЭЗ, ТЭМ7 |
30 сут |
7,5 мес |
15 мес |
30 мес |
7,5 года |
15 лет |
|
ТТМЗ, ТГМ7 |
10 сут |
2 мес |
8 мес |
16 мес |
5 лет |
10 лет |
* Учитывается только время нахождения в эксплуатируемом парке. ** Межремонтные периоды для тепловозов 2ТЭ116, ТЭП70, 2ТЭ121 корректируются по мере накопления опыта их эксплуатации.
Комплексное диагностирование тепловоза выполняется в нескольких депо сети. На примере комплексного диагностирования тепловозов в депо при выполнении технического обслуживания ТО-3 проиллюстрируем преимущества использования такого метода.
На первой ремонтной позиции поточной линии на основании осмотра тепловоза с учетом записей в журнале формы ТУ-152 и результатов анализа картерного масла оценивают состояние его сборочных единиц и агрегатов и составляют программу диагностических проверок, которую передают на последующие позиции. Кроме перечисленного на первой позиции отбирают пробы масла из различных агрегатов тепловоза.
На второй ремонтной позиции предусмотрены автоматический обмер колесных пар, диагностирование вращающихся вывешенных колесно-моторных блоков (якорные, буксовые и мотор-но-осевые подшипники, тяговый редуктор, щеточный аппарат), автоматический поиск возможных мест замыканий на корпус и
утечек тока в электрических цепях, контроль с регулировкой срабатывания электрических аппаратов, проверка пожарной сигнализации, диагностика контрольно-измерительных приборов, автоматической локомотивной сигнализации (АЛСН), радиосвязи. Результаты диагностирования и перечень необходимых работ передают на ЭВМ центрального поста диагностики.
На третьей позиции диагностируют состояние дизеля с применением реостатного или безреостатного метода (состояние и работу топливной аппаратуры, цилиндропоршневой группы, водяной и масляной систем и т.д.); системы автоматического регулирования температуры теплоносителей, проверяют параметры селективной и внешней характеристик дизель-генератора. На этой позиции предусмотрено обязательное выполнение осмотров и смазочных работ, установленных Правилами ремонта тепловозов.
На основании выполненных диагностических мероприятий составляют паспорт-заключение, где фиксируют принятые решения о необходимости дополнительных работ.
Методы ремонта. При крупноагрегатном методе ремонта на участках текущего ремонта бригады слесарей демонтируют агрегаты и сборочные единицы с тепловоза и передают их для ремонта на заготовительный участок, после чего выполняют монтаж на тепловозе отремонтированных или новых агрегатов и сборочных единиц. Кроме того, эта бригада ремонтирует и контролирует не снимаемое с тепловоза оборудование и смазывает его. Ремонт и испытания демонтированных агрегатов и сборочных единиц осуществляются в соответствующих отделениях заготовительного участка.
При организации ремонта поточным методом создаются так называемые позиционные бригады, закрепленные за ремонтными позициями поточной линии. При стационарном методе ремонта бригады могут специализироваться по ремонту определенных агрегатов и сборочных единиц тепловоза: дизеля, электрического оборудования, экипажной части, вспомогательного оборудования. Такая специализация слесарей позволяет повысить их профессиональные навыки и ответственность за качество выполненной работы. В некоторых депо имеются специализированные бригады агрегат-но-заготовительного участка, которые, кроме ремонта и испытаний сборочных единиц и деталей, на своем участке выполняют сборочно-разборочные работы на всех ремонтируемых тепловозах.
В депо имеются также отделения для ремонта контрольно-измерительных приборов и скоростемеров, аккумуляторных батарей, секций холодильников, автотормозного оборудования и пр. Для удовлетворения нужд заготовительного участка в депо имеются следующие отделения: механическое, кузнечное, термическое, сварочное, гальваническое, полимерное и др. К вспомогательным отделениям депо относятся инструментальное, по ремонту механического и энергетического оборудования, компрессорная станция и др.










