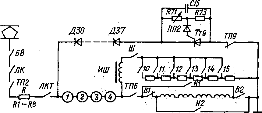
Силовая схема тяговых двигателей приведена на рис. 87. Она обеспечивает работу двигателей в режиме тяги и электрического торможения. К крышевому оборудованию относятся: токоприемник ПК, разрядники Ppl и Рр2, емкостной конденсаторный фильтр радиопомех ДрФ — Cl, пуско-тормозные резисторы RI— R9. Силовые контакторы ЛК, ЛКТ, Т, Ш и групповые переключатели — реверсор, реостатный контроллер, тормозной переключатель служат для необходимых переключений в силовой схеме. Они расположены в подвагонных ящиках с электрической аппаратурой. Там же находятся аппараты защиты силовых цепей: быстродействующий выключатель БВ и контактор защиты КЗ. Четыре тяговых двигателя постоянно соединены последовательно.
Защитные функции быстродействующего выключателя БВ дополнены дифференциальной защитой: геркопным дифференциальным реле и дифференцирующим трансформатором ГрД. Диоды ДЗО — Д37 вместе с тиристором Тт9 облегчают коммутационные условия при отключениях силовых контакторов в режиме тяги. Герконное реле напряжения Э6 — РН и реле максимального напряжения Э5 — РМН защищают силовую схему от пониженного и повышенного напряжения контактной сети. Цепь резисторов RIO — R15 подсоединяется контактором Ш параллельно обмоткам возбуждения двигателей и переводит их в режим ослабленного возбуждения, увеличивая число скоростных характеристик.
Датчики тока якорей ДТЯ, ДТЯ1 и тока возбуждения ДТВ подают в систему управления сигналы, пропорциональные силовому току. Контрольно-измерительная аппаратура выполняет свои обычные функции. Вольтметр V2 измеряет напряжение на тяговом двигателе, амперметр A3 в режиме тяги показывает ток якорей, а в режиме рекуперации — ток возбуждения, амперметр А2 измеряет ток шунтирующей цепи, А1 — общий ток в силовой цепи.
Тяговый режим. После приведения поезда в рабочее состояние (тормозная магистраль заряжена сжатым воздухом, восстановлена защита, включена локомотивная сигнализация) собирают силовую схему. Для этого необходимо, удерживая кнопку безопасности или педаль, развернув реверсивную рукоятку, установить главную рукоятку контроллера (или штурвал) в маневровое положение.
Таблица замыкания контурных элементов в моторном режиме и реостатном торможении.


Рис. 87.1 Схема принципиальная моторного вагона ЭД2Т

Рис. 87.2 Схема принципиальная моторного вагона ЭД2Т
При этом на всех моторных вагонах поезда реверсоры развернутся в нужное положение ("Вперед" или "Назад"), тормозные переключатели перейдут в положение режима тяги. Включаются линейные контакторы ЛК и ЛКТ, и создается замкнутая цепь через тяговые двигатели при полностью введенных пусковых резисторах Ш — Я8: контактная сеть, токоприемник, главные контакты БВ, линейный контактор ЛК, контакты тормозного переключателя ТП2, резисторы Ы1 —118, контактор ЛКТ, якори двигателей М1 — М4, датчики тока ДТЯ и ДТЯ1, контакты тормозного переключателя ТП6, контакты реверсора и обмотки возбуждения двигателей, шунты амперметров и счетчиков, заземляющие устройства на осях колесных пар, рельсы.
Поезд приходит в движение с минимальной скоростью, так как собран маневровый режим. В маневровом положении вал реостатного контроллера не вращается и находится в позиции 1. Поэтому все семнадцать силовых контакторов выключены. На рис. 88 приведена упрощенная силовая схема в режиме тяги.

Рис. 88. Упрощенная силовая схема в режиме тяги
Для увеличения скорости поезда следует постепенно выводить пусковые резисторы. Рукоятку контроллера переводят в положение 1. На моторных вагонах реостатные контроллеры начинают вращаться и выводить пусковые резисторы, надобность в которых отпадает в процессе разгона поезда и уменьшения тока якорей. В процессе вращения вал реостатного контроллера переходит с позиции 1 на позицию 14 (при первом положении штурвала), замыкая и размыкая свои силовые контакторы в соответствии с таблицей замыкания.

Рис. 89. Схема вывода пуско-тормозных резисторов (позиции реостатного контроллера 1 — 3)

Рис. 90. Схема выводов пуско-тормозных резисторов (позиции 4 — 6)

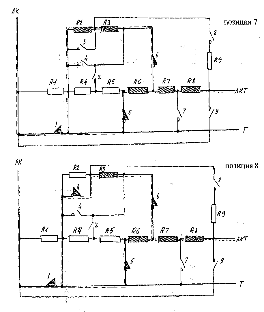
Рис. 91. Схема вывода пуско-тормозных резисторов (позиции 7, 8)

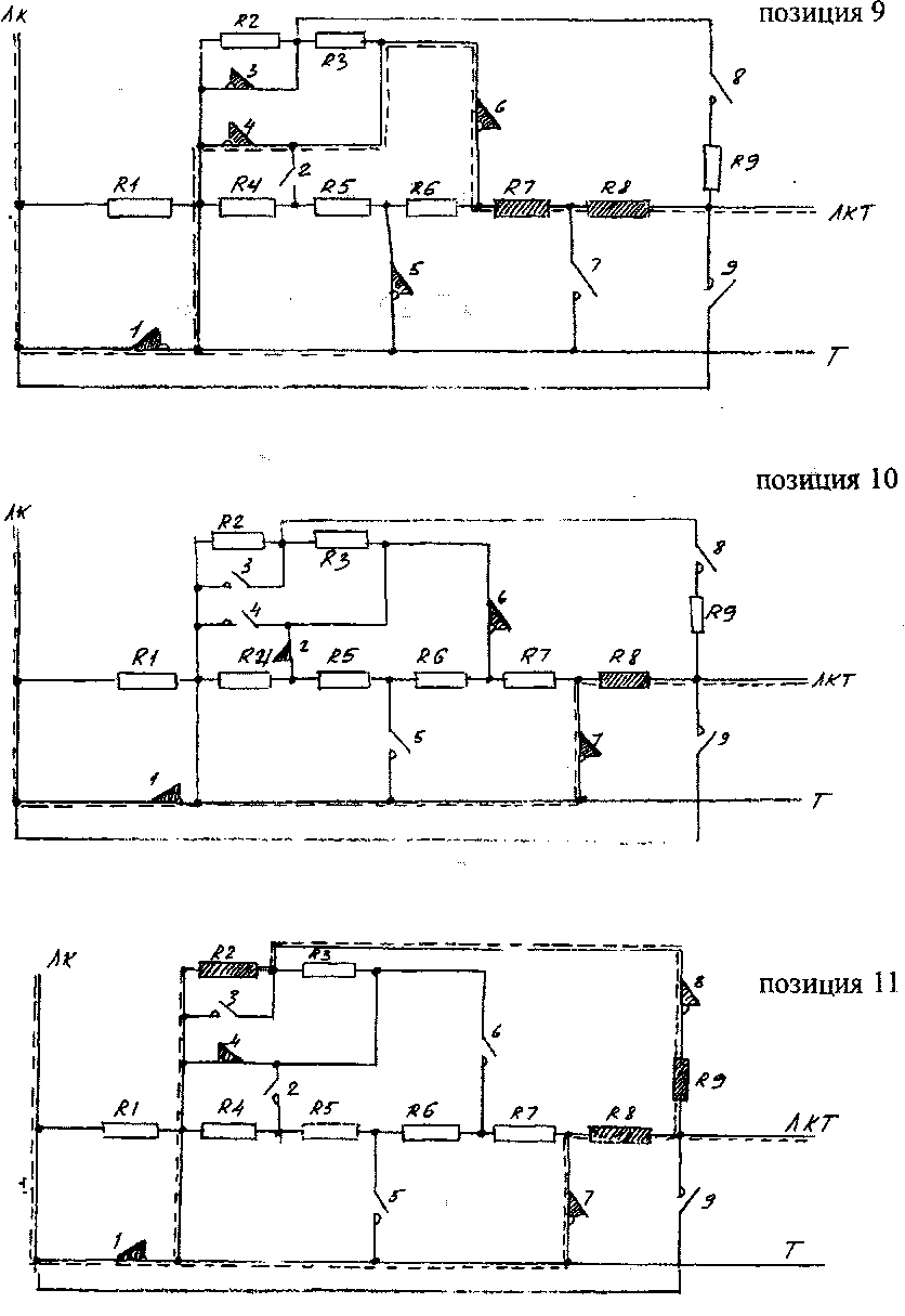
Рис. 92. Схема вывода пуско-тормозных резисторов (позиции 9 — 11)

Рис. 93. Схма вывода пуско-тормозных резисторов (позиции 12 — 14)
Вывод пусковых резисторов на каждой позиции подробно показан на рисунках 89 — 93, поскольку он вызывает некоторые трудности. Если на поездах старых выпусков традиционно на каждую ветвь сопротивления приходился свой контактор, который, замыкаясь, закорачивал ее, то на современных составах применена так называемая "верньерная схема", когда обходятся меньшим числом контакторов и добиваются более плавного пуска. При этом отдельные резисторы могут пересоединяться контакторами последовательно и параллельно. (Проследите по рисункам путь тока на каждой позиции. Обратите внимание на размыкание контакторов. Оно всегда происходит при обесточенной цепи, поэтому дугогасительных камер контакторные элементы реостатного контроллера не имеют).
Таким образом, если штурвал удерживается в 1-м положении, кулачковый вал реостатного контроллера РК под контролем реле ускорения (электронного блока БРУ) достигает позиции 14, где фиксируется. Пусковые резисторы полностью закорочены контактором 9, тяговые двигатели могут продолжительно работать на первой безреостатной характеристике при полном возбуждении.
Если потребуется увеличить скорость движения, то штурвал (или главную рукоятку) контроллера машиниста переводят в положение 2. При этом кулачковый вал РК под контролем реле поворачивается в 15-ю, а затем в 16-ю позицию, где останавливается. Одновременно включаются контакторы Ш и 10, а затем 11. Параллельно обмоткам возбуждения подключилась шунтирующая цепь (см. рис. 88, где дана упрощенная схема и рис.87) из резисторов RIO — R15.
До этого ток якорей полностью попадал на обмотки возбуждения (полное возбуждение), теперь его часть ответвляется от обмоток возбуждения в шунтирующую цепь. Получают так называемое "ослабленное возбуждение". Это приводит к значительному росту тока якорей, силы тяги и, следовательно, скорости поезда.
После перевода штурвала в положения 3, 4 происходит дальнейшее уменьшение сопротивления шунтирующей цепи и тока в обмотках возбуждения. Увеличивается глубина ослабления возбуждения, растет ток якорей и скорость поезда до максимальной. В положении штурвала 3 РК доходит до 18-й позиции, выводя резисторы R11 и R12, а в положении 4 — до последней 20-й позиции, выводя R13 и R14. Резистор R15 остается постоянно включен.
После сброса контроллера машиниста на ноль из положений 2, 3 и 4 контактор Ш отключается сразу, а контакторы ЛК и ЛКТ — с некоторой задержкой, т.е. перед разрывом силовой цепи линейными контакторами контакторШ увеличивает возбуждение тяговых двигателей до нормального.
Уменьшается ток якорей, снижаются коммутационные перенапряжения на коллекторах двигателей и облегчаются условия дугогашения в линейных контакторах ЛК и ЛКТ.
Погасить мощную электрическую дугу при отключении контакторов Ж и ЛКТ помогает контур из диодов Д30 — Д37. Поскольку обмотки возбуждения тяговых двигателей обладают очень большой индуктивностью, в момент отключения цепи за счет э.д.с. самоиндукции напряжение на резисторах делителя R71, R73 повышается до уровня, при котором открывается стабилитрон ПП2. Подается сигнал на управляющий вход тиристора Тт9, и он открывается. Теперь токам самоиндукции не нужно проходить через линейные контакторы (ток проходит всегда по кратчайшему пути) — теперь они будут замыкаться по следующему контуру: обмотки возбуждения (это и есть источники токов самоиндукции) — контакты тормозного переключателя Тп9, тиристор Тт9, диоды Д37 — Д30, якори двигателей — обмотки возбуждения.
После окончания переходного процесса, когда токи самоиндукции исчезли, тиристор закрывается и отключает ставший ненужным контур. Следовательно, контур из диодов Д30 — Д37 работает кратковременно, только в момент отключения тяги. В эксплуатации из-за пробоя диодов эту цепь иногда отключают, что сразу отрицательно сказывается на состоянии линейных контакторов.
Тормозной режим. Чтобы обеспечить тормозной режим работы тяговых двигателей, в силовой схеме имеется дополнительное оборудование:
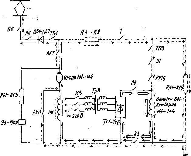
статический тиристорный преобразователь Тт1 — Ттб (рис. 87 и 94) (тиристорный мост) для питания обмоток тяговых двигателей в режиме электрического торможения. В данном случае они отсоединяются от якорей М1 — М4 и подключаются к тиристорному мосту Тт1 — Ттб;
контактор обмоток возбуждения ОВ, соединяющий тиристорный мост с обмотками;
трансформатор возбуждения ТрВ с контактором возбуждения КВ, питающие тиристорный мост от генератора управления переменным напряжением 220 В;
тормозной контактор Т, создающий, когда это требуется, тормозной реостатный контур тока якорей;
контактор защиты КЗ, выполняющий те же функции, что и быстродействующий выключатель в тяге.
Перечисленное дополнительное оборудование обеспечивает работу тяговых двигателей, ставших генераторами, в режиме рекуперативного или. замещающего его — реостатного — торможения с питанием обмоток возбуждения от независимого источника ток. Конечно, сам тиристорный
преобразователь не может быть источником тока, он преобразует напряжение генератора управления.
Торможение с независимым возбуждением действует на поезде от максимальной скорости до скоростей 50 — 45 км/ч. Далее оно становится неэффективным, и схема плавно переходит в режим самовозбуждения, когда обмотки начинают запитываться от своих же якорей. Этот режим продолжается до скоростей 15 — 10 км/ч, затем автоматически включается колодочный тормоз (малой ступенью ЭПТ) и фиксирует остановку поезда.
В начале торможения (после установки контроллера машиниста в положение ЗТ) силовая схема собирается в такой последовательности. Переключатель ТП находится в тормозном положении — это его нормальное состояние (в положение тяги он разворачивается только после постановки контроллера в положения М, 1,2, 3, 4, а при сбросе на нуль автоматически возвращается в тормозное положение). Включаются контакторы ОВ, КВ, ЛК, ЛКТ и Ш.
Контактор КВ подает трехфазовое напряжение через трансформатор ТрВ на тиристорный мост и в систему автоматического управления (на блок САУТ). Тиристорный мост выпрямляет переменный ток и, получая сигналы управления от блока САУТ, плавно повышает ток на обмотках возбуждения от 0 до 250 А. Контактор ОВ соединяет мост с обмотками. Управляющие импульсы подаются на тиристоры Тт1 —Ттб по проводам 501 —506. Ток в обмотках возбуждения возрастает и, как следствие, увеличивается э.д.с. якорей Ml — М4. Когда суммарное напряжение на якорях превысит напряжение контактной сети, ток рекуперации начинает поступать в сеть по цепи: рельсы, заземления на осях колесных пар, главные контакты быстродействующего контактора защиты КЗ, индуктивный шунт ИШ, датчики тока ДТЯ, якори двигателей М4 — М1, контактор ЛКТ, контакты тормозного переключателя ТП1, силовые диоды Д57 — Д54, линейный контактор ЛК, контакты БВ, токоприемник, контактная сеть.
Укажем контур независимого возбуждения обмоток: плюсовой вывод тиристорного моста Тт1 — Ттб, контактор ОВ, обмотки возбуждения и контакты реверсора, контактор защиты КЗ, датчик тока возбуждения ДТВ, минусовый вывод моста Тт1 — Ттб.
Электропоезд стал отдавать электрическую энергию в сеть. Когда тяговые машины работали в режиме двигателя, они потребляли энергию из сети и создавали вращающий момент. Теперь они переведены в режим генератора и их вращающий момент превратился в тормозной.
Частота вращения снижается. Одновременно уменьшается и напряжение, вырабатываемое генераторами, а значит и ток рекуперации.
Со снижением тока будет уменьшаться тормозной эффект, тормоза начнут "отпускать". Чтобы подобного не произошло, блок САУТ одновременно со снижением скорости электропоезда плавно увеличивает ток в обмотках возбуждения, воздействуя на тиристоры Тт1 — Ттб.
Таким образом, несмотря на уменьшение скорости электропоезда, тормозной ток якорей поддерживается на строго определенном уровне (тормоза "не отпускают"). Тормозной эффект и ток якорей зависят от положения рукоятки контроллера машиниста: в положении ЗТ — 350 А, в положении 2Т— 250 А, в положении 1Т — 100 А.
Скорость поезда продолжает снижаться, а ток возбуждения приближается к своему максимуму (250 А) и достигает его при скорости 50 — 45 км/ч. Дальнейшее торможение электропоезда, когда обмотки запитываются от независимого источника, становится неэффективным, потому что скорость все-таки мала. Силовая схема без заметных колебаний тока переходит в режим самовозбуждения (рис. 94), где ток рекуперации показан сплошными стрелками, а ток реостатного контура — пунктирными).
Включается контактор Т, создавая реостатное торможение: якоря М4 — М1, контактор ЛКТ, пуско-тормозные резисторы R8 — R4, контактор Т, контакт тормозного переключателя ТПЗ, контактор Ш, контактор реостатного контроллера 16, тормозного переключателя ТП5, контакты реверсора и обмотки возбуждения, контактор защиты КЗ, контакты ТП7, контактор РК17, закорачивающий индуктивный шунт, датчики тока, якоря М4 — М1. Теперь параллельно обмоткам возбуждения подсоединены резисторы шунтирующей цепи R24, RI 1 — R15 (см. силовую схему).
В контактную сеть ток больше поступать не может, поскольку напряжение на якорях стало меньше, чем в сети, диоды Д57 — Д54 закрылись. Но и в это режиме по мере снижения скорости тормозной ток генераторов (тяговых двигателей) будет снижаться. Как же поддержать его в этом случае? Вместо блока САУТ вступает в работу блок реле ускорения БРУ. Он заставляет вращаться реостатный контроллер РК, который, как и в тяге, выводит ступени пуско-тормозных резисторов из цепи якорей. Он также не позволяет тормозному току снижаться менее заданного уровня.
Само переключение схемы в режим самовозбуждения производится также реостатным контроллером. Пока шло независимое возбуждение, РК находился в позиции 1. Для перехода на самовозбуждение его вал поворачивается на позицию 2 и своим контактором 16 в обход разомкнутого ТП6 соединяет якори с обмотками. При дальнейшем вращении реостатный
контроллер выключает (см. схему управления) контакторы ЛК, ОВ и КВ, разбирает цепь рекуперации и ставший ненужным контур независимого возбуждения. Блок САУТ также исключается из работы реостатным контроллером.

Рис. 94. Упрощенная схема прямого входа в рекуперацию:
<—_ ток рекуперации;
<--ток реостатного контура;
<Д | ток независимого возбуждения
В режиме торможения РК доходит до позиции 11 и останавливается. Это соответствует скорости поезда 10 — 12 км/ч. В тормозные цилиндры подается сжатый воздух малой ступенью для остановки поезда.
Таким образом, от максимальной скорости до полной остановки протекают три фазы торможения: рекуперативное — до скорости 45 -— 50 км/ч, реостатное с самовозбуждением — до скорости 10 — 15 км/ч и торможение малой ступенью ЭПТ, так как электрический тормоз уже неэффективен. Торможение закончено, штурвал контроллера устанавливают в нулевое положение. Автоматически выпускается воздух из тормозных цилиндров, реостатные контроллеры возвращаются в исходную (первую) позицию. Схема готова к последующему пуску.
Если торможение отключают ранее полной остановки, то тормозная схема начинает разбираться с размыкания контактора Ш. Так, при отключении тормоза на большой скорости и независимом возбуждении обесточиваются контактор Ш, его повторитель ПШ. Соответствующий сигнал подается на блок САУТ. Блок исключается из работы и снимает возбуждение с обмоток М1 — М4. При этом уменьшается ток якорей, и с выдержкой времени отключаются контакторы ЛК и ЛКТ.
В случае прекращения торможения иа малых скоростях при самовозбуждении вначале также отключается контактор Ш и вводит в цепь якорей резистор Я25. Это снижает ток якорей и облегчает дугогашение при отключении контакторов Т и ЛКТ.
Направление вращения якорей изменяется замыканием контактов реверсора. Так, при движении "Вперед" замкнуты силовые контакты В1 и В2, а Н1 и Н2 разомкнуты, при движении "Назад" замыкаются Н1 и Н2, а В1 и В2 размыкаются. Меняется направление тока в обмотках возбуждения, направление магнитных потоков и вращающих моментов двигателей. В тормозных режимах обмотки не реверсируют, реверсор остается в прежнем положении. Напомним азбучную истину: если при движении поезда моторные вагоны 02,04,06 везут "вперед", то вагоны 08 и 10 везут "назад" и наоборот.
На практике часто надо определить, в каком положении находится групповой переключатель, у реверсора это легко определяется по положению силовых контактов. У тормозного переключателя также по его контакторам: в положении тяги замкнуты все четные контакты и ТП9, в тормозном положении — только нечетные контакты.
Реле напряжения Э6-РН защищает схему не столько от пониженного напряжения, сколько от резких бросков тока на двигателях при восстановлении напряжения в контактной сети. После снятия напряжения или его снижения ниже 1700 В реле выключается и разбирает силовую схему. Полностью вводятся пусковые резисторы, теперь восстановление напряжения сети не будет опасным для двигателей.
В начальный момент рекуперации напряжение в контактной сети может достичь более 4000 В. В этом случае сработает реле максимального напряжения Э5-РМН и включит тормозной контактор Т (см. рис. 94). Одновременно с рекуперацией будет действовать параллельная цепь, которую подключает контактор Т к резисторам Ы4 — Ы8 и Я11 —1115. На блок САУТ в схемы управления подается соответствующий сигнал, исключающий дальнейшее нарастание напряжения на якорях. Напряжение в контактной сети должно понизиться.
Защита силовой цепи. От атмосферных перенапряжений и разрядов схему защищают два разрядника Рр1 и Рр2. Первый присоединен к раме токоприемника, второй установлен за фильтром С1 — ДрФ. Второй разрядник срабатывает при очень мощных грозовых разрядах Г-образный фильтр (дроссель ДрФ -— конденсатор С1) препятствует излучению радиопомех, которые возникают при работе электросекции.
От коротких замыканий и перегрузок в режиме тяги тяговых двигателей защищает быстродействующий выключатель БВ. Если ток двигателей превысит уставку аппарата (600 А), то главные контакты БВ разомкнут цепь. Во всех тормозных режимах силовые цепи защищены быстродействующим контактором КЗ. Оба защитных аппарата (БВ и КЗ) взаимосвязаны, ими управляет блок защиты БЗ: при воздействии на него аппараты включаются одновременно и, как правило, одновременно срабатывают, если на блок защиты поступает аварийный сигнал с датчиков тока или с другой аппаратуры.
Кроме того, в режимах тяги и рекуперации оба аппарата дополнены дифференциальной защитой. Токи в начале и конце силовой цепи контролируют дифференциальное реле ДР и дифференцирующий, трансформатор ТрД, что значительно повышает чувствительность срабатывания БВ и КЗ, например, при неполном коротком замыкании.
Две первичные обмотки дифференцирующего трансформатора ТрД реагируют на разность скоростей изменения токов в начале и конце цепи. С его вторичной обмотки по проводам 647,648 подается аварийный сигнал на блок защиты, который моментально отключает БВ и КЗ. Но если аварийный процесс (переброс, пробой изоляции) протекает относительно медленно, трансформатор может не сработать, и оборудование останется без защиты. В этом случае должно вступить в действие дифференциальное реле ДР, контролирующее разность токов начала и конца цепи (при любом пробое эта разность неизбежна). Срабатывание ДР прерывает питание блока защиты, что тоже приведет к отключению КЗ и БВ.
Параллельно главным контактором КЗ подсоединены защитный резистор И25, уменьшающий перенапряжения при отключении контактора.
Индуктивный шунт ИШ в режиме тяги способствует правильному распределению токов между обмотками возбуждения и шунтирующей цепью ЯП — Я15. Тем самым он защищает якори от опасных бросков тока при переходных процессах, например, при кратковременном отрыве токоприемника от контактного провода. В тормозных режимах индуктивный шунт вводится в цепь якорей (при независимом возбуждении). В случае короткого замыкания он значительно замедляет нарастание тока короткого замыкания.

Тиристорный мост Тт1 — Ттб в аварийных ситуациях защищает тиристор Тт7. После срабатывания КЗ повысившееся напряжение на резисторах R30, R31 открывает стабилитрон ПП1 и защитный тиристор Тт7. Это приведет к закорачиванию моста и снятию возбуждения.
Для защиты тяговых двигателей от боксования или юза служат три устройства Э1, Э2 и ЭЗ (герконные реле). Они сравнивают напряжения на коллекторах соседних двигателей Ml — М2, М2 — МЗ, МЗ — М4, которые при боксовании или юзе будут различаться. Устройства действуют двумя ступенями: в начале боксования срабатывает первая ступень — катушка РБ1, которая воздействует на блок БРУ и, снижая его уставку, останавливает вращение реостатного контроллера, при этом о боксовании в кабину подается сигнал. Если двигатель доведен до разносного боксования, то срабатывает вторая ступень — катушка РРБ1 устройств Э1 — ЭЗ. РРБ1 блокировкой своего повторителя обесточивает катушку линейного контактора и отключает тягу. Аналогично разбирается и тормозная схема после выключения контактора Т.
Стабилитроны ПП1 — ПП.8 в устройствах Э1 — ЭЗ предназначены для повышения коэффициента возврата реле РБ1. Напомним, что коэффициент возврата — это отношение тока включения реле к току выключения. Стабилитрон ПП10 ограничивает наибольшее напряжение на катушке РБ1 (герконного реле). Выпрямительный мост ПП9 в устройствах Э1 — ЭЗ служит для того, чтобы к стабилитронам ПП1 — ПП8 и к стабилитрону ПП10 прикладывалось напряжение только определенной полярности. Дело в том, что полярность выводов 00 и 02 может изменяться в зависимости от того, какой двигатель забоксовал, для катушек герконных реле РБ 1 и РРБ1 такая переполюсовка безразлична. Однако через стабилитроны ток может проходить только в одном направлении, для этого и требуется выпрямитель ПП9.
Высоковольтные вспомогательные цепи. Упрощенная схема вспомогательных цепей высокого напряжения приведена на рис. 95. Система отопления пассажирских помещений всех вагонов одинакова. Она состоит из калориферов ЭК1 и ЭК2, включаемых контактором KOI, и электропечей ЭП1, включаемых контактором КОЗ. Дифференциальное реле РД1 и РД2 обесточивают электрокалориферы и электропечи при нарушении изоляции в цепях отопления. Рассмотрим более подробно схемы отдельных вагонов.
Цепи моторного вагона.
Кроме цепей отопления они содержат следующее оборудование: предохранитель Пр1, защищающий цепи отопления, счетчики и реле напряжения;
предохранители Прб и Пр7, соединенные параллельно (на поездах ЭР2Т предохранитель Пр2), защищающие высоковольтные межвагонные соединения и цепи подачи высокого напряжения на прицепные вагоны;
реле напряжения Э6-РН, которые контролирует минимальный уровень напряжения в контактной сети;
счетчик №Ы с добавочным резистором R27, фиксирующий общее потребление энергии данной секции;
счетчик \¥гі2 с добавочным резистором R29, крнтролирующий энергию рекуперации. В тяге его шунтируют контакты тормозного переключателя ТП12;
вольтметр У2 с добавочным резистором R26, измеряющий напряжение на коллекторах двигателей, служит для настройки системы САУТ (по амперметрам А2 и АЗ также настраивается система торможения);
розетки соединений Ш1 и Ш2 для питания высоковольтных вспомогательных цепей прицепного (головного) вагона.
Цепи прицепного вагона. Они включают в себя:
двигатель преобразователя АМ, его коммутационную н защитігую аппаратуру, синхронный генератор цепей управления;
пусковые контакторы преобразователя КП и ПКП;
дополнительный электромагнитный контактор КВД, подающий высокое напряжение на розетки Щ25 и Ш26, расположенные на противоположном торце вагона. Эти розетки требуются при включении в состав дополнительного прицепного вагона;
предохранители Пр1 и Пр2 (аналогично предохранителям моторного вагона защищает цепи отопления и преобразователя).
|
|